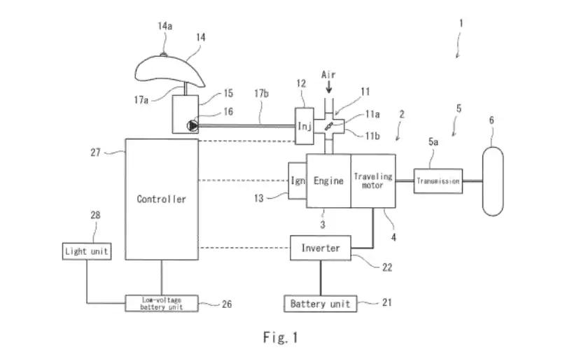
בקוואסאקי עושים צעד נוסף ומשמעותי בהטמעת טכנולוגיות חשמליות בכלים סדרתיים ומציגים לשוק האירופאי את הנינג'ה 7 – אופנוע היברידי הכולל מנוע בעירה פנימית חדש בנפח 451 סמ"ק הכולל תמסורת אוטומטית, וכן מנוע חשמלי נוסף. צפוי להגיע לשווקים האירופאים כבר בתחילת 2024.
אחרי שבחודש שעבר הציגו בקוואסאקי צמד גרסאות חשמליות לנינג'ה ול-Z הקטנים – הנינג'ה e-1 וה-Z e-1 – מציגים כעת בקוואסאקי התקדמות נוספת בתחום הטכנולוגיה החשמלית בכלים סדרתיים – הנינג'ה 7 היברידי. זהו אופנוע חדש לחלוטין עם צמד מנועים – בעירה פנימית המשמש כמנוע ראשי וחשמלי המשמש כמנוע משני. מעבר לקונספט החדשני יש פה גם תיבת הילוכים אוטומטית בעלת 6 מהירויות, לראשונה מקוואסאקי, כשגם פה מדובר על קפיצת מדרגה משמעותית.

מנוע הבעירה הפנימית חדש לחלוטין – טווין מקבילי עם זווית של 180 מעלות בין פיני הארכובה, בנפח 451 סמ"ק, מקורר נוזל, עם 8 שסתומים וצמד גלי-זיזים, ובעל הזרקת דלק ומצערות חשמליות בקוטר 36 מ"מ. מנוע הבעירה הפנימית מספק נתונים נאים של 59 כ"ס ב-10,500 סל"ד ו-4.4 קג"מ ב-7,500 סל"ד, והוא בעל טכנולוגיות מתקדמות כמו ציפוי לצילינדרים כמו זה של ה-ZX-6R וה-ZX-10R, סעפות יניקה בתצורה ישרה (דאון-דראפט), וסעפות יניקה באורכים שונים.
המנוע החשמלי ממוקם בחלקו האחורי של מנוע הבעירה, והוא מספק 9.5 כ"ס ב-2,800 סל"ד ו-2.4 קג"מ באותו הסל"ד (הספק מקסימלי 12 כ"ס ומומנט מקסימלי 3.7 קג"מ). כך יוצא שההספק המקסימלי של יחידת הכוח כולה (מנוע הבעירה והמנוע החשמלי יחד) עומד על 69 כ"ס ב-10,500 סל"ד, והמומנט המקסימלי 6.2 קג"מ ב-2,800 סל"ד – כלומר יחידת הנעה חזקה וגמישה באופן מרשים. למנוע החשמלי מערכת קירור נוזל משל עצמו, עם רדיאטור נפרד.
הסוללה, במשקל 13 ק"ג, יושבת מתחת ליחידת המושב – קרוב למרכז הכובד של האופנוע. זוהי סוללת ליתיום-יון במתח של 48V ובקיבול נומינלי של 27.2Ah. הטעינה מתבצעת תוך כדי רכיבה על-ידי מנוע הבעירה, ויש גם טעינה רגרנטיבית שמתבצעת בבלימה על-ידי יחידת המתנע החשמלי – שהוא גם הגנרטור שמייצר חשמל. על-ידי השילוב הזה ניתן גם ליישם מערכת Stop & Go של דימום מנוע הבעירה בעמידה והתנעה מחודשת עם פתיחת מצערת.

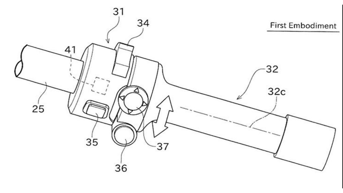
חידוש חשוב ביותר בנינג'ה 7 הוא תיבת הילוכים אוטומטית. זוהי תיבה בת 6 מהירויות עם קלאץ' המופעל על-ידי מערכת הידראולית, אולם התפעול כולו – גם של הקלאץ' וגם של העברת ההילוכים – הוא אלקטרוני, על-ידי מנועים חשמליים לתיבה וסולונואיד שפותח מעבר לחץ שמן לקלאץ'. בקוואסאקי לא מספקים פרטים טכניים על המערכת ועל מנגנון התפעול, אולם זו לא מערכת כפולת מצמדים בדומה ל-DTC של הונדה, אלא תיבה קונבנציונלית שבה התפעול הוא חשמלי-אלקטרוני, מה שאומר שאין ידית קלאץ' ורגלית הילוכים, אלא כפתורים להעלאה והורדת הילוכים על בית המתגים השמאלי.במצב ידני (MT) הרוכב מעביר את ההילוכים על-ידי לחיצה על כפתורי העברת ההילוכים. במצב אוטומט (AT) המערכת מחליפה הילוכים בעצמה לפי מצב ניהול המנוע ומצב המצערת.
יחידת ניהול המנוע מציעה שלושה מצבים: ספורט-היברידי, אקו-היברידי, וחשמלי בלבד למרחקים קצרים. במצב ספורט המנוע מספק את מלוא הכוח, לא כבה בעצירות, התיבה על מצב MT, ויש את האופציה לבוסט כוח חשמלי של עד 5 שניות לצורך תאוצה חזקה. במצב אקו המנוע החשמלי מתחיל את התאוצה ומנוע הבעירה מצטרף אליו ב-2,000 סל"ד, בעצירה מנוע הבעירה כבה, והרוכב יכול לבחור בין תיבה ידנית לאוטומטית. במצב החשמלי, המיועד למרחקים קצרים בתוך העיר, רק המנוע החשמלי עובד, ותיבת ההילוכים על מצב אוטומטי בין הילוכים 1 ל-4 בלבד. יש גם מצב 'הליכה', שבו ניתן לגלגל את האופנוע קדימה או אחורנית בעזרת המנוע החשמלי, במהירות נמוכה, לצורך כניסה ויציאה מחניה למשל.

לנינג'ה 7 שלדת פלדה עם מסבך משולשים בחלקה הקדמי, כשיחידת המנוע משמשת כגורם נושא עומס – כמו כמעט כל אופנוע מודרני. מלפנים מותקן מזלג קונבנציונלי בקוטר 41 מ"מ עם מהלך של 120 מ"מ, נטול כיוונים, ומאחור בולם יחיד עם כיוון עומס קפיץ, בעל מהלך גלגל של 114 מ"מ. הבלמים הקדמיים כוללים צמד דיסקים בקוטר 300 מ"מעם קליפרים צפים כפולי בוכנות, ומאחור דיסק בודד בקוטר 220 מ"מ, עם מערכת ABS כמובן. החישוקים יצוקים, בקוטר "14, והצמיגים במידות 120/70 מלפנים ו-160/60 מאחור.
הארגונומיה דומה לזו של הנינג'ה 400, כלומר ספורטיבית לכביש הציבורי. גובה המושב עומד על 795 מ"מ, והתנוחה לא ספורטיבית מדי עם קליפ-אונים שממוקמים גבוה יחסית. בנוסף, בקוואסאקי הקפידו על ממד רוחב צר יחסית, כולל באזור מיכל הדלק בן 14 הליטרים. המשקל המלא עומד על 227 ק"ג – לא מעט.
העיצוב בקורלציה מלאה לדגמים הספורטיביים של קוואסאקי, ובעיקר לנינג'ה H2. יש מסך TFT בגודל "4.3 המתממשק לטלפון הנייד, ויש מערכת פנסי LED היקפית.
הנינג'ה 7 המעניין צפוי להגיע לאירופה, ובכלל זה לישראל, בתחילת שנת 2024. המחיר טרם נקבע, אולם הוא צפוי להיות אופנוע יקר יחסית לנפח ולסגמנט. נעדכן כמובן.













