תגית: ב.מ.וו R1200GS

  • נוסטלגיה: ב.מ.וו HP2 מגהמוטו

    נוסטלגיה: ב.מ.וו HP2 מגהמוטו

    אז מה היה לנו? 1. חטיבת ביצועים חדשה של ב.מ.וו; 2. אופנוע אנדורו מוזר-מגניב שהוצג בשנת 2005; 3. אופנוע היפרמוטורד מוזר-מגניב שהוצג בשנת 2007; 4. אופנוע כביש ביצועיסט ומגניב עם מנוע הבוקסר החזק ביותר לתקופתו שהוצג בשנת 2008.

    ראשי התיבות HP ייצגו את מחלקת ה-'High Performance' – ביצועים גבוהים, ו-2 ייצג את שני הצילינדרים של מנוע הבוקסר. במשפחת ה-HP היו שלושה דגמים: האנדורו, עליו כתבנו בעבר ושהוצג בשנת 2005, ה-HP2 מגהמוטו שהיה מעין היפרמוטארד מגניב ועליו נתעכב היום, וה-HP2 ספורט שהיה פסגת הטכנולוגיה והאלקטרוניקה של הבווארים בתקופתו. בב.מ.וו בחרו באקסצנטריות מתוך כוונה להקים מעין חטיבת M (חטיבת הביצועים של רכבי ב.מ.וו) ולייצר דגמים במהדורות מוגבלות, מה שהמשיך עם ה-HP4 וכיום גם עבר לדגמי ה-M ולרמות גימור M.

    הב.מ.וו HP2 מגהמוטו היחיד בישראל
    הב.מ.וו HP2 מגהמוטו היחיד בישראל

    מבין שלושת הדגמים, המגהמוטו היה הנדיר ביותר והפחות מבוקש, אבל זה לא אומר שהוא היה פחות טוב מהם. הגישה הייתה להציע אופנוע סופרמוטו-כביש גדול, כלומר היפרמוטו עם צמיגים דביקים שנועד לספק חוויה בכביש המפותל ולאו דווקא במגרש החנייה. כמו בגרסת האנדורו, המנוע הגיע מה-R1200GS שהוצג שנתיים לפני כן. מדובר על מנוע בוקסר מקורר אוויר ושמן בנפח 1,170 סמ"ק (קירור הנוזל הופיע בדגם של שנת 2013). ההספק כאן היה גבוה יותר מאשר ה-GS ועמד על 113 כוחות סוס ב-7,000 סל"ד, עם נתון מומנט דומה של 10.3 קג"מ ב-5,500 סל"ד. גרסת הספורט שתוצג בהמשך כבר תשדרג לגמרי את המנוע ותעלה ל-133 כ"ס. המגהמוטו הגיע עם מפלט אקרפוביץ' כפול קנה כסטנדרט, שהכניס את כולם לאווירה הנכונה. ההינע הסופי התבצע על-ידי גל-הינע.

    בקצה הקדמי של שלדת הצינורות הורכב מזלג קדמי הפוך של מרזוקי בקוטר 45 מ"מ עם אוהלינס מאחור. כיוונונים מלאים כמובן. שניהם החזיקו חישוקי 17″ עם צמיגים במידות 120/70 ו-180/55. הבלמים היו עם צמד דיסקים מכובדים מלפנים בקוטר 320 מ"מ וקליפרים בעלי 4 בוכנות ועוד יחיד מאחור בקוטר 265 מ"מ. ולא, לא היה ABS אז. גובה המושב עמד על 890 מ"מ (עם שתי אופציות להגבהה או הנמכה) והמשקל המלא על 199 ק"ג, שמתוכם נספרו 13 ליטרים של דלק.

    הוא היה יקר, הוא היה נדיר, הוא היה מגניב והוא נועד להראות שב.מ.וו יכולים לייצר גם אופנועים נחשקים ומיוחדים ולא רק קרים ורציונאליים. ב.מ.וו ייצרו אותו במשך כמעט 3 שנים, לא רבים רכשו אותו, והוא גם לא נועד להיות רב-מכר. אם הדלקנו אתכם, אז אחד שמור משנתון 2008 יימכר באירופה או בארצות הברית במחיר שהוא פי 3 ויותר מאשר סתם נגיד R1200GS מאותו שנתון, וזה אם תצליחו למצוא בכלל. אחד כזה נמצא בארץ, כולל מערכת ABS, ואם שאלתם אז הבעלים שלו – שמחזיק בו כבר יותר מ-15 שנים – לא מתכוון למכור.

    BMW HP2 Megamoto Israel 2

    BMW HP2 Megamoto Israel 3

  • טכני: מנוע הבוקסר של ב.מ.וו

    טכני: מנוע הבוקסר של ב.מ.וו

    לק.ט.מ ולהארלי דיווידסון יש V2, לטריומף יש טריפל בשורה ולדוקאטי יש V4; ב.מ.וו הם היחידים שממשיכים להציע את תצורת מנוע הבוקסר ולדבוק בו; למה בעצם?

    לאחר שנים של ייצור מנועים למטוסים, ההיסטוריה הדו-גלגלית של ב.מ.וו התחילה בשנת 1921 עם ייצור מנועים ליצרנים אחרים, כאשר שנתיים לאחר מכן – לפני 100 שנים – הציגו בב.מ.וו את ה-R 32 עם מנוע בנפח צנוע של 494 סמ"ק שהפיק 8.5 כ"ס ומהירות מרבית של 95 קמ"ש. אבל מה שחשוב ורלוונטי לכאן הוא ששני הצילינדרים שכבו האחד מול השני ויצרו את מנוע הבוקסר הדו-גלגלי הראשון של ב.מ.וו. כן, זה שבגלגולו העדכני – 100 שנים אחרי – מגיע בתוך ה-R 1300 GS החדש.

    ה-R 32 המקורי מ-1923, לצד ה-R 18 בגרסת 100 שנים
    ה-R 32 המקורי מ-1923, לצד ה-R 18 בגרסת 100 שנים

    ועד שהוא הגיע לכאן – כלומר לסגמנט האדוונצ'ר הגדול – הוא השתפשף יפה מאוד בתחום ב-43 שנים האחרונות. ל-R 80 G/S היה מנוע בתצורת בוקסר שטוח בנפח 797.5 סמ"ק ומקורר אוויר. בשנת 1987 הוא הוחלף ל-R 100 GS בנפח 980 סמ"ק, ואז בשנת 1994 ל-R 1100 GS הגדול יותר שהותאם הרבה יותר לכיוון הכביש והציג 4 שסתומים לעומת 2 עד כה (מנוע שהגיע מה-R 1100 RS). העלייה הקבועה של 50 סמ"ק בנפח המשיכה (לצד הטכנולוגיה והאלקטרוניקה כמובן), כאשר בשנת 1999 הנפח עלה ל-1,150 סמ"ק, וב-2004 ל-1,200 סמ"ק. בשנת 2013 התווסף קירור נוזל מודרני הרבה יותר למנוע חדש שסימן גם דור חדש – אם כי הנפח נשמר על 1,170 סמ"ק. בשנת 2019 הוצג הסוס הפורש, בנפח 1,250 סמ"ק, שקיבל גם מערכת תזמון שסתומים משתנה (ShiftCam) למנוע הבוקסר, אשר שיפר את המילוי הנפחי על כל פני טווח הסל"ד ואת זמינות הכוח והמומנט.

    אז 43 שנים של אבולוציית ה-GS-ים, ומה כשהמאפיין העיקרי של כולם הוא סימן ההיכר הבולט: ראשי הצילינדרים הבולטים משני צידי המנוע והאופנוע. לא רק הם במשפחה, כי אם גם ה-R הנייקד-רודסטר, ה-RT התיורי, ה-RS התיור-ספורטיבי וה-S הספורטיבי. כמובן שנזכיר כאן את מנוע הבוקסר הגדול ביותר של ב.מ.וו (בניגוד לחזק ביותר, שמגיע כיום ב-R 1300 GS החדש), בנפח 1,802 סמ"ק, שנמצא ב-R18, שם ה-'Big Boxer', כפי שקוראים לו בב.מ.וו, שוקל כמו אופנוע אנדורו ומציב את המאזניים על 110.8 ק"ג.

    מנוע הבוקסר של ב.מ.וו
    מנוע הבוקסר של ב.מ.וו

    נלך עוד קצת אחורנית, לפני שב.מ.וו רכשו את הפטנט. בשנת 1896 הוצג מנוע ה'קונטרה' על-ידי קארל בנץ (ההוא ממרצדס-בנץ), אחד מהנדס מוכשר. הרעיון היה למקם הבוכנות בצורה מפולסת ושטוחה כך שינועו זו מול זו בתיאום. השם 'בוקסר' אומץ בשל צורת התנועה של הבוכנות, שנראות כמו תנועת הידיים של מתאגרפים החובטים האחד בשני. הרעיון – שהגיע מתעופה ואומץ כאמור על-ידי הבווארים – הוא לאפשר לאוויר החיצוני לקרר את ראשי הצילינדרים הבולטים ולתרום להפחתת איבוד האנרגיה במנוע בעירה פנימית הנובע מחום.

    ולא רק ב.מ.וו, הרעיון אומץ, בין היתר, על-ידי פולקסווגן עם החיפושית, פורשה עם ה-911 האייקונית, וגם סובארו, עם כל דבר בעצם. היתרונות העיקריים הם צליל מנוע מדהים, ויברציה מיוחדת, וגם איזון טוב למדי על-פני כל קשת הסל"ד. צריכים עוד? אז גם הורדת מרכז הכובד של הרכב / אופנוע לטובת שיפור התנהגות הכביש, ממדים קטנים יחסית של המנוע לטובת חסכון במשקל ויצירת רכבים קטנים יותר בהתאם (תכונה שלא תמיד נכונה כשמדובר באופנועים), ותחושת פעולה מאוזנת וחלקה בזכות ציר התנע המשותף. כל כוחות ההתמדה והמומנטים הנוצרים על גל הארכובה מאוזנים באופן טבעי עקב תצורת המנוע, ולכן אין צורך להשתמש בגלי איזון, וזה גם יתרון מבני שתורם לאמינות. על זה יעידו עשרות האקזמפלרים בישראל שממשיכים לצבור קילומטרים על המנוע ולהמשיך כאילו אין מחר, כולל אצל משטרת ישראל.

    וכך הוא נראה בתוך האופנווע
    וכך הוא נראה בתוך האופנווע

    אבל הבעיה במנוע שבו הבוכנות נעות בכיוונים מנוגדים הוא לא באורך, אלא דווקא בממד הרוחב – כפי שרואים במנוע של ה-GS עם האוזניים הבולטות, וכפי שיעיד כל מי ששפשף את ראשי הצילינדרים במעבר סלעים צר או על השוק שלו עצמו. אם נסתכל על טבלאות הנתונים אז גם קשה לגרד הספקים גבוהים לעומת מנועי V2 או V4. עצם העובדה שמנוע הבוקסר נמצא במיעוט גם בעולם הרכבים ובטח בעולם האופנועים אמורה להגיד משהו, כי הרי אם היה לזה יתרון חד-משמעי על כל השאר, כולם היו בולעים את הכבוד ומייצרים בדיוק את זה.

    אז למה ב.מ.וו ממשיכים עם מנוע הבוקסר? ובכן, בראש ובראשונה יש כאן משמעות מיסטית וחשובה למסורת – ויעידו על-כך המכירות, כשלא מזמן נמכר הב.מ.וו המיליון עם מנוע הבוקסר. זה הקטע של ב.מ.וו, וזה מגובה באלמנט הייחוד – כי הם היחידים שמשתמשים בכך. ההסבר הרציונלי הוא האמינות שאמורה להיות טובה יותר, ההתנהגות טובה יותר, התחושה מלכותית יותר והטיפולים שאמורים להיות פשוטים וזולים יותר. וחוץ מזה, אתם יכולים לתאר את ה-GS הגדול עם מנוע כמו טווין מקבילי?

    BMW-Boxer-Engine-017

    BMW-Boxer-Engine-012

    BMW-Boxer-Engine-003

    BMW-Boxer-Engine-002

    BMW-Boxer-Engine-005

    BMW-Boxer-Engine-015

    BMW-Boxer-Engine-016

  • ב.מ.וו: יש תאריך ל-R 1300 GS – בדיוק ב-GS המיליון

    ב.מ.וו: יש תאריך ל-R 1300 GS – בדיוק ב-GS המיליון

    משפחת דגמי ה-G/S של ב.מ.וו – כביש / שטח – התחילה את דרכה בשנת 1980 עם ה-R 80 GS, ומאז נמכרו מיליון אופנועים עם מנוע הבוקסר הגדול והסיומת GS; בספטמבר הקרוב יוצג הדור החדש – ה-R 1300 GS.

    בשנת 1980 הציגו בב.מ.וו את דגם ה-R 80 G/S, שסימן את המושג Gelände / Straße, שזה אומר בגרמנית – כביש / שטח. הדגם הציג מהלך גלגל ארוך, מנח ישיבה זקוף וגלגל קדמי בקוטר 21″, שהגדיר את האופנוע כאנדורו-תיור, בהמשך כדו-שימושי וכיום אדוונצ'ר. לראשון היה מנוע בתצורת בוקסר שטוח, בנפח 797.5 סמ"ק, מקורר אוויר. בשנת 1987 שונה המיתוג ל-GS (בלי הלוכסן), והתווספה גרסת ה-R 100 GS בנפח 980 סמ"ק, שצמחה בשנת 1994 ל-R 1100 GS הגדול יותר שהותאם הרבה יותר לכיוון הכביש.

    אבולוציית הנפח המשיכה, לצד הטכנולוגיה ואלקטרוניקה, כאשר ב-1999 הנפח עלה ל-1,150 סמ"ק וב-2004 ל-1,200 סמ"ק. בשנת 2013 התווסף קירור נוזל מודרני הרבה יותר למנוע החדש, כשהאופנוע כולו מחודש, אבל שומר על המאפיינים המוכרים של המשפחה. בשנת 2019 הוצגה הגרסה הנוכחית – בנפח 1,250 סמ"ק – עם אלקטרוניקת קצה ומערכת תזמון שסתומים משתנה למנוע הבוקסר. זו עברה עדכונים כאלו ואחרים, כולל בשנה שעברה.

    כל מה שנכתב כאן, ומתייחס לגרסאות ה-GS הגדולות עם מנועי הבוקסר, מכר עד לאתמול מיליון יחידות ברחבי העולם. זו הייתה ההזדמנות לציון האירוע (בתמונה בראש הידיעה – עם מנכ"ל ב.מ.וו אופנועים) ולספק תאריך להצגתה של גרסת ה-R 1300 GS החדשה – זו אמורה לשמש כדור חדש לגמרי של הדגם הוותיק (42 שנים ל-R-GS) עם מנוע גדול יותר בנפחו ולפחות 15-10 כ"ס נוספים, וכן שלדה חדשה, אלקטרוניקת קצה ועיצוב חדש. תאריך החשיפה יהיה ב-28 בספטמבר 2023.

    תמונת ריגול של הב.מ.וו R 1300 GS (צילום: מגזין MCN)
    תמונת ריגול של הב.מ.וו R 1300 GS (צילום: מגזין MCN)
    תמונת ריגול של הב.מ.וו R 1300 GS (צילום: מגזין MCN)
    תמונת ריגול של הב.מ.וו R 1300 GS (צילום: מגזין MCN)
  • גלריה: ב.מ.וו GS TROPHY בישראל

    גלריה: ב.מ.וו GS TROPHY בישראל

    כתב: ע.י; צילום: רמי כהן שמלי

    שנים רבות שאנו במועדון BMWGSIL מסתכלים בקנאה על תמונות וסרטונים מאירועי הטרופי של ב.מ.וו שנערכים בעולם באופן קבוע, אבל עלויות ההשתתפות והמוקדמות גבוהות מאוד, ולא הייתה יכולת להפיק כזו הפקה. עד שלפני כמה שנים ההחלטה נפלה: נעשה לנו טרופי משלנו, כאן בישראל.

    את הטרופי המקומי התאמנו למידותינו הצנועות, וכך יצאה לדרך הג'ימאקנה השנתית – אירוע רכיבה שנתי שבו מתחרים הנרשמים במסלול ג'ימקאנה טכני עם פרסים ובעיקר עם אווירה מעולה.

    הג'ימקאנה השנתית הייתה אחד משיאי הפעילות השנתית של המועדון. אבל עליה וקוץ בה, הג'ימאקנה הייתה תחרותית ולא קלה, ולכן לא התאימה לחלק גדול מהרוכבים במועדון – ובוודאי למצטרפים החדשים, וכאלו יש רבים. אז אחרי שש שנות ג'ימאקנה רצופות היה צריך שינוי כיוון – אירוע רכיבה שיתאים לכולם. וכך נולד ה-BMWGSIL TROPHY.

    ה-GS THROPHY הישראלי יוצא לדרך
    ה-GS TROPHY הישראלי יוצא לדרך

    נקפוץ רגע לסוף: ללא שום ספק הטרופי היה אירוע האופנוענות המוטרף ביותר שנערך בישראל! הפקה מלאה של חברי המועדון, ללא התערבות של גורמים מסחריים וכמעט בלי תקציב. כל משתתף שילם 50 ש"ח דמי הרשמה, ולא היו יחצנות, נאומים או בולשיט. אופנוענות אדוונצ'רית נטו!

    65 רוכבים השתתפו בטרופי הישראלי, שהתקיים בסמוך למשאבי שדה, ומעל 80 איש ואישה וילדים וטף, חמישה רכבי ליווי, שני רחפנים, ואחד רמי כהן שמלי שהפעם בא רק לצלם (ראו את הגלריה היפה).

    היום הראשון של הטרופי נחלק לשלושה קטעים: הראשון תרגולות רכיבה, השני מסלול שטח אשר כלל התמודדות עם תוואי קרקע משתנים ואתגרוני שטח קלים, והשלישי רכיבת שטח לסיום היום ברחצה בעין עקב אשר בנחל צין – שהרי ידוע שאין המועדון זז לשום מקום ללא רחצה הגונה.

    השכם בבוקר יצאה קבוצה קטנה וסימנה בסרטי סימון את אזור התרגולות אשר תוכנן מראש – סלאלום בין אבנים (אין תקציב לקונוסים), סיבובים הדוקים לשמאל ולימין, מעבר מסלעה שאמנם לא תוכננה מראש, אך נהגתה והוקמה בשטח, רכיבה בריבוע מסומן ופניית 90 מעלות  בשימוש בלם אחורי בלבד, רכיבה ללא מצערת תוך העברת בקבוק מים מעמוד לעמוד (הלקח החשוב: בפעם הבאה זה יהיה בקבוק בירה קרה!), תחרות רכיבה איטית בין 5-4 רוכבים, ועוד. הקבוצה חולקה לשניים, כאשר קבוצה אחת מתרגלת והשנייה תומכת, עוזרת, מכוונת, ובעיקר מצלמת.

    תחילת היום - מתרגלים
    תחילת היום – מתרגלים

    לאחר סיום התרגולים יצאו שתי הקבוצות לשני מסלולים שנחקרו והוגדרו מראש. המסלולים כללו זינוקים בעלייה מלאה בפודרה, רכיבה בשיפוע צד, מעברי מכשול שונים, ועוד.

    אחר הצהרים יצאו שתי הקבוצות לכיוון שדה בוקר וירדו דרך מעלה צין לעין עקב. תענוג גדול עין עקב, וכשזה בא עם 65 רוכבים ובליווי בירה וקפה, אז התענוג גדול שבעתיים.

    לפנות ערב חזרו הקבוצות לחאן, נפתחו הבירות, הפיצוחים ובקבוקי היין, והסיום היה ארוחת ערב בדואית מעולה. תוך כדי הארוחה נפרדנו ממקים המועדון ומנהלו במשך שנים רבות, איתן לייבוביץ'. איתן היה ממקימי המועדון לפני 24 שנים(!), מאז ועד היום המועדון פעיל ועורך טיולי שטח ופעילויות מדי חודש.

    היו שנשארו לדבר אופנועים, היו שהלכו לישון והיו כאלו שהתעלפו. אולי העייפות, אולי הבירות והלימונצלו – לא חקרנו.

    וגם עובדים קשה
    וגם עובדים קשה

    בבוקר שבת רכבנו בשני מסלולי טיול – הראשון עם הקבוצה הגדולה בנחל הבשור, נחל בוקר, נחל ציפורים ונחל הרועה – מסלול יפהפה. השני לא בדיוק ענה להגדרת 'טיול'… קבוצה קטנה יותר של 11 רוכבים יצאה לחצות את חולות עגור וחלוצה. אפשר לכתוב הרבה על רכיבת חולות על אופנועי GS, והיו אופנועים מ-650 ועד 1,250 סמ"ק, אך עובדה היא שחצינו מחורבות חלוצה, דרך רחובות בנגב, קניון הלס המקסים והמיוחד ועד נחל לבן בואכה באר מילכה אשר בפתחת ניצנה.

    40 ק"מ של דיונות חול משגעות, שאם מקפידים על חוקי הרכיבה בחולות, טסים עליהן בכייף גדול. כן גם נופלים לפעמים, אבל בחול זה פחות נורא…

    ה-TROPHY BMWGSIL הראשון הגיע לסיומו, והוא היה חוויה מיוחדת במינה. חברות, ערבות הדדית, עזרה ללא תנאי, אהבת השטח ורכיבת שטח, זוהי תמצית מועדון BMWGSIL – ובפעם הזו כל אלו היו בגדול, כמו תמיד בעצם.

    בין אופנועי הב.מ.וו GS שהשתתפו היו אופנועים בני 40 שנה ואופנועים בני 40 יום, ומדהים לראות אותם רוכבים אחד לצד השני ומבצעים את אותה הפעילות ואותו המסלול.

    חברי מועדון BMWGSIL רוצים להודות דלק מוטורס ולרן בוזנח על התמיכה רבת השנים, לדניאל ועמוס מנהלי המועדון, וכמובן למשתתפי הטרופי של 2023. נתראה בטרופי 2024.

  • נוסטלגיה: ב.מ.וו HP2 – ביצועים גבוהים

    נוסטלגיה: ב.מ.וו HP2 – ביצועים גבוהים

    הב.מ.וו HP2 אנדורו היה הניסיון של ב.מ.וו לצאת מהקופסה ולהציג משהו חדש ושונה. במבט לאחור, הניסיון לא היה כזה מוצלח.

    השבוע פרסמנו תמונות ריגול של שני דגמי R nine T חדשים, שלוקחים את הסקרמבלר והאורבן G/S ומוסיפים להם יכולות שטח עם חישוק שפיצים בקוטר 21″ מלפנים וצמיגי קארו 3 של מצלר, שמגיעים על דגמי אדוונצ'ר-שטח עם מתלים ארוכי מהלך, כשההשערה היא מהלכי גלגל של 220 מ"מ בסקרמבלר ו-250 מ"מ באורבן. בנוסף, יש סעפת מוגבהת ומיכל השמן מוגן יותר, זאת על-מנת לאפשר הגנה מיטבית מפני אבנים מעופפות ברכיבת שבילים. יש רגליות רוכב משוננות לאחיזת מגף טובה יותר, כנף קדמית גבוהה ורגליות מורכב פריקות.

    ב.מ.וו HP2 אנדורו
    ב.מ.וו HP2 אנדורו

    זה החזיר אותנו 16 שנה אחורה לדגם ה-HP2 אנדורו, שניסה להביא טעימה לשטח מאופנוע שפחות מותאם לכך. קודם כל, ראשי התיבות HP ייצגו את מחלקת ה-'High Performance' – ביצועים גבוהים, ו-2 ייצג את שתי הצילינדרים של מנוע הבוקסר. במשפחת ה-HP היו שלושה דגמים: האנדורו, עליו נתמקד היום ושהוצג בשנת 2005, ה-HP2 מגהמוטו שהוצג ב-2007 והיה מעין היפרמוטארד מגניב, וה-HP2 ספורט, שהוצג בשנת 2008 והתבסס על ה-R1200S. למעט האחרון, שני הדגמים הראשונים לא נחלו הצלחה מסחרית. כוונת המשורר של ב.מ.וו הייתה להקים מעין חטיבת M (חטיבת הביצועים של רכבי ב.מ.וו) ולייצר דגמים במהדורות מוגבלות.

    המנוע הגיע מה-R1200GS שהוצג שנה לפני כן. מדובר על מנוע בוקסר מקורר אוויר ושמן בנפח 1,170 סמ"ק (קירור הנוזל הופיע בדגם של שנת 2013). ההספק כאן היה גבוה ב-5 כ"ס ועמד על 105 כוחות סוס ב-7,000 סל"ד, עם נתון מומנט דומה של 10.3 קג"מ ב-5,500 סל"ד. המנוע הגיע ללא גל האיזון שהיה ב-GS, ולכן היו ויברציות מוחשיות ברכיבה. ההינע הסופי התבצע על-ידי גל-הינע. בקצה הקדמי של שלדת הצינורות הורכב מזלג קדמי הפוך של WP בקוטר 45 מ"מ ומהלך של 270 מ"מ במקום הטלהלבר המסורתי של ה-GS, ומאחור היה בולם – לא קונבנציונאלי בזמנו – עם שיכוך אוויר ומהלך של 250 מ"מ. גובה המושב עמד על 920 מ"מ גבוהים. המשקל היבש עמד על 175 ק"ג – משמעותית קל יותר מה-R1200GS עליו הוא מבוסס. את המסה הזאת בלם דיסק קדמי יחיד בקוטר 304 מ"מ, ללא מערכת ABS.

    הב.מ.וו HP2 אנדורו לא התקבל בהתלהבות בעולם בוחני האופנועים. מחיר יקר לעומת ה-GS, יכולת שטח שהוגבלה בגלל הצילינדרים הבולטים של המנוע, ובעיקר המשקל הרטוב שחצה את קו 200 הק"ג. בכביש לא היו לא יתרונות כלל, אלא להיפך – עם המושב השטוח, הכנף הגבוהה והחוסר במיגון רוח, הוא לא היה נוח לטווחים ארוכים. באירופה ב.מ.וו הציעו גם חישוקי 17″ ללא עלות לרוכשים. בשורה התחתונה, הוא לא היה יותר טוב מלמשל הק.ט.מ 990 אדוונצ'ר באף פרמטר, למעט הייחודיות, אבל המושג הזה עזר לכלי למצוא לקוחות נאמנים ולשמר את ערכו במידה מסוימת. ב.מ.וו נתנו לו 3 שנים, אך הפסיקו את ייצורו ב-2008. מספר אקזמפלרים הגיעו לישראל ונוסעים עד היום בכלי שהוא שונה וטוב בפני עצמו.

    BMW HP2 Enduro (2)

  • הסרט 'Long Way Up' מגיע לאפל טי.וי

    הסרט 'Long Way Up' מגיע לאפל טי.וי

    'Long Way Up', הפרק השלישי של צמד ההרפתקנים יואן מק'גרגור וצ'ארלי בורמן, מכסה הפעם 21,000 ק"מ על-גבי צמד הארלי דיווידסון LiveWire חשמליים; מגיע לשידור בחודש ספטמבר באפל טי.וי.

    בשנת 2019, הרבה לפני פרוץ מגיפת הקורונה, יצאו הצמד וצוות סיוע למסע נוסף, שלישי במספר – על טהרת החשמל. הפעם הם רכבו על האופנוע החשמלי של הארלי-דיווידסון – ה-LiveWire (קראו עליו כאן). הם לוו גם בטנדרים החשמליים של Rivian R1T המגניבים לא פחות. האופנועים שלהם לא היו במצב סדרתי כמובן, אלא עם מהלך מתלה ארוך יותר, חישוקי שפיצים (להבדיל מיצוקים) עם גלגל קדמי בקוטר 19″ (לעומת 17″ במקור) ושפצורים נוספים שאפשרו להארלים לעבור בתוואי שטח קשוח. המסע – Long Way Up –  כיסה במשך 100 ימים 20,930 ק"מ (13,000 מייל).

    המסע כיסה 13 מדינות שונות, מארגנטינה, צ'ילה, בוליביה, פרו, אקוודור, קולומביה, מרכז אמריקה ומקסיקו.  לא פשוט בהתחשב בטווח המשוער שטעינה מלאה יכולה להעניק, שעומד על כ-150 ק"מ, ובטח פחות בתנאים קשים. סדרת הפרקים תשודר החל מ-18 לספטמבר באפל טי.וי. הכי קרוב שניסע לחו"ל בתקופה הזאת.

    המסע הראשון של החבורה היה בשנת 2004, שם רכבו על אופנועי ב.מ.וו  R1150GS אדוונצ'ר מלונדון ועד ניו-יורק בדרך הארוכה מזרחה. המסע, שעבר דרך אירופה, אסיה ואלסקה, נמדד ב-35,960 ק"מ ו-3.5 חודשים. המסע – Long Way Round – הפך לסדרת וידאו וספר רב-מכר. המסע השני היה בשנת 2007 ויצא מסקוטלנד ועד דרום אפריקה. אופנועי הב.מ.וו R1200GS כיסו 17 מדינות ו-19,500 ק"מ בשלושה חודשים. גם פה – והפעם בשם Long Way Down – המסע פורסם דרך סדרת סרטי DVD של ה-BBC וספר רב-מכר.

  • 40 שנה למשפחת ה-GS של ב.מ.וו

    40 שנה למשפחת ה-GS של ב.מ.וו

    משפחת דגמי ה-G/S של ב.מ.וו – כביש / שטח – התחילה את דרכה בשנת 1980 והתפתחה לסדרת דגמים אדירה שנעה בין גרסאות 310 סמ"ק ועד 1,250 סמ"ק ומכרה מעל 1.2 מיליון כלים.

    האבולוציה של ה-GS בתמונה אחת
    האבולוציה של ה-GS בתמונה אחת

    בראשית שנות ה-80 של המאה הקודמת הציגו בב.מ.וו את דגם ה-R 80 G/S, שסימן את המושג Gelände / Straße, שזה אומר בגרמנית – כביש / שטח. הדגם הציג מהלך מתלים ארוך, מנח ישיבה זקוף וגלגל קדמי בקוטר 21″, שהגדיר את האופנוע כאנדורו-תיור, בהמשך כדו-שימושי וכיום אדוונצ'ר. לדגם היה מנוע בנפח 797.5 סמ"ק, מקורר אוויר בתצורת בוקסר שטוח. להילת הדגם יותר מתרמה העובדה שהוא ניצח לא פחות מארבע פעמים בראלי פריז-דקאר הקשוח – ב-1981 ו-1983 עם הוברט אוריאל הצרפתי וב-1984 ו-1985 עם גסטון ראיה הבלגי עם ה-1.60 מ' שלו (ראו סרטון):

    בשנת 1987 שונה המיתוג ל-GS (בלי הלוכסן), והתווספה גרסת ה-R 100 GS בנפח 980 סמ"ק, שצמחה בשנת 1994 ל-R 1100 GS הגדול יותר שהותאם הרבה יותר לכיוון הכביש. מנוע הבוקסר שסיפק 80 כ"ס, והכפיל את מספר השסתומים ל-4, שימש לראשונה כגורם נושא עומס בשלדה. ה-GS אופיין עם זרוע הפרהלבר החד-צידית מאחור, שמכילה את גל ההינע החוסך אחזקה ושימון, ובגרסת ה-1,100 הוצגה מערכת הטלהלבר מלפנים, אשר מונעת שקיעה בעת בלימה ובעצם מפרידה בין כוחות ההיגוי וכוחות הבלימה ומבודדת את הרוכב מהזעזועים תחתיו. בנוסף הציעה ב.מ.וו מערכת ABS, לראשונה בעולם הדו"ש / אדוונצ'ר.

    ב.מ.וו R 80 G/S - האבא של האדוונצ'רים
    ב.מ.וו R 80 G/S – האבא של האדוונצ'רים

    הדגם המשיך עם אבולוציית הנפח, הטכנולוגיה ואלקטרוניקה וגדל ב-1999 ל-1,150 סמ"ק וב-2004 לדגם 1,200 סמ"ק שהשיל כמעט 30 ק"ג ממשקל קודמו והמשיך לעבור אבולוציה והמשך פיתוח כמעט בכל שנה. כך למשל, עם השנים נוספו מערכות אלקטרוניות, וב-2010 ההספק עלה מ-105 ל-110 כ"ס.

    בשנת 2013 התווסף קירור נוזל מודרני הרבה יותר למנוע החדש, כשהאופנוע כולו מחודש, אבל שומר על המאפיינים המוכרים של המשפחה. בשנת 2019 הוצגה הגרסה האחרונה לבינתיים – בנפח 1,250 סמ"ק – עם אלקטרוניקת קצה ומערכת תזמון שסתומים משתנה למנוע הבוקסר, שנקראת ShiftCam, אשר משפרת את המילוי הנפחי על כל פני טווח הסל"ד, והלכה למעשה משכללת את גרף המומנט כך שיהיה שטוח יותר וגמיש יותר. אצלנו הדגם מוכר בעיקר דרך משטרת התנועה ורוכבי המועדונים שמעזים לרדת איתו לשטח. לכל דגם גם הוצעה גרסת אדוונצ'ר עם מיכל דלק גדול יותר ואבזור ומיגונים ייעודיים.

    ב.מ.וו R 100 G/S
    ב.מ.וו R 100 G/S

    לא נשכח גם את סדרת ה'מסעות הגדולים' של השחקן יואן מק'גרגור, שותפו צ'ארלי בורמן והצלם קלאודיו ון-פלטה, שייצגו את ה-GS בתנאים קשים. המסע הראשון של החבורה היה בשנת 2004, שם רכבו על אופנועי ב.מ.וו R 1150 GS אדוונצ'ר מלונדון ועד ניו-יורק בדרך הארוכה מזרחה. המסע, שעבר דרך אירופה, אסיה ואלסקה, נמדד ב-35,960 ק"מ ו-3.5 חודשים. המסע – Long Way Round – הפך לסדרת וידאו וספר רב-מכר. המסע השני היה בשנת 2007 ויצא מסקוטלנד ועד דרום אפריקה. אופנועי הב.מ.וו R 1200 GS כיסו 17 מדינות ו-19,500 ק"מ בשלושה חודשים. גם פה – והפעם בשם Long Way Down – המסע פורסם דרך סדרת סרטי DVD של ה-BBC וספר רב-מכר.

    ב.מ.וו R 1100 GS
    ב.מ.וו R 1100 GS

    דגמי ה-F במשפחת ה-GS

    בב.מ.וו חיברו את המותג GS גם לדגמים נוספים, שנשאו מנוע חד-צילינדרי וטווין מקבילי והגיעו בנפחים קטנים יותר. בשנת 1993 הוצגה גרסת ה-F650GS פאנדורו, שהוצמדה למשפחת ה-GS רק בשנת 2000 והציעה את מערכת הזרקת הדלק הראשונה למנוע סינגל, ממיר קטליטי ו-ABS. ב-2007 המנוע הכפיל את מספר הצילינדרים לתצורת טוין מקבילי והציע בהדרגה גרסאות 650, 700, 750, 800 סמ"ק ו-850 סמ"ק.

    ב.מ.וו F 850 GS (צילום: אסף רחמים)
    ב.מ.וו F 850 GS (צילום: אסף רחמים)

    דגמי ה-G במשפחת ה-GS

    ב.מ.וו הציגה את ה'בייבי GS' בשנת 2016, אשר מורכב במפעלי TVS בהודו, עם פלטפורמה זהה ל-G310R – כלומר מנוע סינגל בנפח 313 סמ"ק המפיק 34 כ"ס ב-9,500 סל"ד ו-2.85 קג"מ ב-7,500 סל"ד, כשיניקת האוויר מלפנים והפליטה מאחור – כלומר מנוע הפוך. המנוע שוכן בתוך שלדת צינורות פלדה. המשקל עומד על 169.5 ק"ג כולל כל הנוזלים. הבולמים ארוכי מהלך (כ-50 מ"מ יותר מאשר ב-R), עם מזלג הפוך בקוטר 41 מ"מ, אך הם נטולי כוונונים למעט עומס קפיץ מאחור. הגלגלים במידות "19 ו-"17, עם צמיגי דו"ש של מצלר עליהם. טכנולוגית יש מערכת ABS כסטנדרט, צג LCD גדול, וכמובן שפע של אביזרים נלווים כמו ארגזים בנפח גבוה, מושב גבוה או נמוך, שקעי טעינה, ידיות מחוממות ומתקן לטלפון סלולרי.

    ב.מ.וו G 310 GS - בייבי GS
    ב.מ.וו G 310 GS – בייבי GS

    ב.מ.וו גם שידכו את האותיות GS למשפחות נוספות עם גרסה נוספת ל-R nine T ('נינט'), גרסת הומאז' לאופנועי ה-R-G/S של שנות ה-70 וה-80 שנקראת Urban G/S. האורבאן G/S הצטרף למשפחת ה-R nine T הכוללת את הסקרמבלר, הרייסר, הפיור וה-R nine T המקורי מ-2013.

    בב.מ.וו בחרו בינתיים לציין את 40 השנים למשפחת ה-GS ההיסטורית עם דגמים מיוחדים למשפחת ה-F-GS, אבל אין ספק שהמשפחה הזאת, שעשתה את השם שלה עם הדואליות של הכביש והשטח וההצלחה בראלי הדקאר, החזיקה ומחזיקה בכוחות עצמה את חטיבת האופנועים של ב.מ.וו ומסמלת משפחה אליטיסטית מצד אחד אבל מוכשרת ומוצלחת מהצד השני. כיף להרים את האף על בעלי GS, אבל כולם גם רוצים להיות חלק מהם. אנו בטוחים שגרסאות 50 שנה ו-60 שנה יגיעו גם הן במשפחה המיוחדת והאייקונית הזאת.

    ב.מ.וו R 1150 GS
    ב.מ.וו R 1150 GS
    ב.מ.וו R 1200 GS של שנת 2004
    ב.מ.וו R 1200 GS של שנת 2004
    ב.מ.וו R 1200 GS דגם 2010
    ב.מ.וו R 1200 GS דגם 2010 (צילום: טל זהר)
    דגם 2013 מקבל מנוע חדש מקורר נוזל (צילום: אסף רחמים)
    דגם 2013 מקבל מנוע חדש מקורר נוזל (צילום: אסף רחמים)
    בשנת 2019 הנפח גדל ל-1,250 סמ"ק (צילום: בני דויטש)
    בשנת 2019 הנפח גדל ל-1,250 סמ"ק (צילום: בני דויטש)
  • ב.מ.וו: האם חישוקי השפיצים של R1200GS קורסים?

    ב.מ.וו: האם חישוקי השפיצים של R1200GS קורסים?

    הסיפור הזה התפוצץ לפני ימים ספורים ברשתות החברתיות, והוא חשף תמונה מדאיגה: בחישוקי שפיצים של ב.מ.וו R1200GS משנים מסוימות ישנה התרופפות שפיצים (חישורים), והתוצאה עלולה להיות קריסה מוחלטת של הגלגל באמצע רכיבה, מה שמוביל לתאונת דרכים.

    הפרשה התפוצצה כאמור לפני ימים אחדים ברשתות החברתיות, כשרוכב ב.מ.וו R1200GS התרסק עם האופנוע בעת רכיבה על כביש סלול באזור מדבר יהודה ונבי מוסא, וכתוצאה מההתרסקות שבר ברך ו-2 צלעות וקרע רצועות בברך. צילומי הווידאו מהמצלמה של הרוכב שלפניו מראים התרסקות פתאומית על כביש ישר, ללא התראה מוקדמת וללא סיבה נראית לעין (צפו בווידאו בהמשך הכתבה). לטענת הרוכב, נ.ש, ההתרסקות קרתה בשל קריסת הגלגל, וזאת כתוצאה משפיצים שהתרופפו. תמונות של הגלגלים אחרי ההתרסקות תוכלו לראות כאן בכתבה, ובכל מקרה האופנוע – משנת 2018 – מוגדר כעת כאובדן מוחלט ('טוטאל לוס') בשל העובדה שעלות התיקון עולה על 85 אלף שקלים.

    האופנוע המדובר הוא ב.מ.וו R1200GS דגם ראלי, שנת 2018, שעלה על הכביש במאי 2018 ונרכש כמשומש מדלק מוטורס, יבואנית ב.מ.וו לישראל, על-ידי נ.ש בינואר 2019, עם פחות מ-10,000 ק"מ על השעון. בעת ההתרסקות מד הק"מ עמד על כ-16 אלף ק"מ.

    תיעוד ההתרסקות ממצלמת הדרך של הרוכב שלפנים

    בדיקה מול רוכבי ב.מ.וו בארץ ובעולם חושפת תמונה מדאיגה למדי: באופנועי ב.מ.וו מהשנים 2017 ו-2018 המצוידים בחישוקי שפיצים – ה-R1200GS, ה-R1200GS אדוונצ'ר ודגמים מסוימים מ-R nine T – אכן ישנה נטייה של שפיצים להשתחרר בשני הגלגלים, ואף תועדו מקרים בארץ ובעולם של קריסה מוחלטת של הגלגל בזמן רכיבה – מה שהוביל לתאונה.

    בדיקה מול גורמי ב.מ.וו בארץ ובעולם אף חשפה שהיצרנית מודעת לבעיה ואף שחררה כבר בסוף 2018 הוראה למוסכי החברה לתיקון התקלה – הוראת תיקון שהגיעה לידינו. על-פי ההוראה, אם התגלה שיש עד 7 שפיצים משוחררים יש לחזק אותם לפי ההוראות הטכניות של ב.מ.וו, אולם אם יש יותר מ-7 שפיצים משוחררים יש להחליף את הגלגל כולו. כך גם במקרה של זריקה רדיאלית או אקסיאלית ('שמינייה', 'שפיל') מוגזמת שלא ניתנת לתיקון על-ידי מתיחת שפיצים. אופציה נוספת למקרה שבו יש יותר מ-7 שפיצים משוחררים היא לשלוח את הגלגל לתיקון אצל חברה חיצונית, או לתקן אותו לפי ההוראות הטכניות של ב.מ.וו, אם כי בשני המקרים האחרונים אין ערובה לכך שהשפיצים לא ישתחררו שוב.

    כאן נשאלת השאלה – אם בב.מ.וו העולמית מודעים לבעיה, מדוע משחררים הוראת בדיקה למוסכים בלבד ולא מוציאים קריאת תיקון כוללת לכל הדגמים עם הגלגלים הבעייתיים ומחליפים את כולם באופן גורף? עוד לא ברור מדוע היבואנית המקומית, דלק מוטורס, לא לוקחת על עצמה לקרוא ללקוחות באופן גורף, לבצע בדיקה יזומה ואף להחליף גלגלים במידת הצורך, לפני שהגלגלים יקרסו ויגרמו לתאונות מיותרות? נזכיר כי מדובר באופנוע פרימיום שמחירו ההתחלתי עומד על 160 אלף ש"ח, וכי ידוע שהרוכבים הישראליים הם אלו שדווקא כן לוקחים את אופנועי האדוונצ'ר שלהם לטיולי שטח ושבילים. בשנים 2017 ו-2018 נמכרו בישראל סביב 200 אופנועים מהדגמים הנ"ל המצוידים בחישוקי שפיצים שעלולים להיחשד כפגומים.

    בין אם יגיע פתרון קבוע מהיצרנית או מהיבואנית ובין אם לא, אנו ממליצים לכל אחד מהרוכבים על ב.מ.וו R1200GS או R1200GS אדוונצ'ר, וכן לרוכבי R nine T עם חישוקי שפיצים – משנים 2017 ו-2018 – לבדוק באופן תדיר את חישוקי השפיצים שבאופנוע שלהם על-ידי הקשה על השפיצים עם חפץ מתכתי כמו מברג ובדיקת הצליל המופק. אם מצאתם שפיצים רופפים – גשו בהקדם למוסך שירות של ב.מ.וו לחיזוק השפיצים ואף החלפת הגלגלים.

    תגובת דלק מוטורס, יבואנית ב.מ.וו:

    "יצרן האופנועים עדכן במסגרת הוראת השירות על בדיקת החישורים וחיזוקם במידת הצורך בהתאם לנוהל מוגדר. לדברי היצרן, מניסיונו ובדיקות שבצע, "חופש" גדול (Excessively Low Tension) במספר רב של חישורים יכול לגרום לרעידות במהלך רכיבה אך לא למצב שאיננו בטיחותי ובשום אופן לא למצב של נסיעה מסוכנת. במצב כזה הרוכב חש מיד בהבדל למול הרכיבה הרגילה ועליו להגיע למרכז השירות המורשה. היצרן הנחה לבדוק את האופנועים הרלוונטיים בהתאם לרשימת שלדות שעדכן, או כל אופנוע אחר עם תלונה דומה, בעת כניסתם הקרובה למרכז השירות.

    האופנוע המדובר הגיע אלינו עם סימני פגיעה בשני החישוקים. אנו מבינים שזאת אחרי רכיבת שטח. לאור התיאור שלעיל, נראה כי מדובר באירוע תאונתי, שנכון שיטופל על-ידי חברת הביטוח.

    יחד עם זאת נדגיש כי היצרן ביקש לקבל את החישוקים לבדיקה והתייחסות. הלקוח ביקש להעביר את החישוקים למעבדה בארץ לבחינה, עדכנו אותו כי ייתכן וליצרן תהיה בעיה לבדוק את החישוקים לאחר שיעברו אצל גורם נוסף לפני. אנו ממתינים לשמוע מהלקוח לגבי שליחת החישוקים ליצרן".

    *עדכון 6.8.19: בודק מטעם הרוכב והבעלים של האופנוע קבע כי מדובר בכשל של הגלגלים.

    *עדכון, 6.8.19 – תגובה מורחבת של דלק מוטורס:

    "בטיחות הרכיבה ושלומם של רוכבי האופנועים הינם ערך עליון. BMW ודלק מוטורס תמיד פועלות ותפעלנה ברוח זו.

    ברצוננו להבהיר את הדברים לאור הפעילות הערה סביב נושא מתח החישורים באופנועי R 1200 GS. 

    באוקטובר 2018 הודיע יצרן האופנועים בחוזר שירות, כי בעקבות עלייה במספר תלונות לקוחות בנוגע לגלגלי חישורים מצטלבים בעלי מתיחות חישור נמוכה במיוחד, הוחלט לבצע טיפול בגלגלים ללא תשלום.

    היצרן עדכן אותנו כי 55 כלים מדגם R 1200 GS  מתאריכי ייצור פברואר עד יוני 2018 נמצאו רלוונטיים להוראת שירות זו בישראל.

    במסגרת הוראת השירות, נבדקים החישורים ובכל מקרה מחוזקים כל החישורים בשני הגלגלים בהתאם לנוהל מוגדר.

    היצרן הבהיר כי על בסיס ניסיונו ותוצאות בדיקות שביצע, במידה ובמספר בודד של חישורים תופיע מתיחות נמוכה במיוחד האופנוע יפעל בצורה גסה ומורגשת,

    אולם בשום מקרה התופעה לא תגרום לרכיבה לא בטוחה או למצבי רכיבה מסוכנים.

    במידה והתופעה מתרחשת, הרוכב יחוש מיד בפעולה לא חלקה כסטייה ממצב הפעולה הרגיל, וכתוצאה מכך הוא יתלונן בפני מרכז השירות המורשה שיטפל בהתאם להוראה.

    חישור בודד עם מתיחות נמוכה מאוד לא יורגש בזמן רכיבה על ידי הרוכב.

    על-כן, הגיע היצרן  למסקנה כי לא מדובר באירוע בטיחותי והוראת השירות יכולה להתבצע בכניסה הבאה של האופנוע אל מרכז השירות.

    דלק מוטורס נמצאת בקשר ישיר עם יצרן האופנועים, פועלת בהתאם להנחיותיו ומעדכנת אותו בכל אירוע.

    בלי להיכנס לפרטים, לאחרונה התרחש אירוע תאונתי באופנוע מהדגם המדובר.

    ואנו מאחלים ללקוח איחולי החלמה מהירה ומלאה.

    היצרן מאשר שביצע ביקורת וניתוח מעבדה של מספר מקרים כאלה שאירעו ברחבי העולם. בביקורות אלו לא נמצאה כל הוכחה לכך שמדובר בכשלים שיטתיים של רכיבים כגון חישורים או חישוקי גלגלים.

    בכל המקרים, הנזקים המדווחים אירעו בעקבות נזק קודם (עומס-יתר) או אפילו כתוצאה מתאונה או נפילה. זה הוכח גם במבחני נסיעה ובמבחני מעבדה מקיפים שביצע היצרן על אופנועי הבחינה שלו.

    אנו בקשר רציף עם הלקוח ובקשר הדוק עם יצרן האופנוע במטרה להביא את האירוע לכדי מיצוי בדיקה וטיפול.

    החישוקים יישלחו אל היצרן, לאחר שאתמול, 5.8.2019, אישר הלקוח לעשות זאת. היצרן יבצע את בדיקות המעבדה הנדרשות וישתף אותנו ואת הלקוח בממצאים ככל שיהיו.

    היצרן התחייב שיחקור בדחיפות את האירוע מיד עם קבלת החלפים שניזוקו וכי אם בחקר המקרה יתגלו ממצאים חדשים המצביעים על בעיית גלגלים שיטתית, הוא יגיב בהתאם.

    כמן-כן, למען השקט הנפשי של לקוחותינו , כל רוכב אופנוע, החש אי נוחות עם אופנועו, מוזמן להגיע אל אחד ממרכזי השירות המורשים לבדיקה של הגלגלים ללא חיוב".

    R1200GS-03

     R1200GS-04

     R1200GS-01

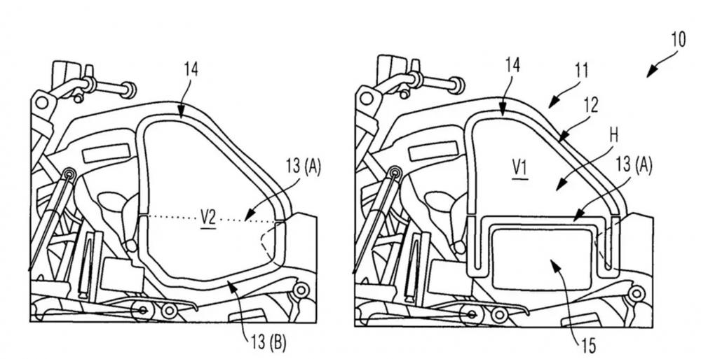
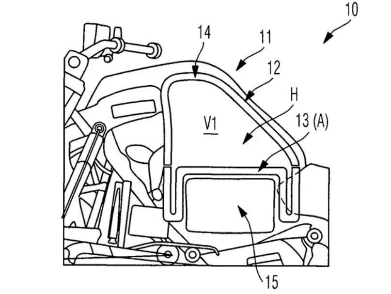
  • ב.מ.וו: בקרוב מיכל דלק גמיש?

    ב.מ.וו: בקרוב מיכל דלק גמיש?

    ב.מ.וו הגישו רישום פטנט עבור מיכל דלק מודולרי וגמיש, המאפשר לחלק הפנימי של המיכל להגדיל או להקטין את נפחו בהתאם לצורך. סיכוי טוב שהדבר נועד לספק פלטפורמה שמעסיקה את ב.מ.וו זה מספר שנים – של אופנוע היברידי, כלומר אופנוע המונע על-ידי שני מנועים: בנזין וחשמלי במקרה הזה.

    נחזור אחורה לתערוכת מילאנו 2015. בב.מ.וו הציגו, בשיתוף חברת השיפורים Wunderlich, גרסה של ה-R1200GS  עם מנוע חשמלי המורכב על הגלגל הקדמי. המנוע – שהציג נתונים של 7.6 קילוואט (10.2 כ"ס) – שירת שתי מטרות: האחת – לספק הנעה קדמית בנוסף לאחורית, כלומר הנעה כפולה לתנאי שטח קשים. השנייה – לאפשר הנעה חשמלית בלבד (דרך הגלגל הקדמי) עד 20 קמ"ש קדימה ו-3 קמ"ש אחורה. הקונספט לא זכה לצאת לשוק המסחרי.

    הפטנט הנוכחי מראה נפח משתנה בקיבול מיכל הדלק. חלקו התחתון מתגמש כלפי מעלה, ומטרתו – לפי ההשערות – לאפשר הכנסת סוללה נטענת במקרים שהרכיבה מתבצעת בעיר או בסביבתה. במידה והרוכב ירצה לרכוב לטווח ארוך – תחום בו לנושא ההיברידי אין יתרון – ניתן יהיה לשלוף את הסוללה ולמלא את מיכל הדלק למלוא הקיבול.

    על פניו זה מעניין משום שניתן יהיה להוציא את הסוללה הכבדה כשאין בה צורך. יתרון הנדסי נוסף הוא האפשרות לב.מ.וו להתאים את הטכנולוגיה ההיברידית לליין האופנועים הקיים ולא לתכנן שלדה חדשה שתוכל להכיל את הסוללה הנוספת. קשה לנו לראות את היתרון של העניין בארצנו הקטנה, אך נקדם בברכה כל התפתחות טכנולוגית, בטח כזאת שיכולה גם להביא הטבות במס ולהוזיל את האופנוע.

    כך נראה מיכל הדלק מצצבו ה'מקופל' - עם הסוללה מתחתיו
    כך נראה מיכל הדלק מצצבו ה'מקופל' – עם הסוללה מתחתיו
  • ב.מ.וו GS: עכשיו בעיצוב אישי

    ב.מ.וו GS: עכשיו בעיצוב אישי

    בעולם הרכבים, בעיקר בחו"ל, נפוצה השיטה של שינוי צבע הרכב על-ידי מדבקות מיוחדות. זה נקרא WRAP – כיסוי. יצרנית האופנועים ב.מ.וו הודיעה אתמול על קיט מדבקות מקורי, אותו היא מוכרת בעצמה, שייתן לב.מ.וו שלכם מראה ייחודי ושונה מהשאר. כרגע ההתייחסות היא רק לדגמי האדוונצ'ר ול-G310R, אבל בעתיד תשחרר החברה קיטים גם לשאר הדגמים. הקיט מגיע בצבעים ועיצובים שונים, עם סמל הפרופלור מוטבע בהם. בנוסף למדבקות יגיעו כלים לסיוע בהדבקה.

    הכלים המתאימים הם דגמי ה-R1200GS משנת 2008 ואילך, G310RG310GSF750GSF850GS. מחירים טרם פורסמו.