תגית: הונדה אפריקה טווין

  • הונדה: האפריקה טווין מתעדכן ומקבל גם גרסת "19

    הונדה: האפריקה טווין מתעדכן ומקבל גם גרסת "19

    בהונדה מציגים היום (ד') גרסה מעודכנת של ה-CRF1100L אפריקה טווין, שלמעשה מביא אותו לדור הרביעי של רב-המכר האייקוני. בנוסף, לראשונה מוצעת גרסת האדוונצ'ר ספורט עם חישוק 19″ קדמי ומהלכי גלגלים קצרים יותר לטובת יכולות הכביש.

    סדרת האפריקה טווין המודרנית היא רבת המכר של הונדה בסגמנט האדוונצ'ר בפרט ובהיצע הכללי בכלל. כזכור, בשנת 2016 החזירו בהונדה את השם האייקוני 'אפריקה טווין'. ה-CRF1000L – אדוונצ'ר גדול ואיכותי בעל יכולות שטח אמיתיות וטובות – כבש את סגמנט האדוונצ'ר, כשבמקביל הציגו בהונדה גם גרסת DCT אוטומטית. בשנת הדגם 2018 האפריקה טווין עודכן וקיבל מתיחת פנים יחד עם תוספות אלקטרוניקה כמו מצערות חשמליות. בהונדה הציגו גם את האדוונצ'ר ספורט, גרסה גדולה יותר ומאובזרת יותר שמיצבה את עצמה מול גרסאות העילית של היצרנים האירופאיים. לשנת 2020 הציגו בהונדה גרסה חדשה לגמרי בנפח 1100 סמ"ק, ובחרו להוסיף גרסת פרימיום נוספת עם מערכת הבולמים החשמלית הסמי-אקטיבית החדשה של שוואה – לראשונה באופנוע של הונדה – כשגם אותה ניתן לבחור עם הגיר הרגיל או ה-DCT, שאחראי על 51% מהמכירות. כלומר, על כל גרסה עם גיר רגיל נמכר גם אחד עם DCT. לפי הונדה נמכרו מעל ל-85 אלף יחידות של האפריקה מאז 2016.

    הונדה CRF1100L אפריקה טווין ואדוונצ'ר ספורט דגמי 2024
    הונדה CRF1100L אפריקה טווין ואדוונצ'ר ספורט דגמי 2024

    לפני כן, מנוע הטווין המקבילי בנפח 1,084 סמ"ק, ממשיך להפיק 102 כ"ס (75 קילוואט) ב-7,500 סל"ד, כאשר נתון המומנט גדל ב-7% ומגיע מוקדם יותר וכעת עומד על 11.4 קג"מ שמגיעים ב-5,500 סל"ד לעומת 6,250 סל"ד בדור הקודם. יחס הדחיסה גדל מ-10.1:1 ל-10.5:1 ביחד עם עדכונים לתזמון השסתומים, פתחי היניקה, מערכת ניהול המנוע ומפלט חדש – הכל לטובת המומנט המוגבר וחידוד העמידה בתקנות זיהום האוויר והשקט. גיר ה-DCT האוטומטי עודן במעבר בין ההילוך הראשון והשני ובהחלפות במהלך הטיה. נתון מעניין, אגב, הוא הבחירה של 49% מלקוחות ה-CRF1100L אפריקה טווין בגיר האוטומטי ולא פחות מ-71% מלקוחות האדוונצ'ר ספורט שבוחרים באופציה הזאת.

    שתי הגרסאות מקבלות פיירינג חזית חדש לשנת 2024, גרפיקה מעודכנת כמובן ומשקף חדש וגדול יותר, שמתכוונן בחמישה גבהים.

    על-מנת לבדל את שתי הגרסאות מייעדים בהונדה את האפריקה טווין בגרסה הרגילה לטובת מי שבוחר לרדת יותר לשטח. לראשונה ניתן לבחור גם את הבולמים החשמליים הסמי-אקטיביים של שוואה (ה-EERA, ר"ת Electronically Equipped Ride Adjustment) שהוצעו עד-כה רק בגרסת האדוונצ'ר ספורט היקרה יותר, גם בגרסה הרגילה. אלו מציעים חמישה מצבי שיכוך הניתנים לשינוי דרך בקרת השליטה: רך, בינוני, קשה, שטח ואישי. החישוק הקדמי נשאר על 21″, ללא פנימית (טיובלס) עם אופציה לצמיגי מצלר קארו סטריט או מישלין אנקי ווילד (Anakee Wild) המתאימים יותר לשטח.

    גרסת האפריקה טווין אדוונצ'ר ספורט (בה בוחרים 56% מהרוכשים באירופה) הופכת למותאמת יותר למי בוחר לבלות את זמנו יותר בכביש ובשטח קל כדוגמת שבילים כבושים. לטובת כך החישוק הקדמי מוחלף ל-19″ עם צמיג במידת 110/80. השינוי גורר קיצור מהלכי הגלגלים בשני הקצוות ב-20 מ"מ, ובהתאם את מרווח הגחון ואת גובה המושב, שיורד כעת ל-855 מ"מ. אגב מושב, באדוונצ'ר ספורט יש מושב חדש ועבה יותר לטובת הנוחות בכביש.

    האדוונצ'ר ספורט מקבל חישוק קדמי "19 ושינויים נוספים לרכיבת כביש
    האדוונצ'ר ספורט מקבל חישוק קדמי "19 ושינויים נוספים לרכיבת כביש

    גרסת האדוונצ'ר ספורט נבדלת גם באבזור הרב לטובת רכיבות למרחקים ארוכים אדוונצ'ר סטייל. כמו לדוגמה מיכל דלק ענק בנפח 24.8 ליטרים המספיק לטווח של כ-500 ק"מ, פיירינג קדמי יוקרתי יותר הכולל פאנלים מאלומיניום ופנסי LED המתכווננים לפנייה, ידיות מחוממות, מגני ידיים רחבים, שקע אביזרים, סבל אחורי ותושבות לארגזי צד, וכן מגן מנוע גדול יותר. כל זה לפני האפשרות לאבזר בכבדות דרך קטלוג השיפורים ותוספות.

    מבחינת אלקטרוניקה אין שינוי, כשהאפריקה טווין ממשיך להציע מצערות חשמליות עם 6 מצבי רכיבה – מהם 4 מתוכנתים מראש – תיור, אורבן, עפר ושטח – ו-2 נוספים ניתנים לתכנות אישי של הרוכב למצבים שונים. כל אחד מהמצבים שולט על כוח המנוע (3 מצבים), בלימת המנוע (3 מצבים), ה-ABS, ובגיר האוטומטי DCT גם על ה-G-Switch (רגישות חיבור הקלאץ'), כשהשליטה על בקרת האחיזה ובקרת הווילי הן נפרדות ולא תלויות במצב הרכיבה. השליטה מתבצעת גם דרך מסך מגע ה-TFT בגודל 6.5″, עם קישורית לסלולר כמובן, ומסך LCD קטן נוסף מתחתיו, לנתונים ונורות נוספים.

    הדור הרביעי של ההונדה CRF1100 אפריקה טווין מפצל לראשונה את המשתמשים לטובת מי שבוחר בעיקר בשימושי כביש ואלו שמעדיפים לרדת גם לשטח מאתגר יותר. באופן טבעי תהיה כאן התייקרות במחירים, שלדעתנו תהיה משמעותית לעומת הדור הנוכחי. האופנועים יגיעו לאירופה במהלך חודש נובמבר ובהמשך לישראל.

  • הונדה NT1100 במבחן דרכים

    הונדה NT1100 במבחן דרכים

    • יתרונות: מנוע גמיש ויעיל, תיבת הילוכים DCT, אלקטרוניקה מתקדמת, ידידותי מאוד לרוכב, אופציות אבזור מקורי
    • חסרונות: מיגון רוח לא מתכוונן תוך כדי רכיבה
    • שורה תחתונה: ה-NT1100 הוא אופנוע תיור הבנוי על בסיס האפריקה טווין, והוא יעיל וידידותי במיוחד
    • מחיר: 98,231 ש"ח לגיר רגיל, 105,231 ש"ח ל-DCT
    • מתחרים: ב.מ.וו F 900 XR, ימאהה טרייסר 900דוקאטי מולטיסטראדה V2
    הונדה NT1100
    הונדה NT1100

    אם נצטרך להגדיר את המושג 'אופנוע הונדאי טיפוסי' בשתי מילים, נגיד 'יעיל וידידותי'. ההונדה NT1100 החדש הוא בדיוק כזה – אופנוע הונדאי טיפוסי, יעיל וידידותי.

    בהונדה רוכבים על ההצלחה האדירה של האפריקה טווין – שם מהעבר שעשה קאמבק ב-2016, שודרג מעט ב-2018, וביצע קפיצת מדרגה גדולה ב-2020 – ובונים על בסיסו את ה-NT1100. אבל בעוד האפריקה טווין הוא אדוונצ'ר גדול עם חישוקי "21 ו-"18 ועם ייעוד מובהק לרכיבת שטח, ה-NT1100 מגיע עם חישוקי וצמיגי כביש טהורים, והוא מיועד לרכיבת תיור – מרכיבה יום-יומית קצרה וזריזה ועד ארוכת טווח עם מורכבת וציוד.

    הפלטפורמה המכאנית נשענת בכבדות על ה-CRF1100L אפריקה טווין – אופנוע שכשיצא בשנת 2020 אמרנו עליו שהוא האופנוע היפני המתקדם ביותר טכנולוגית. מאז החברות היפניות המשיכו להתקדם, אבל האפריקה נשאר טכנולוגי.

    המנוע הוא טווין מקבילי בנפח 1,084 סמ"ק, המפיק 102 כוחות סוס ויותר מ-10.5 קג"מ – מה שאומר מנוע גמיש מאוד עם כוח כבר בתחתית הסל"ד הנמוך. השלדה זהה גם היא לזו של האפריקה טווין, ומערכת המתלים דומה מאוד לזו של האפריקה, רק עם מהלכי גלגל קצרים יותר לטובת שימושי כביש טהורים. החישוקים כאמור בקוטר "17, יצוקים, עם צמיגי כביש-ספורט-תיור עליהם, וגם מערכת הבלמים זהה לזו של האפריקה.

    אופנוע כביש-תיור על פלטפורמת האפריקה טווין - כולל גיר ה-DCT
    אופנוע כביש-תיור על פלטפורמת האפריקה טווין – כולל גיר ה-DCT

    מערכות האלקטרוניקה המודרניות הרבות עברו מהאפריקה טווין והותאמו לעבודת כביש. למשל, מצבי הרכיבה השונים לא כוללים מצב שטח, ובקרות האחיזה וה-ABS להטיה מותאמים לכביש. גם מסך ה-TFT הצבעוני הגדול כמעט זהה לזה של האפריקה, ושונה בתצוגה רק בפרמטרים של הכביש והשטח. כך או כך, ה-NT1100 מציע חבילה טכנולוגית מתקדמת ואיכותית, וזה כמעט כדרך אגב – בלי הרבה רוח אלא כעניין שבשגרה.

    על הפלטפורמה המכאנית בנו בהונדה עבודת גוף של אופנוע תיור, עם מושבים רחבים ונוחים, עם תושבות לנשיאת מטען, עם פיירינג קדמי בעל עיצוב הונדאי של התקופה האחרונה – כולל כמובן צמד פנסי LED – ועם מיגון רוח מסיבי לרכיבות מהירות וארוכות.

    עניין חשוב ביותר שהולך עם הונדה כבר יותר מעשור הוא גיר ה-DCT (ר"ת Dual Clutch Transmision) – תיבת הילוכים האוטומטית כפולת המצמדים של הונדה. נסביר בקצרה שלהילוכים 1, 3 ו-5 יש מצמד משלהם, ולהילוכים 2, 4 ו-6 מצמד נוסף. המערכת משלבת להילוך ראשון, בפתיחת מצערת משחררת את הקלאץ' והנסיעה מתחילה. במקביל ההילוך השני משתלב, אולם המצמד שלו מנותק. בבוא הרגע המצמד של ההילוך הראשון יתנתק והמצמד של ההילוך השני יתחבר, וכך למעשה יעבור הילוך. בשלב הבא המערכת תשלב להילוך השלישי, שימתין לתור המצמד שלו להשתלב.

    אחרי ההסבר הטכני הקצר נספר שתיבת ה-DCT של הונדה כוללת מצב D ושלושה מצבי ספורט, וכן מצב M שבו ניתן להעביר הילוכים 'ידנית' מהכפתורים שעל בית המתגים השמאלי (דבר שניתן גם בכל אחד מהמצבים האוטומטיים). בשורה התחתונה, התיבה הזו הגיעה לבשלות מלאה, היא חלקה לחלוטין ללא נקישות או דפיקות וההילוכים עוברים חלק, ולא פחות חשוב – ברוב המכריע של המצבים התיבה קלעה בדיוק לתזמון שבו אנחנו היינו מעבירים את ההילוך. לא פחות ממדהים!

    מסך TFT הכולל חיבור לאנדרואיד או לאייפון
    מסך TFT הכולל חיבור לאנדרואיד או לאייפון

    תיבת ה-DCT מפנה את ידית שמאל ואת רגלית שמאל, ומשחררת לחלוטין את הרוכב מהצורך בלעבוד עם הילוכים. זה נשמע אולי אנטי-רכיבה, אבל המערכת הזו עובדת כמו קסם ומאפשרת לרוכב יותר ריכוז ברכיבה עצמה. כיום, אגב, יותר מ-50% מהאפריקה טווין ומה-NT1100 שנמכרים בישראל ובעולם – הם בעלי תיבת אוטומטית DCT. נתון בלתי נתפס כשמדברים על אופנוענים.

    המנוע, כאמור, גמיש מאוד ומספק את כל הכוח שצריך כבר בסל"ד רצפה. בשילוב עם התיבה המוצלחת, שמביאה לידי ביטוי את גמישות המנוע, מדובר ביחידת הנעה מעולה – יעילה מאוד, שמסוגלת להאיץ את ה-NT מהר מאוד דרך ההילוכים, או לשייט בנינוחות במהירויות גבוהות עם בקרת השיוט.

    ה-NT1100 הוא אופנוע כביש-תיור, וככזה הוא אמור להיות נוח – והוא אכן נוח. המושב רחב ותומך, סביבת הרוכב מרווחת, והכידון הרחב מפשק את ידי הרוכב. גם למורכבת שלנו הייתה איכות חיים גבוהה מאחור – עם  שפע של מקום על מושב המורכב ועם נוחות גבוהה מאוד.

    מיגון הרוח מתכוונן, כשבמצב הגבוה ביותר הוא מגן היטב מהרוח ויוצר בועת ואקום סביב קסדת הרוכב, שמצידה יוצרת שקט. החיסרון של המשקף הוא שכדי להוריד ולהעלות אותו צריך לרדת מהאופנוע, לגשת לחלקו הקדמי של המשקף ולכוון אותו ידנית. אפשרי, אבל לחלוטין לא תואם את רוח התקופה.

    אופנוע נוח, יעיל וידידותי במיוחד
    אופנוע נוח, יעיל וידידותי במיוחד

    מבחינת התנהגות דינמית אפשר לומר על ה-NT1100 שהוא 'משעמם' – וזו לחלוטין מחמאה. 'משעמם' – כי הכל קורה בו בקלות וביעילות, ללא דרמות ובלי מאמץ. ההיגוי קל מאוד ואינטואיטיבי, היציבות גבוהה כך שבפיתולים יש ביטחון רב, המתלים מספיק רכים כדי לספוג היטב את בעיות האספלט הישראלי ולספק נוחות רכיבה גבוהה, אבל לא רכים מדי כך שהם שומרים על היציבות, וכל הפעולות כאילו מתבצעות באופן אוטומטי. עד כדי כך ה-NT1100 אופנוע הונדאי טיפוסי – יעיל וצפוי.

    איכות הבנייה והגימור בסך הכל טובה למדי, כפי שאנחנו רגילים מהאופנועים של הונדה. זה לא אופנוע פרימיום סופר-איכותי ויוקרתי, אבל זה אופנוע טוב שבנוי טוב ומגומר טוב, והחבילה הכללית היא טובה מאוד – בעיקר החיבור של הכל למכונה אחת אינטואיטיבית וקלה לרכיבה, כשכאמור תוספת הגיר האוטומטי מבורכת לחלוטין והופכת את ה-NT1100 לאפילו קל יותר לרכיבה.

    התרשמנו גם ממערכות האלקטרוניקה המתקדמות. ל-NT1100 יש 6 מצבי רכיבה, שבכל אחד מהם ניתן לכוון כמה רמות של כוח מנוע, של בקרת אחיזה, של התערבות ה-ABS ושל בלימת המנוע. אם עד לפני שנים ספורות המערכות האלה היו מגיעות רק באופנועי פרימיום יקרים, הרי שהיום הן מגיעות גם באופנועים פחות יקרים, וכאמור בלי דרמות – הן פשוט שם, והם עובדות מצוין ומספקות לרוכב מעטפת הגנה אלקטרונית.

    מחירו של ה-NT1100 עומד על 98 אלף ש"ח. מחיר לא רע בהתחשב בכמות הטכנולוגיה והאלקטרוניקה שמקבלים פה. הוא מיועד לרוכבים בוגרים יותר, המחפשים אופנוע שפחות ירגש אותם בביצועים עוצרי נשימה ויותר יהיה יעיל ויעשה את העבודה בשבילם, כך שהם יוכלו ליהנות יותר מהרכיבה. אופנוע שיהיה ידידותי ויעיל, או במילים אחרות – הונדאי טיפוסי.

    מפרט טכני

    [table id=194 /]

  • הונדה: האפריקה טווין מתעדכן קלות ל-2023

    הונדה: האפריקה טווין מתעדכן קלות ל-2023

    ההונדה CRF1100L אפריקה טווין מקבל לשנת 2023 שינויי גרפיקה בלבד.

    הונדה CRF1100L אפריקה טווין דגם 2023
    הונדה CRF1100L אפריקה טווין דגם 2023

    סדרת האפריקה טווין המודרנית היא רבת המכר של הונדה בסגמנט האדוונצ'ר בפרט ובהיצע הכללי בכלל. כזכור, בשנת 2016 החזירו בהונדה את השם האייקוני 'אפריקה טווין'. ה-CRF1000L – אדוונצ'ר גדול ואיכותי בעל יכולות שטח אמיתיות וטובות – כבש את סגמנט האדוונצ'ר, כשבמקביל הציגו בהונדה גם גרסת DCT אוטומטית. בשנת הדגם 2018 האפריקה טווין עודכן וקיבל מתיחת פנים יחד עם תוספות אלקטרוניקה כמו מצערות חשמליות. בהונדה הציגו גם את האדוונצ'ר ספורט, גרסה גדולה יותר ומאובזרת יותר שמיצבה את עצמה מול גרסאות העילית של היצרנים האירופאיים. לשנת 2020 הציגו בהונדה גרסה חדשה לגמרי בנפח 1100 סמ"ק, ובחרו להוסיף גרסת פרימיום נוספת עם מערכת הבולמים החשמלית הסמי-אקטיבית החדשה של שוואה – לראשונה באופנוע של הונדה – כשגם אותה ניתן לבחור עם הגיר הרגיל או ה-DCT, שאחראי על 51% מהמכירות. כלומר, על כל גרסה עם גיר רגיל נמכר גם אחד עם DCT.

    לאחר שלשנת 2022 השינויים העיקריים התמקדו בגרפיקה חדשה ובולטת יותר, בחרו בהונדה לא לגעת באפריקה גם לשנת 2023, למעט גרפיקה שונה לגרסה הרגילה ולספורט. המנוע הוצג כבר ל-2020 כשהוא מותאם לתקנות יורו 5, ולכן לא בוצעו שינויים בטווין המקבילי בנפח 1,084 סמ"ק, והוא מפיק 102 כ"ס (75 קילוואט) ב-7,500 סל"ד ו-10.7 קג"מ (105Nm) ב-6,250 סל"ד.

    משפחת ההונדה CRF1100L אפריקה טווין לשנת 2023 צפויה להגיע לישראל בקרוב, כאשר לא צפויים שינויים במחיר.

    23YM AFRICA TWIN ADVENTURE SPORTS
    23YM AFRICA TWIN ADVENTURE SPORTS
    23YM AFRICA TWIN ADVENTURE SPORTS
    23YM AFRICA TWIN ADVENTURE SPORTS
    23YM AFRICA TWIN
    23YM AFRICA TWIN
    23YM AFRICA TWIN
    23YM AFRICA TWIN
    23YM AFRICA TWIN
    23YM AFRICA TWIN
  • הונדה: אופנוע ספורטיבי עם מנוע האפריקה טווין

    הונדה: אופנוע ספורטיבי עם מנוע האפריקה טווין

    בהונדה הציגו טיזר של קפה רייסר ספורטיבי חדש בשם HAWK 11, עם מנוע הטווין מקבילי בנפח 1,084 סמ"ק שמגיע מהאפריקה טווין.

    בהונדה יציגו ב-20 במרץ דגם רביעי עם מנוע הטווין מקבילי בנפח 1,084 סמ"ק לאחר ה-CRF1100L אפריקה טווין, ה-NT1100 והרבל 1100. הדגם החדש, לפי הטיזר, יגיע עם חצי פיירינג ובסגנון קפה רייסר ספורטיבי, והוא יקבל את השם HAWK 11. החלק הקדמי בטיזר מזכיר מאוד את החלק הקדמי של ה-CB4 Interceptor, שהוצג כקונספט בתערוכת מילאנו 2019 (בתמונה בתחתית הידיעה)

    המנוע, כאמור, יהיה טווין מקבילי בנפח 1,084 סמ"ק עם 102 כ"ס ב-7,250 סל"ד ו-10.3 קג"מ ב-6,250 סל"ד. לא ברור בשלב זה אם תהיה גרסה מקבילה עם גיר אוטומטי (DCT) – כמו בדגמי האדוונצ'ר, הספורט-תיור והקרוזר.

    השלדה אמורה להיות זהה לשני הדגמים, עם חלק מרכזי מפלדה ושלדת זנב מאלומיוניום. כמו ב-NT1100, ההוק 11 יגיע עם צמד חישוקי 17″ וצמיגי כביש במידות 120/70 ו-180/55. קרוב לוודאי שחבילת האלקטרוניקה המלאה תהיה גם כאן, כאשר מדובר על בקרת אחיזה להטיה ב-3 מצבי התערבות, ABS להטיה, מצערות חשמליות עם שלושה מצבי ניהול מנוע – אורבן, גשם ותיור, ועוד שני מצבים אישיים. בנוסף יהיו בקרת שיוט, בקרת ווילי ב-3 מצבים, פנסי LED היקפיים עם אורות יום DRL, מסך TFT בגודל 5″ עם ממשק לסלולר ועם Apple CarPlay ו-Android Auto, ביטול מאותתים אוטומטי, וכן שקע טעינה 12V ושקע נוסף USB.

    ההונדה הוק 11 יוצג בתערוכת אוסקה שתתקיים ב-21-19 במרץ, ואנחנו נביא את כל הפרטים מיד כשיתפרסמו.

    CB4 Interceptor קונספט
    CB4 Interceptor קונספט
  • אופנוע השנה של 2021 – אדוונצ'רים

    אופנוע השנה של 2021 – אדוונצ'רים

    שנת 2021 עומדת להסתיים, וזה הזמן לבחור את אופנוע השנה. הפעם הבחירה היא שלכם הגולשים: בכל יום בשבוע הקרוב נעלה כאן סקר ובו אפשרויות בחירה על מספר כלים בקטגוריה ספציפית. אתם תבחרו באופנוע שלדעתכם הוא אופנוע השנה, מכל סיבה שלא תהיה – הכי טוב, הכי חשוב, הכי טכנולוגי, הכי משפיע או הכי מדבר אליכם. את התוצאות בכל הקטגוריות נפרסם כאן בפול גז, אבל גם בתכנית סיום השנה של 'עולם הרכב' בערוץ ספורט 5. 

    קטגוריית אדוונצ'רים

    אחת הקטגוריות החמות בישראל – ולא בכדי. אופנועי אדוונצ'ר מודרניים משלבים יכולות כביש ארוכות טווח של נוחות ושל ביצןעים, עם יכולות שטח ברמה זו או אחרת, ובנוסף הם מעולים ככלי תחבורה יום-יומיים. מאפיינים אלו עונים על הצורך של ישראלים רבים.

    המתמודדים בקטגוריה זו הם האדוונצ'רים הפופולריים בישראל – בינוניים וגדולים. החל מהב.מ.וו R1250GS הסופר-פופולרי, עבור בימאהה טנרה 700, שכבר שנתיים וחצי להיט מכירות ענק בארץ, ק.ט.מ 890 אדוונצ'ר על צמד דגמיו, הונדה CRF1100L אפריקה טווין המצוין, ההוסקוורנה נורדן 901 שהושק לאחרונה ובנוי על בסיס הק.ט.מ 890 אדוונצ'ר, ועד ק.ט.מ 1290 סופר אדוונצ'ר, דוקאטי מולטיסטראדה V4; טריומף טייגר 1200 והארלי דיווידסון פאן אמריקה שהגיעו לאחרונה ארצה.

    אז מיהו לדעתכם אופנוע השנה של 2021? הצביעו והשפיעו!

    [IT_EPOLL id="176997"][/IT_EPOLL]

  • הונדה חושפת את ה-NT1100 – ספורט-תיור חדש

    הונדה חושפת את ה-NT1100 – ספורט-תיור חדש

    בהונדה חושפים היום (ה') את ה-NT1100 – אופנוע ספורט-תיור חדש אשר חולק עם ה-CRF1100L אפריקה טווין את המנוע, המכלולים והאלקטרוניקה, ועם מתלים בעלי מהלך קצר יותר וגלגלי כביש בקוטר "17 אשר ממקדים את הכלי לטובת יכולות הכביש והתיור.

    בהונדה חושפים דגם ספורט תיור חדש בשם NT1100. מדובר על דגם ספורט-תיור חדש שלמעשה מחליף את ה-VFR800X ,VFR800 קרוסראנר ו-VFR1200X קרוסתורר – שלושתם נחתכו לאחרונה במעבר לתקנות יורו 5 לפליטת מזהמים. אך מעבר לכך הוא גם מהווה גרסת כביש מלאה לדגם האדוונצ'ר, ה-CRF1100L אפריקה טווין, שבעזרת גלגלי 21″ ו-18″ לטובת יכולות השטח, משלם מחיר בכביש. ה-NT1100 החדש בא לטובת אותם רוכבים שמעוניינים רק ביכולות תיור ארוכות טווח בכביש.

    2022 HONDA NT1100
    2022 HONDA NT1100

    המנוע בבסיסו זהה לחלוטין לאפריקה טווין, כלומר מנוע טווין מקבילי בנפח 1,084 סמ"ק עם 102 כ"ס ב-7,250 סל"ד ו-10.3 קג"מ ב-6,250 סל"ד. כצפוי, תהיה גרסה מקבילה עם גיר אוטומטי (DCT).

    השלדה זהה לחלוטין לאפריקה טווין, עם חלק מרכזי מפלדה ושלדת זנב מאלומיוניום. השינוי העיקרי מתבטא בצמד חישוקי 17″ עם צמיגי כביש במידות 120/70 ו-180/55, ובבולמי שוואה בעלי מהלך מקוצר, כשכאן מדובר על 150 מ"מ מהלך לכל גלגל לעומת 230 מ"מ באפריקה טווין. לבולם האחורי יש ברז חיצוני לכיוון עומס קפיץ. גובה המושב יורד גם כן ונמצא ב-820 מ"מ (לעומת 850 מ"מ באדוונצ'ר). המשקף הקדמי מתכוונן בחמישה מצבים. מיכל הדלק מכיל 20 ליטר, כאשר המשקל המלא עומד על 238 ק"ג בדגם הידני ועוד 10 ק"ג ב-DCT.

    מבחינת אלקטרוניקה נמצא כאן בקרת אחיזה להטיה ב-3 מצבי התערבות, ABS בהטיה, מצערות חשמליות עם שלושה מצבי ניהול מנוע – אורבן, גשם ותיור, ועוד שני מצבים אישיים. יש בקרת שיוט, בקרת ווילי ב-3 מצבים, פנסי LED היקפיים עם אורות יום DRL, מסך TFT בגודל 5″ עם ממשק לסלולר ועם Apple CarPlay ו-Android Auto, ביטול מאותתים אוטומטי, וכן שקע טעינה 12V ושקע נוסף USB.

    העיצוב מודרני לחלוטין, מזכיר במידה רבה את הקו העיצובי של ה-X-ADV החדש – בעיקר בחזית, כשהעיקרון המנחה היה פונקציונליות לתיור ארוך טווח.

    ההונדה NT1100 החדש צפוי להגיע לישראל, כאשר מחירו באירופה צפוי להיות נמוך מאשר האפריקה טווין. הונדה יציעו דגמים במספר דרגות אבזור וכן קטלוג אביזרים מכובד לטובת יכולות התיור והספורט, כמו לדוגמה קוויקשיפטר לשני הכיוונים שנמצא ברשימת התוספות, וכן חבילות אבזור אורבן (ארגז אחורי 50 ל' עם תיק פנימי, משענת נוחה לגב, תיק מיכל 4.5 ל'), תיור (מושבים נוחים, רגליות מורכב נוחות, פנסי ערפל) ומסע (ארגז אחורי 50 ל' עם תיק פנימי, משענת נוחה לגב, תיק מיכל 4.5 ל', מושבים נוחים, רגליות מורכב נוחות, פנסי ערפל) מועד הגעה ומחיר בישראל טרם נמסרו.

  • הונדה מעדכנת את האפריקה טווין ל-2022

    הונדה מעדכנת את האפריקה טווין ל-2022

    לשנת 2022 מקבל ההונדה CRF1100L אפריקה טווין גרפיקה חדשה, מנשא אחורי מקורי ושיפורים למערכת ה-DCT האוטומטית.

    בהונדה הציגו את סדרת האפריקה טווין המודרנית בשנת 2016 והחזירו לתודעה את השם 'אפריקה טווין'. ה-CRF1000L – אדוונצ'ר גדול ואיכותי בעל יכולות שטח אמיתיות וטובות – כבש את עולם ההרפתקנים, כשבמקביל לגרסה הרגילה שחררו בהונדה גם גרסת DCT אוטומטית. לשנת 2018 האפריקה טווין עודכן וקיבל מתיחת פנים וגם כמה שדרוגים טכנולוגיים כמו מצערות חשמליות. במקביל נולד אח חדש – האדוונצ'ר ספורט, גרסה גדולה יותר ומאובזרת יותר שמיצבה את עצמה מול גרסאות העילית של היצרנים האירופאיים. לשנת 2020 הציגו בהונדה גרסה חדשה לגמרי בנפח 1100 סמ"ק, ובחרו להוסיף גרסת פרימיום נוספת עם מערכת הבולמים החשמלית הסמי-אקטיבית החדשה של שוואה – לראשונה באופנוע של הונדה – כשגם אותה ניתן לבחור עם הגיר הרגיל או ה-DCT.

    הונדה CRF1100L אפריקה טווין וגרסת האדוונצ'ר ספורט ל-2022
    הונדה CRF1100L אפריקה טווין וגרסת האדוונצ'ר ספורט ל-2022

    בהונדה חושפים כעת את גרסת 2022 המעודכנת, כשהשינוי הבולט ביותר הוא הגרפיקה החדשה, וכן גרסה לדגם הבסיס הנקראת ‘Big Logo’ (לוגו גדול) – על-שם הלוגו הגדול כמובן. בנוסף, גרסאות האדוונצ'ר ספורט יגיעו עם מנשא אחורי מקורי מהיצרן. האדוונצ'ר ספורט גם מקבל גרסת צבע ייעודית בשם ‘Cracked Terrain’ (שטח מחורץ) ומשקף קדמי מתכוונן בחמישה מצבים (לדגם הקודם לא הייתה אופציה לכיוון גובה).

    גיר ה-DCT האוטומטי קיבל עדכוני תוכנה להילוך הראשון והשני על-מנת לעדכן את התגובה בהילוכים האלו. המנוע הוצג כבר ל-2020 כשהוא מותאם לתקנות יורו 5, ולכן לא בוצעו שינויים בטווין המקבילי בנפח 1,084 סמ"ק, והוא עדיין מספק 102 כ"ס (75 קילוואט) ב-7,500 סל"ד ו-10.7 קג"מ (105Nm) ב-6,250 סל"ד.

    משפחת ההונדה CRF1100L אפריקה טווין המחודשת לשנת 2022 צפויה להגיע לישראל בקרוב. מחירים עדכניים טרם נמסרו.

    צפו בהונדה אפריקה טווין החדש ל-2022:

    צפו בהונדה אפריקה טווין אדוונצ'ר ספורט החדש ל-2022:

  • בקרוב: הונדה NT1100 – ספורט-תיור חדש

    בקרוב: הונדה NT1100 – ספורט-תיור חדש

    בהונדה הגישו לאישור שם דגם חדש בשתי גרסאות: ה-NT1100 – שצפוי להיות דגם ספורט-תיור חדש מהכנף האדומה וישתמש במנוע הטווין מקבילי שמגיע מהאפריקה טווין. 

    מסמכי פטנט שהוגשו לאישור באירופה חושפים שהונדה יציגו בקרוב שני דגמים חדשים: NT1100A ו-NT1100D. על-פי כל ההערכות מדובר על דגם ספורט-תיור חדש שלמעשה יחליף את ה-VFR800X ,VFR800 קרוסראנר ו-VFR1200X קרוסתורר – שלושתם נחתכו לאחרונה במעבר לתקנות יורו 5 לפליטת מזהמים.

    המנוע בדגם החדש יילקח מה-CRF1100L אפריקה טווין, כלומר מנוע טווין מקבילי בנפח 1,084 סמ"ק עם 102 כ"ס. אנו צופים שנתונים אלו ישמרו בדגם החדש (בניגוד לגרסה המוחלשת ברבל 1100). שני הדגמים מתארים גרסה עם שישה הילוכים ובולמים מכניים (NT1100A) ואילו השני (NT1100D) מתייחס לדגם עם גיר אוטומטי (DCT) ואופציה לבולמים חשמליים סמי-אקטיביים.

    מבחינת מידות, הדגם הידני יגיע עם בסיס גלגלים של 1,535 מ"מ, אורך של 2,240 מ"מ, גובה כללי של 1,360 מ"מ, ומשקל מלא שיעמוד על 238 ק"ג. גרסת ה-DCT תשקול 10 ק"ג נוספים, וגובה של 1,575 מ"מ מרמז על משקף גבוה יותר. סביר להניח שמסך ה-TFT, פנסי ה-LED וכמובן מערכות האלקטרוניקה והבטיחות המתקדמות מהאפריקה טווין יגיעו גם ל-NT1100 החדש.

    התמונות המופיעות כאן לקוחות מאילוסטרציה שפורסמה על-ידי המגזין היפני AUTOBY בשנה שעברה (עוד כשחשבו ששם הדגם יהיה CB1100X), וברור שעיצוב הדגם הסופי לא יהיה בדיוק כך, אך הוא עשוי לספק כיוון מסוים. ה-NT1100 החדש צפוי לצאת לקראת סוף השנה הנוכחית או תחילת שנת 2022.

    אילוסטרציית המחשב של AUTOBY
    אילוסטרציית המחשב של AUTOBY
    אילוסטרציית המחשב של AUTOBY
    אילוסטרציית המחשב של AUTOBY
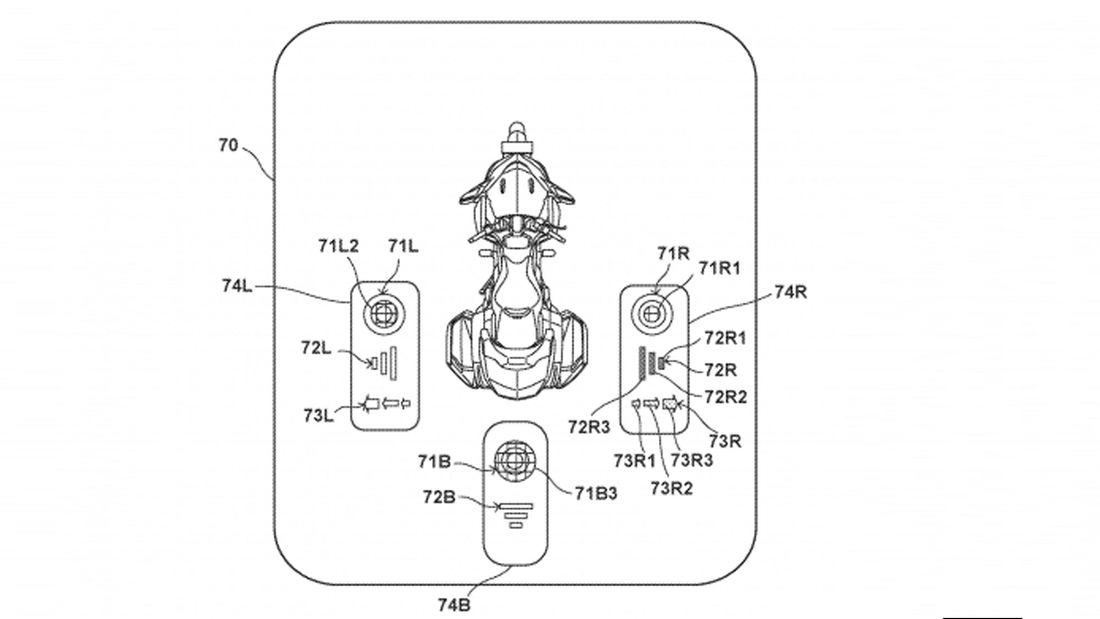
  • הונדה: בקרוב מערכת רדאר עם מצלמות

    הונדה: בקרוב מערכת רדאר עם מצלמות

    הונדה יהיו הבאים בתור להצטרף ליצרניות המציעות מערכות התראה ושיוט מבוססות רדאר, כאשר כאן יצורפו מצלמות היכולות לקרוא אורות בלימה ולשנות את אופי גיר ה-DCT.

    תרשימי פטנט שפורסמו חושפים שבהונדה קרובים לפיתוח של מערכת התראה ושיוט מבוססת רדאר – פרי פיתוח עצמי ככל הנראה. מערכת הרדאר כוללת חיישנים בקדמת האופנוע, שמזהים את המרחק והפרשי המהירויות בין האופנוע לבין כלי הרכב מלפנים ומפעילים התראה ואת מערכת הבלימה על מנת להאט או לעצור את האופנוע. הטכנולוגיה הנוכחית של מצערת אלקטרונית ו-ABS מנוהל מחשב ומוגבר חשמלית-הידראולית מאפשרת, יחד עם החיישנים, גם את האופציה לבקרת שיוט אדפטיבית, בה המחשב מאיץ או מאט את האופנוע בהתאם לתנועה מקדימה – ללא התערבות הרוכב. חיישנים אחוריים מייצרים התראה על רכב שעוקף או נוסע צמוד מדי. בחנו מערכת דומה בדוקאטי מולטיסטראדה V4 החדש והתרשמנו מבשלות המערכת.

    בהונדה מצרפים שני פיצ'רים מעניינים על הנייר. האחד מוסיף מצלמות שיכולות להגיב לאורות בלם של הרכבים מלפנים, והשני מחבר את מערכת הרדאר ל-IMU, שגם יודע לשלוט על גיר ה-DCT האוטומטי המוצע בגרסאות מסוימות ולהתאים את אופי ההילוך המשולב לתנועה מלפנים.

    על-פי התרשימים, בהונדה בוחנים את המערכת על הגולדווינג הגדול ועל האפריקה טווין, כאשר המערכות צפויות להופיע כאופציה בדגמי 2022 של הכנף האדומה.

    Honda Radar Patent (1)

    Honda Radar Patent (2)

    Honda Radar Patent (3)

    Honda Radar Patent (4)

  • הונדה CRF1100L אפריקה טווין DCT במבחן

    הונדה CRF1100L אפריקה טווין DCT במבחן

    צילום: אופק דנון

    • יתרונות: גמישות והתנהגות מנוע, התנהגות דינמית ומתלים, יכולות שטח, צליל מנוע
    • חסרונות: מסך מסורבל מעט, מיגון רוח, אין ידיות מורכב, תפעול ידני לא נוח ל-DCT
    • שורה תחתונה: האפריקה טווין DCT הוא אדוונצ'ר איכותי ושלם עם יכולות כביש ושטח טובות מאוד המקבלות ערך מוסף בזכות הגיר האוטומטי
    • מחיר: 105,900 ש"ח ל-CRF1100L ו-115,900 אלף ש"ח ל-DCT
    • מתחרים: אין

    צפו בווידאו:

    צילום ועריכה: אביעד אברהמי

    סדרת האפריקה טווין המודרנית הוצגה בשנת 2016 והחזירה לתודעה את השם 'אפריקה טווין'. ה-CRF1000L – אדוונצ'ר גדול ואיכותי בעל יכולות שטח אמיתיות וטובות – כבש את עולם ההרפתקנים, כשבמקביל לגרסה הרגילה שחררו בהונדה גם גרסת DCT אוטומטית. לשנת 2018 האפריקה עודכן וקיבל מתיחת פנים וגם כמה שדרוגים טכנולוגיים כמו מצערות חשמליות. במקביל נולד אח חדש – האדוונצ'ר ספורט, גרסה גדולה יותר ומאובזרת יותר שמיצבה את עצמה מול גרסאות העילית של היצרנים האירופאיים. עד כאן ארבע גרסאות של אופנוע אחד.

    לשנת 2020 הציגו בהונדה גרסה חדשה לגמרי לדגם האדוונצ'ר האייקוני שכבר חוגג 32 שנים – לא רצופות אמנם – של הצלחה ואבולוציה. בהונדה בחרו להוסיף גרסת פרימיום נוספת עם מערכת הבולמים החשמלית הסמי-אקטיבית החדשה של שוואה – לראשונה באופנוע של הונדה. גם אותה ניתן לבחור עם הגיר הרגיל או ה-DCT.

    בעוד שאביעד רכב על כל הגרסאות בהשקה העולמית ונמרוד בהשקה המקומית, בחרנו לקחת מששת הגרסאות של האפריקה דגם ספציפי שסקרן אותנו מאוד. כשהכנו את כתבת העשור לגיר האוטומטי כפול המצמדים של הונדה, הופתענו מהנתון שכמעט כל רוכב שני שרכש את הדור הקודם של האפריקה בחר בגיר ה-DCT. כבר בחנו את דגם 2016 לעומק באתר, אולם באופן אישי לא הסתדר לי למה לבחור באופנוע אוטומטי, ועוד לשטח. לא רק זה, גם התגובות מסביב על קונספט מוזר שכזה נעו בין גועל לאי-אמון. הסקרנות ניצחה ובחרנו לדגום את הגרסה המותאמת יותר לשטח מליין הדגמים ולהתקיל את האפריקה ואת הגיר האוטומטי בעיקר בשטח.

    הונדה CRF1100L אפריקה טווין - גרסת DCT
    הונדה CRF1100L אפריקה טווין – גרסת DCT

    טרם הרכיבה יש הרבה מאוד מה לדעת על תפעול מערכות הבקרה ומסך ה-TFT, אבל באתר של הונדה העולמית יש גם סימולטור מוצלח שעוזר להבין את שלל הפונקציות במסך. יום אחד עוד נתגעגע לימים שרק מכניסים מפתח לסוויץ' ורוכבים. המושב הגיע במצב הגבוה מבין השניים (850 מ"מ לעומת 870 מ"מ) ועדיין מקבלים אופנוע שקל מאוד להגיע לקרקע איתו עם שתי רגליים. זהו, אפשר לצאת.

    ברחובות תל-אביב האפריקה נותן תחושה של הקטנוע האולטימטיבי. אין קלאץ' להתקשקש איתו, זווית הצידוד טובה מאוד ומאפשרת השתחלות לכל מקום, בולמים, בלמים, בקרות – הכל מאפשר לרוכב להתרכז ברכיבה. הגיר מחליף בעצמו בשורט-שיפטינג שמשרה רוגע, וגם עוזרת העובדה שהמנוע לא פולט חום בצורה משמעותית ומקל על ההתמודדות עם השרב של ספטמבר. סיום המטלות משאיר לי 30 דקות להגיע לירושלים, משמע נסיעה מהירה. המשקף הקצר, שמגיע בגרסת השטח שבחנו (יחד עם מיכל דלק קטן יותר וזנב מעט שונה), לא העניש יותר מדי ברכיבה. תכנון החזית של הונדה מצליח ליצור הגנת רוח מסוימת שמפחיתה את זרימת האוויר שמגיע לקסדת הרוכב. לא מושלם, אבל בהחלט נסבל. עם זאת, למי שיבחר בגרסה הזאת נמליץ על התקנת ספוילר במשקף או להתקין אחד גבוה יותר.

    תלונות נוספות: המראות גם הן התבררו כקטנות מדי, ועוד משהו ששווה לציין הוא היעדר ידיות האחיזה למורכב. במבחן הזה הרכבנו לא מעט – כמו שיעשו מרבית רוכבי האפריקה לדעתנו – והמורכבים נאלצו לחבק את הרוכב כדי לא לעוף אחורנית. הגרסאות האחרות מגיעות עם ידיות. בצד החיובי, לאפריקה פנסי LED מרשימים שמבהילים גם באור יום כל נהג שרואה אותם במראה האחורית, ובחושך מספקים תאורה מעולה.

    קוקפיט של F22
    קוקפיט של F22

    לתיבה האוטומטית חמישה מצבים – רגיל, שלושה מצבי ספורט, ומצב ידני. במצב הרגיל התיבה ממהרת להעלות הילוכים וממתינה עם הורדת הילוכים, ובכך שומרת את המנוע בתחום עבודה נמוך המוריד עומס מהמנוע ומהרוכב. במצב הזה עליתי את העליות משער הגיא לכיוון ירושלים ומצאתי את עצמי מאוכזב מעט. עד לשם השיוט היה מהיר ואיכותי, אך במצבי עלייה הדורשים האצות חזקות הגיר לא מיהר לשום מקום ולקח את הזמן בין להחליט אם להישאר באותו ההילוך או להוריד כמה. בפעמים הבאות כבר העברתי למצב ספורט, וזה פתר את הבעיה. המעבר בין המצבים, אגב, הוא קל ומהיר, ומתבצע באמצעות לחצן בצד ימין של הכידון. רק התייחסות קטנה להורדת ההילוכים בהאצה: כולם זוכרים ברכבים האוטומטים של פעם את תחושת ה'קיק דאון' – המכה שמרגישים כשהגיר מוריד מספר הילוכים בבת-אחת לפני שהוא מאיץ. זה כל-כך הגניב אותי שזה קורה באופנוע, ועזרה העובדה שיש לאפריקה צליל מפלט עמוק ונוכח, שעד לסוף המבחן לא הפסקתי לשחזר את זה.

    חזרה למרכז דרך כבישי נס הרים הבליטה את איכויות הכביש של האפריקה. הבהמה הזאת יודעת לבלום, להתקפל לפנייה ולהישאר יציבה ללא שום קושי. זה לא אופנוע ספורט, אך הקצב שניתן להפיק מאדוונצ'ר עם גלגל 21″, ששוקל 226 ק"ג הוא פשוט מדהים. מערכת הבלימה מעולה, עם עוצמה ורגש ברמה גבוהה. חברו זאת לשלל מערכות האלקטרוניקה לבלימה, האצה, ו-ווילי, יחד עם מנוע חזק, חזק מאוד אפילו למרות שהוא מפיק 'רק' 102 כ"ס, ותקבלו אופנוע כביש איכותי. מה שמרשים במנוע בכבישים אלו זה לאו דווקא הכוח, אלא הגמישות שמושכת אותו החוצה בעוצמה מכל פנייה.

    לגבי ה-DCT כאן היו שלוש בעיות: האחת, בקצבים משתנים – כמו לדוגמה אחרי קטע חם כשמאטים את הקצב בגלל תנועה – האלגוריתם נותן הרגשה שהוא לא סגור על עצמו ולא מוצא את הנוסחה שתתאים לקצב החדש. תופעה שחזרה על עצמה גם ברכיבות הנוספות שביצעתי שם היא הורדת הילוך בשיא הפנייה. לא בדיוק המקום שאתה רוצה שיקרה, וזה קרה גם במצבי הספורט השונים. אם כי לזכות האפריקה ייאמר שהוא נשאר יציב ונטוע והאופנוע לא מתנדנד בהעברת הילוכים כלפי מעלה או מטה. וזה מביא אותנו לנקודה האחרונה – התפעול הידני לא נוח. מתגי העברת ההילוכים נמצאים במערכת השליטה המסורבלת שבצד שמאל של הכידון, והם לא אינטואיטיביים מספיק לרוכב עם אצבעות עקומות. סביר להניח שאחרי פרק למידה והתרגלות המצב ישתפר.

    מצוין בשטח!
    מצוין בשטח!

    רגע לפני פרק השטח, אם כבר נגענו במערכות השליטה, אז פה הונדה קצת הגזימו. בצד שמאל יש 13 מתגים שונים וג'ויסטיק אחד. שם תשלטו על המסך, על מצבי הרכיבה, האורות, המאותתים, הצופר, ההילוכים – יותר מדי ומחייב הסטת מבט לכמעט כל פעולה. באפריקה יש מסך TFT איכותי ומסך LCD קטן מתחתיו. בשניהם יש תצוגה של מהירות הנסיעה, כשהספרות של ה-TFT מתחלפות מעט מהר יותר מאשר במסך המשני, וזה יכול להציק מעט. מרגע פתיחת הסוויץ' ועד לקבלת תמונה מלאה במסך עוברות לא פחות מאשר 20 שניות, שבהן יש הקרנה מרשימה של לוגו האפריקה ועד למסך אזהרה שמבקש מהרוכב לא להתעסק איתו בזמן רכיבה. רק אחרי שתאשרו בלחיצה את קבלת האזהרה, יתקבל מסך הרכיבה. אפשר לצאת לדרך מיידית, אך יש בזה משהו מעט מפריע. מסך המגע לא תמיד עבר בעת הלחיצה, כמו במצבים שרוצים לשנות את דרגת ההתערבות של בקרת האחיזה או של בקרת הווילי. יש מקום לשיפור בתחום הזה.

    לאפריקה תכננו פרק שטח מאתגר, שבוחן אותו במקומות שסביר להניח שמרבית בעלי האדוונצ'ר לא יגיעו אליו. אנחנו לא מדברים על סינגלים מסולעים או מסלול מוטוקרוס, אבל כן על רכיבה מהירה מאוד על שלל שבילים מסוגים שונים, עליות וירידות טכניות, ואפילו קצת זמן אוויר. בנוסף, בילינו לא מעט במוד הרכבה בשטח, עם קצב שמותאם לכך. נפרק את ההתייחסות כאן לשני חלקים – האפריקה טווין מודל 2020 הוא אופנוע שטח מעולה. לא אדוונצ'ר מעולה, אלא אופנוע שטח מעולה. המכלולים השונים ובתוכם השלדה החדשה, אשר חזקה וקלה יותר מקודמתה, יחד עם זרוע אחורית מאלומיניום בהשראה שנלקחה מה-CRF450R, לצד בולמי שוואה אשר מספקים הידראוליקה משובחת בכל עומס (וניתנים לכיוון מלא כמובן), הבלמים בעלי הרגש ותנוחת הישיבה / עמידה שמאפשרת שליטה על כל דבר.

    וגם בכביש המפותל
    וגם בכביש המפותל

    בכל ירידה לשטח בחרנו לעבור למצב OFF ROAD (יש גם מצב GRAVEL – עפר – שלא מצאנו אותו כמשמעותי) עם ABS אחורי מנותק ומצב 'G' בתוכנת ההילוכים אשר מספקים החלפות אגרסיביות יותר. המנוע נשלט גם כשמפחיתים את התערבות בקרת האחיזה, ובשום מקום לא קיבלנו מנוע מפחיד. מה שכן, האפריקה כל כך מאוזן ויציב, כך שמאפשר לקבל אופנוע דריפטים מעולה. מרכז הכובד נמוך ומאפשר שליטה ויציבות גם במעלות לא פשוטים עם מדרגות ושינויי כיוון, וכן בירידה מהם. צמיגי הברידג'סטון המקוריים בעלי תכונות כביש יותר מאשר שטח, ונמליץ להחליפם למי שירד יותר לשטח, אך הם עשו את העבודה למעט בנקודות בהם נדרש ייצור אחיזה כמו בין סלעים בעלייה טחונה ויבשה של סוף הקיץ הישראלי.

    ה-DCT בשטח מעולה. נקודה. כל-כך קל להתחבר לקונספט הזה ברכיבת שטח, שזה מרגיש טבעי ונכון. בקטעים המהירים ניתן להתרכז ברכיבה ולאפשר למומנט הנרחב ולגיר החכם לעשות את מה שהם טובים בו. זה מדהים עד כמה האין-מצמד מקל על זרימה בעליות טכניות: החלטה על ציר תנועה, גז קבוע, עמידה ניטרלית על הרגליות – ואתם למעלה. מה שכן, במקרים מסוימים הורגש ריח של מצמד נשרף – אבל רק בנקודות בהן סביר שלא נמצא רוכב אפריקה ממוצע.

    שתי תלונות לסיום: בירידות ארוכות בהן המצערת סגורה הסרק ירד לאפס, בדומה להילוך סרק או מצמד משוך, וזה משפיע על בלימת המנוע. במקרים כאלו צריך לתת מכת גז קטנה והגיר חוזר לשילוב. הדבר השני הוא שהגיר אינו מאפשר הרמת גלגל לפני מכשולים, אם כי הבולמים הקדמיים ידעו להתגבר על הבעיה הזאת ולספוג היטב מכשולים.

     Honda-CRF1100L-DCT-Test-041

    שילוב מנצח

    ההונדה CRF1100L אפריקה טווין DCT הוא אופנוע שלם, שיודע בדיוק מה הוא עושה. בכביש אנו מקבלים ביצועים מעולים, נוחות ופאר, מערכות אלקטרוניקה שמשרות ביטחון ויכולת גמיעת מרחקים אדירה. בשטח האפריקה לא אכזב ותיקל בהצלחה מכשולים שמעטים ינסו איתו, ומהצד השני שייט בנוחות נדירה עם מורכב. אדוונצ'ר אידאלי. צריכת הדלק המשולבת במבחן עמדה על 16.3 ק"מ/ל' – לא מעט אך סביר בהתחשב בקצב ובדרישות.

    המחיר של האפריקה טווין מתחיל ב-105 אלף ש"ח לגרסת השטח עם גיר רגיל ועולה ב-10,000 ש"ח בגרסת ה-DCT ובעוד עשירייה בכל שלב (ספורט, ספורט DCT, ספורט עם מתלים סמי-אקטיביים חשמליים והאחרון עם ה-DCT). הרעיון במבחן הזה היה לשכנע אותנו שגיר אוטומטי באופנוע הוא דבר שעובד. ואכן, זה עובד. הופתענו לטובה עד כמה זה נתן תחושה טבעית ונכונה בהמשך המבחן. נכון, מצאנו כל מיני נקודות בהן הגיר קצת מעכב, אבל מעטים הרוכבים שיגיעו לקצבי אופנוע ספורט בכביש או אנדורו בשטח עם האפריקה, ולכן קרוב לוודאי שהם לא ייתקלו בתופעות האלה. בהונדה צריכים ללטש עוד קצת את מערכות תפעול האופנוע, אך גם לזה ניתן יהיה להתרגל אחרי פרק זמן קצר.

    אם תשאלו אותי, אני עדיין אבחר באופציה של הגיר הרגיל כי כזה אני – אולד סקול. אבל עכשיו אני מבין בלב שלם את מי שנכנס לסוכנות ובוחר ביודעין את האופציה של ה-DCT. יותר מזה, אנחנו מופתעים שרק 45% בוחרים בכך ולא יותר. בהונדה עלו על דרך שרק הם נמצאים בה, ללא נוכחות של יצרנים אחרים, והם צועדים בה בביטחון שלם ובהצלחה. רק בשביל זה שווה לחוות את האפריקה בגרסת ה-DCT.

    מפרט טכני

    [table id=167 /]