תגית: טכנולוגיה

  • מסך המגע החדש של ק.ט.מ

    מסך המגע החדש של ק.ט.מ

    דור האופנועים הבא של ק.ט.מ יקבל את צג ה-TFT החדש, שפועל גם במגע וגם דרך מערכת מתגים חדשה.

    המסך החדש יוצע למעשה בשתי צורות: האחת בצורה אנכית בגודל 8″ (V80) והשני בתצורה אופקית בגודל 8.8″ (H88). הרזולוציה מוגדרת ב-1280X720, כשהמסך עם ציפוי שמוגדר כאנטי-ריפלקס – שמונע השתקפויות של אור ממקורות חיצוניים כגון מנורות, פנסי מכוניות וקרני השמש, מונע השארת טביעות אצבע ומונע השתקפות. ניתן לראות את התצוגה מכל זווית, ומבחר הצבעים שבו – 256,000 לעומת 65,000 במסך הקודם – מאפשר חדות טובה יותר.

    המסך האנכי של דגמי האדוונצ'ר
    המסך האנכי של דגמי האדוונצ'ר

    ניתן לבחור בין חמש תצוגות שונות, להפעיל במסכים מפוצלים ולהתאים אישית את הנתונים שהרוכב רוצה לראות במסך הראשי. ניתן להפעיל את מסך המגע עם או בלי כפפות, וגם דרך מערכת הפעלה חדשה שפועלת דרך ג'ויסטיק ומתגים הנמצאים על הכידון. לא רק זה, הדור הבא של אופנועי ק.ט.מ יהיו עם כפתור מצבי מנוע חדש, כפתור חדש לבקרת שיוט, לניווט ועוד.

    כל מערכת הקישורית (CCU3.0 Connectivity Unit) משודרגת כעת. יש נפח אחסון של 32 ג'יגה בייט ועוד 3 ג'יגה בייט של זיכרון גישה אקראית (RAM) דרך מערכת הפעלה של אנדרואיד, שבסופו של דבר מאפשרת לחבר את הסלולר והאפליקציות שבו ישירות למסך.

    מסך ה-TFT החדש יגיע בדגמי הפרימיום של ק.ט.מ, החל מה-1390 סופר אדוונצ'ר החדש שיוצג בתחילת שבוע הבא. המסך האופקי יותאם לאופנועי הכביש הספורטיביים בעוד האנכי יהיה בדגמי האדוונצ'ר הגדולים.

    כאן המסך האופקי של דגמי הכביש
    כאן המסך האופקי של דגמי הכביש
    בית המתגים הימני החדש
    בית המתגים הימני החדש
    בית המתגים השמאלי החדש עם כפתורי השליטה על המסך
    בית המתגים השמאלי החדש עם כפתורי השליטה על המסך

    8.8 TFT DASHBOARD-5

  • טכני: קוויקשיפטר – מעביר הילוכים מהיר

    טכני: קוויקשיפטר – מעביר הילוכים מהיר

    העברת הילוכים מהירה או חלקה היא פעולה שדורשת תכנון וקואורדינציה, ולמרות שאינה פעולה מסובכת היא לוקחת זמן – שבריר של שנייה – שבסופו של דבר מצטבר ופוגע בזמני ההקפה – דבר שרוכב מרוצים לא יכול להרשות לעצמו. עד כאן זה מובן, אז מה זה עושה כיום על לא מעט אופנועים שאין קשר בינם לבין מסלול המרוצים? קראו וצפו בהסבר

    צפו בווידאו: קוויקשיפטר ובליפר – כיצד להשתמש?

    עריכה: אביעד אברהמי

    על-מנת להחליף הילוך באופנוע הרוכב נדרש לסגור מצערת וללחוץ על המצמד, להעביר הילוך עם הרגל, לשחרר בהדרגה את המצמד ולחזור אל המצערת. כך בכל החלפה, כאשר בהורדת הילוכים יש כאלה שמוסיפים נגיעה במצערת ('גז ביניים') על-מנת להעלות את הסל"ד – זאת כדי למזער את אפקט בלימת המנוע הפתאומית בשחרור קלאץ', שיגרור בתורו העברת משקל לחלקו הקדמי של האופנוע והפרת האיזון תוך כדי בלימה. ככל שהקצב מהיר יותר, יש לזה משמעות. גז ביניים קוראים לזה, או 'דאבל קלאץ", אם אתם נהגי משאיות מהמאה הקודמת.

    במשך שנים רבות ראינו רוכבי מרוצים משתמשים בקוויקשיפטר ומעלים הילוכים ללא שימוש במצמד וללא סגירת המצערת. כל מתודת החלפת ההילוכים המתוארת בפסקה הקודמת היא תהליך שלוקח זמן, והתפקיד של המהנדסים מאחורי המכונות הוא למצוא את הדרך לחסוך את הזמן הזה. לרוכבים האלה הייתה את הפריבילגיה להשאיר את המצערת מסובבת עד הסוף – פתוחה או סגורה, תלוי אם זה בהאצה או בלימה – ורק לשנות את זווית הרגלית, כלומר להחליף הילוך.

    חיישן הקוויקשיפטר והאוטובליפר בהונדה CB750 הורנט החדש
    חיישן הקוויקשיפטר והאוטובליפר בהונדה CB750 הורנט

    עם השנים מערכת הקוויקשיפטר מצאה את דרכה לכביש הציבורי, בעיקר לאופנועים הספורטיביים והיקרים יותר, בעיקר באלו עם מצערת חשמלית. מצערת חשמלית היא מצערת המופעלת על-ידי מנוע חשמלי ולא באופן מכאני על-ידי ידית המצערת. מחשב ניהול המנוע פותח את המצערת על-ידי מנוע חשמלי תוך שהוא מתחשב ברצון הרוכב, אבל גם בנתונים אובייקטיביים כמו מצב המנוע, כמות האוויר שיכולה להיכנס בפועל, וגם מצב ניהול המנוע הנבחר. רוב האופנועים המודרניים כבר מגיעים עם המצערת החשמלית המדוברת ומאפשרים הטמעת אביזר העזר האלקטרוני, שהוא הקוויקשיפטר.

    על ציר רגלית ההילוכים מותקן חיישן אשר מזהה את התנועה של הרגלית ויודע לפענח אם מדובר על העלאה או הורדה של הילוך. החיישן מעביר אות למערכת ניהול המנוע אשר פועלת בהתאם למצב הנדרש. בהעלאת הילוך הקוויקשיפטר דואג לניתוק רגעי של ההצתה וההזרקה כדי להעביר הילוך. מדובר בזמן קצרצר של כ-60 עד 80 מאיות השנייה (0.06 עד 0.08 ש') – שזהו הזמן שבו לוקח לעומס על גלגלי השיניים שבתיבת ההילוכים לרדת לאפס בין מצב של גז פתוח (עומס בין המנוע לבין הגלגל) לבין מצב של גז סגור ובלימת מנוע (עומס בין הגלגל לבין המנוע). רוכבים שמעבירים הילוכים בלי שימוש בקלאץ' באופנועים בלי קוויקשיפטר, מכירים היטב את הנקודה הזאת שבין העומסים. המשמעות היא שאפשר להישאר עם גז פתוח, ופשוט להעלות הילוכים אחד אחרי השני תוך שהמערכת דואגת לניתוק הרגעי כדי לפרוק עומסים מהגיר.

    קוויקשיפטר להעלאת הילוכים, אגב, יכול להגיע גם באופנועים עם מצערת מכאנית, ואף להגיע כתוספת אפטרמרקט לאופנועים שמגיעים בלי קוויקשיפטר במקור. זאת משום שכדי לנתק את מערכת ההזרקה לא חייבים מצערות חשמליות. קוויקשיפטר אפטרמרקט מאפשר למשתמש לכוון את תזמון ניתוק ההזרקה ואת משך הזמן של הניתוק, על-מנת להגיע לפעולה חלקה ככל האפשר בהתאם לאופי העבודה של תיבת ההילוכים.

    התקנת קוויקשיפטר אפטרמרקט על הימאהה R3 שבנינו למרוצים
    התקנת קוויקשיפטר אפטרמרקט על הימאהה R3 שבנינו למרוצים

    להורדת הילוך המחשב פותח את המצערות, בעצם נותן 'גז ביניים', משווה מהירויות בין המנוע לבין ההילוך הנבחר שאליו מורידים, ומאפשר העברת הילוך חלקה. לזה קוראים אוטובליפר, ובשביל אוטובליפר חייבים מצערות חשמליות, שכן המחשב צריך לפתוח את המצערת פיזית כדי להעלות את מהירות המנוע לקראת הורדת ההילוך. כשהרוכב סוגר את ידית המצערת ומוריד הילוך (ללא שימוש בקלאץ'), החיישן שעל רגלית ההילוכים מודיע למחשב שמתחילה הורדת הילוך, והמחשב בתגובה פותח כאמור את המצערת כדי שהעברת ההילוך תתבצע באופן חלק. גם התהליך הזה לוקחת פחות מעשירית שנייה (0.1 ש'), אם כי הוא קשה יותר לביצוע ולכן לעתים אוטובליפרים לא יהיו חלקים כמו קוויקשיפטרים.

    אם בעבר מערכת הקוויקשיפטר הורכבה באופנועים ספורטיביים, היום כבר רואים את קוויקשיפטרים בהרבה מאוד אופנועים – למשל באופנועי אדוונצ'ר, שכן יש נוחות גבוהה במערכת שחוסכת פעולות מהרוכב ועובדת בשבילו, ואפילו באופנועי המוטוקרוס החדשים של ק.ט.מ. חלק מהיצרנים גם מציעים את המערכת כאופציה בתשלום באופנועים קטני נפח או 'פשוטים' יותר כמו הק.ט.מ RC390 או ההונדה CB750 הורנט החדש.

    זוהי דוגמה טובה לחשיבות של מחלקות הפיתוח בקבוצות המרוצים והרווח שמתנקז לרוכבי היום-יום, כשטכנולוגיית המרוצים מגיעה לאופנועים עממיים המיועדים לכביש הציבורי. בסופו של דבר בימינו, העלות ליצרן היא החיישן שנדרש להרכיב על רגלית ההילוכים והתכנות במחשב ניהול המנוע, והדבר הופך את את 'המעביר המהיר' לנפוץ יותר ויותר, וכערך מוסף הוא גם מוריד את העומס על הקלאץ', כמו גם מתיבת ההילוכים עצמה ומשרשרת ההינע. החיים נהיו מפונקים עד כדי כך שהעברת הילוכים עם מצמד הופכת להיות 'כמו פעם'.

    מחיר של קוויקשיפטר כפריט אפטרמרקט יכול להגיע לכמה מאות אירו בהזמנה מחו"ל, ל-1,620 ש"ח אם מדובר על ה-RC390 של ק.ט.מ, או יותר מכך אם נדרשת התאמה לאופנועים עתירי הספק או למסלולי המרוצים.

    הריר-סט עם ההילוכים ההפוכים, הברגים החדשים, וחיישן הלחץ של הקוויקשיפטר על מוט הכיוון
    חיישן הלחץ של הקוויקשיפטר על מוט הכיוון של רגלית ההילוכים
  • ב.מ.וו מציגה גיר וקלאץ' אוטומטיים

    ב.מ.וו מציגה גיר וקלאץ' אוטומטיים

    בב.מ.וו מציגים מערכת חדשה של גיר וקלאץ' אוטומטיים – מערכת ה-ASA (ר"ת Automated Shift Assistant), המבטלת את הצורך בשימוש ידית הקלאץ' וברגלית ההילוכים.

    המערכת החדשה של ב.מ.וו מאפשרת לבחור בין תפעול תיבת ההילוכים באופן ידני או בצורה אוטומטית, ללא התערבות הרוכב. בשני המקרים המערכת מבטלת לגמרי את ידית הקלאץ'. מערכת ה-ASA נמצאת בפיתוח כחמש שנים, והיא נועדה להביא את מנגנון הקוויקשיפטר צעד אחד קדימה.

    ה-ASA היא למעשה מערכת אלקטרונית עם תפעול חשמלי לקלאץ', אשר מפרידה ומשלבת את הקלאץ' במצב של זינוק מעמידה ובהחלפת הילוכים. יש מנועים חשמליים ששולטים בהפרדה ובהצמדה של הקלאץ', ומייתרים את הצורך בשימוש בידית הקלאץ'. בניגוד למערכת ה-E-Clutch החדשה של הונדה כאן אין בכלל ידית קלאץ'.

    אין ידית קלאץ'
    אין ידית קלאץ'

    על בית המתגים בצידו השמאלי של הכידון יש כפתור המאפשר לרוכב לבחור בין מצב 'M' – שבו החלפת ההילוכים מתבצעת ידנית על-ידי רגלית ההילוכים, לבין מצב 'D' – המאפשר החלפת הילוכים אוטומטית לגמרי. מצבי ניהול המנוע השונים (גשם, ספורט, שטח) משנים בהתאם את אופי העלאת והורדת ההילוכים.

    עוד פיצ'ר של המערכת הוא נעילה של ההילוכים במצב שהמנוע כבוי והסוויץ' סגור (כמו מצב 'P', פארק, בתיבת הילוכים אוטומטית של מכוניות פרטיות), כך שגנב טיפוסי לא יוכל לגלגל את האופנוע ללא המפתח. חיסרון יחסי הוא התוספת של 1.2 ק"ג למשקל, וכן נטרול האפשרות להניע בדחיפה במקרה שהמצבר מתרוקן.

    פעולת המערכת דומה מאוד למנגנון הקוויקשיפטר, כלומר על ציר רגלית ההילוכים מותקן חיישן אשר מזהה את התנועה של הרגלית ויודע לפענח אם מדובר על העלאה או הורדה של הילוך. החיישן מעביר אות למערכת ניהול המנוע אשר פועלת בהתאם למצב הנדרש. בהעלאת הילוך הקוויקשיפטר דואג לניתוק רגעי של ההצתה וההזרקה כדי להעביר הילוך. מדובר בזמן קצרצר של כמה מאיות השנייה, שזהו הזמן שבו לוקח לעומס על גלגלי השיניים שבתיבת ההילוכים לרדת לאפס בין מצב של גז פתוח (עומס בין המנוע לבין הגלגל) לבין מצב של גז סגור ובלימת מנוע (עומס בין הגלגל לבין המנוע). להורדת הילוך המחשב פותח את המצערות, בעצם נותן 'גז ביניים', משווה מהירויות בין המנוע לבין ההילוך הנבחר שאליו מורידים, ומאפשר העברת הילוך חלקה.

    בב.מ.וו מייעדים את מערכת ה-ASA לאופנועים הגדולים, וישלבו אותה עוד השנה ב-R 1300 GS החדש (מבחן בקרוב בפול גז), ולדגמים נוספים החל מהשנה הבאה. תוספת המחיר המשוערת עומדת על כאלף אירו.

    BMW-ASA-01

    BMW-ASA-03

    BMW-ASA-04

  • סכנה: רכב עם מערכת נהיגה אוטונומית הרג רוכב

    סכנה: רכב עם מערכת נהיגה אוטונומית הרג רוכב

    מכל הצרות שבעולם, עכשיו גם צריך להיזהר מנהגי טסלה שמשתמשים במערכת הנהיגה האוטונומית (Autopilot ו-Full Self-Driving).

    אמנם המערכת עדיין לא מאושרת לשימוש בישראל, אבל גם זה יגיע מתישהו. בשבוע שעבר נהג טסלה מודל S מדגם 2022 נכנס באופנוען שרכב לפניו והרג אותו. נהג הטסלה הודה כי היה עסוק בטלפון שלו ואף היה מעט מנומנם, אבל הטיל את האשמה על מערכת הנהיגה האוטונומית של רכבו. זה, אגב, מקרה מוות שלישי בארצות הברית בפחות משלושה חודשים באותן הנסיבות.

    מערכת הנהיגה האוטונומית של טסלה מיועדת, כך לפי החברה, לסייע לנהג בשיפור הבטיחות האקטיבית ובשיפור חוויית הנהיגה. המערכת מסתמכת על שילוב של מצלמות, מכ"ם וחיישנים קוליים כדי לאסוף נתונים על סביבת הרכב. המערכת מעבדת את הנתונים ומחליטה עבור הרכב על הפעולות הנדרשות. למערכת האוטופיילוט שני מצבי פעולה עיקריים: בקרת שיוט מודעת לתנועה המתאימה את מהירות הרכב למהירות של התנועה שמסביבו, והיגוי אוטומטי (Autosteer) אשר מסייע בהיגוי בעת נסיעה בנתיב בעל קווי סימון ברורים ומשתמש בבקרת שיוט מודעת לתנועה.

    המחוקקים שאישרו את השימוש במערכת הנהיגה האוטונומית התריעו כי היא אינה אוטונומית לחלוטין. הנהגים עדיין נדרשים להישאר קשובים ולהיות מוכנים להשתלט על הרכב בכל עת, ולא להתעסק עם הטלפון לדוגמה. הנהג בן ה-56 מארצות הברית הולך להיות מואשם בהריגה באמצעות רכב ('vehicular Homicide'), אבל זה לא יציל את הרוכב שנהרג.

    כבר בשנת 2019 כתבנו על טכנולוגיה מרדימה שעלולה לגרום לנהגים לסמוך יתר על המידה על מערכות ההתרעה, בקרת שיוט אקטיבית או מסכים שמחליפים את מראות הצד, ולסכן עוד יותר את משתמשי הדרך האחרים, לרבות רוכבי אופנוע. הסיפור בארצות הברית מדבר על נהיגה ללא שליטה בכלל על מערכות הרכב, משהו שיגיע מתישהו גם לישראל ויצריך מאיתנו הרוכבים להיזהר מרכבי טסלה לבנים שנוסעים (גם) מאחורינו.

  • תקנות יורו 5 מתעדכנות – יורו 5+

    תקנות יורו 5 מתעדכנות – יורו 5+

    תקנות יורו 5 שנכנסו לתוקף ב-2020 חייבו את יצרניות האופנועים לעמוד בתקני זיהום אוויר מחמירים ולהשקיע משאבים רבים בהתאמת המנועים לתקנות המחמירות. כעת מגיע השלב הבא – תקנות יורו 5+ – שבהן אין שינוי ברמות המזהמים המותרות, אולם יש חידודים בשיטות הדיאגנוסטיקה הממוחשבות, בעמידות המנועים לפליטת מזהמים לאורך זמן, וגם לעוצמות הרעש שלמנועים מותר להפיק.

    תקנות יורו 5+ לאופנועים מתחילות להיכנס לתוקף בימים אלו – בינואר 2024 לכלים חדשים ובינואר 2025 לכלים קיימים. מדובר בתקנות המחדדות את תקנות יורו 5 הדרקוניות, כשכאמור אין כאן שינויים בערכי המזהמים המותרים ממנועי האופנועים, אלא בעיקר בדברים שמסביב – אורך חיים, שיטות אבחון ממוחשבות, וגם תקנות רעש.

    אם מסתכלים על ההיסטוריה, הרי שהחל מ-1997 החל האיחוד האירופאי להילחם בזיהום אוויר מכלים דו-גלגליים, כשב-1999 נכנסו לתוקף תקנות יורו 1. עד כניסתן לתוקף של תקנות יורו 3 בשנת 2007, המלחמה העיקרית הייתה בפליטת מזהמים רעילים ממנועים – תחמוצת פחמן (CO), פחמימנים (HC – חלקיקי דלק ושמן לא שרופים), ותחמוצות חנקן (NOx) – כשתקנות יורו 3 הורידו את הערכים של שלושת המזהמים הללו לערכים נמוכים מאוד.

    על מנת לעמוד בתקנות יורו 3, היצרניות נאלצו לשפר משמעותית את מערכות ההזרקה וניהול המנוע, וכן את טכנולוגיות הבעירה בתוך תאי השריפה – שנובעות בין היתר ממשטרי זרימה בראש המנוע. בנוסף, אל מערכות הפליטה התווספו ממירים קטליטיים תלת-דרכיים אשר הורידו עוד יותר את רמות המזהמים בגזי הפליטה.

    תקנות יורו 4, שנכנסו לתוקף מלא ב-1.1.18, היו השלב הבא והלכה למעשה היוו את המהפכה השנייה. מעבר להפחתה נוספת בכמות המזהמים – מה שדרש מערכות ניהול מנוע מדויקות יותר ומערכות פליטה גדולות ומסרסות יותר – נוספו לתקנות גם חובת מחזור אדי דלק ממיכל הדלק בזמן חניה, מערכת דיאגנוסטיקה עצמית דור 1 (OBD1), חובת מערכת ABS לכלים בנפח של מעל 125 סמ"ק, וכן דרישה שגם אחרי 20,000 ק"מ המערכות תתפקדנה כחדשות וכמות המזהמים תעמוד בתקן.

    תקנות יורו - הולכות וחונקות את המנועים
    תקנות יורו – הולכות וחונקות את המנועים

    תקנות יורו 5, שהיו המהפכה השלישית, נכנסו לתוקף ב-1.1.20 לכלים חדשים ושנה מאוחר יותר לכלים קיימים. התקן הוריד עוד יותר את רמות המזהמים המותרות בפליטת הגזים של מנועי האופנועים (CO עד 1 גר'/ק"ג, HC עד 0.10 גר'/ק"ג, NOx עד 0.06 גר'/ק"ג, וחלקיקים חומציים מזהמים עד 0.045 גר'/ק"ג). המשמעות הייתה עוד עוד מסנני חלקיקים, ממירים קטליטיים גדולים יותר, וכפועל יוצא מערכות פליטה גדולות, כבדות, שקטות ומסרסות יותר, אבל גם תצרוכת דלק נמוכה יותר.

    תקן יורו 5 גם התייחס לאורך החיים של הגבלת המזהמים. אם עד יורו 3 רק אופנועים חדשים שיצאו מהמפעל היו חייבים לעמוד בהגבלות המחמירות על פליטת מזהמים, ולאחר הרכישה הרוכב יכול היה לעשות כאוות נפשו, הרי שביורו 4 כבר ישנה הגבלה נוספת של 20,000 ק"מ שבהם האופנוע או הקטנוע חייבים לעמוד בתקנות מבחינת פליטת מזהמים. בתקנות יורו 5 הלכו צעד נוסף קדימה, והכלים חייבים לעמוד בתקנות על הגבלת המזהמים לכל אורך חייהם – ללא הגבלת גיל או ק"מ. המשמעות – קשה יותר להתקין מערכות פליטה פתוחות ומשוחררות.

    יותר טכנולוגיה - גם אלקטרונית וגם מכאנית
    יותר טכנולוגיה – גם אלקטרונית וגם מכאנית

    OBD II

    אבל לא הכל פועל לרעת הרוכבים. אחד הדברים החשובים שיורו 5 הביא איתו הוא תקן מחייב למערכות דיאגנוסטיקה לרשת מחשבי האופנוע – השלב השני של OBD (ר"ת On-Board Diagnostics).

    השלב הראשון התחיל ב-2017 ו-2018, עם יישום תקנות יורו 4, והוא חייב את היצרניות לשנות את מערכות ניהול המנוע כך שיהיה בהם שקע דיאגנוסטיקה לחיבור למחשב לצורך קריאת קודי תקלות ועדכוני תוכנה. לחלק מהיצרניות היה שקע כזה בדגמים כאלו ואחרים, אולם תקן OBD1 של יורו 4 כבר חייב את היצרניות בקודי תקלות קבועים – בדומה למה שקורה בתחום הרכב כבר יותר מ-20 שנה.

    השלב השני – OBD2 – כבר מחייב את היצרניות לספק שקע דיאגנוסטיקה אחיד וקודי תקלות אחידים – בדיוק כמו שיש בתחום הרכב ה-4 גלגלי. המשמעות היא אבחון תקלות אחיד לכל האופנועים והקטנועים, כך שיורו 5 מביא איתו כאמור שקע אחיד ותקן אחיד, כך שכלי אבחון בסיסי יאפשר לאבחן תקלות ניהול מנוע וניהול אופנוע (מחשב ניהול מנוע, מחשב ABS, מחשב לוח שעונים וכו') בכל האופנועים והקטנועים.

    עניין נוסף שקשור למערכת ניהול המנוע הוא האבחון העצמי. בכל מערכת ניהול מנוע תהיה מערכת ניטור ובקרה על גזי הפליטה, שתדליק נורת תקלה בלוח השעונים במקרה ובו פליטת המזהמים גבוהה מהמותר. יחד עם זאת, האירופאים הבינו שטכנולוגיה כזו לא זמינה עדיין לכל היצרניות, ולכן התכנון הוא לחייב את מערכת הניטור והאבחון העצמי רק ב-2025 – וזה אחד האלמנטים שנכנסים לתוקף בתקנות יורו 5+ החדשות.

    ממירים קטליטיים - יתווסף חיישן חמצן אחרי הממיר לניטור הממיר
    ממירים קטליטיים – יתווסף חיישן חמצן אחרי הממיר לניטור הממיר

    תקנות יורו 5+

    כאמור, תקנות יורו 5+, לוקחות את תקנות יורו 5 ומרחיבות אותן. לא מדובר על שינויים בערכי המזהמים המותרים ממערכות הפליטה, אלא על הקפדה שהסטנדרטים המחמירים יישארו גם בטווח הארוך, ותהיה הקפדה גדולה יותר על עמידות המערכות לאורך זמן. אחד השינויים הוא בבדיקות העמידות לממירים קטליטיים. אם בתקן יורו 5 הייתה התדרדרות מקובלת ביעילות הממירים, שחושבה על-פי נוסחה מתמטית, הרי שבתקנות יורו 5+ יש איסור על התדרדרות ביעילות כך שהממירים הקטליטיים יעבדו באופן זהה לכל אורך חיי האופנוע (בפועל, 35,000 ק"מ למנועים בעלי הספק גבוה). ממיר קטליטי שיעילותו תיפגע יצטרך להיות מוחלף כדי לעבור מבחן רישוי שנתי במדינות שבהן מקפידים על התקנות – כמו גרמניה למשל. גם עוצמות הרעש שמפיקים המנועים תצטרך להישמר למשך כל חיי האופנוע, אם כי כאן התקנות עדיין לא נוסחו באופן סופי, וקרוב לוודאי שיהיה עדכון נוסף בשנים הקרובות.

    גם ה-OBD II מתעדכן, כשיהיה יותר אבחון עצמי של המערכות לניטור זיהום אוויר. כך למשל, תהיה חובה לניטור מצב הממיר הקטליטי, מה שאומר חיישן חמצן נוסף – לא רק לפני הממיר הקטליטי אלא גם אחריו, בדיוק כמו שקיים בכלי רכב פרטיים. תהיה גם חובת הודעה לרוכב על המסך אם יש תקלה המגבילה את כוח המנוע, למשל כתוצאה מחימום יתר של המנוע.

    תקנות יורו 5+ סוגרות אפוא עוד קצת על יצרניות האופנועים ועלינו הצרכנים, כשהמנועים יהיו חנוקים יותר, לאורך זמן רב יותר, ועם פחות אפשרויות לשיפורי מנוע כמו מערכות פליטה חלופיות חוקיות לרכיבת כביש. ישראל, כחלק ממדינות אירופה ומחויבת לתקנות זיהום האוויר האירופאיות, תקבל כמובן דגמי אופנועים העומדים בתקנות יורו 5+. בצד החיובי נגיד שבישראל פחות מקפידים על תקנות זיהום האוויר אחרי המכירה, כמו למשל בדיקות זיהום אוויר ורעש במהלך רישוי שנתי.

    פליטת מזהמים מקסימלית והתניות נוספות לאורך תקנות יורו

    [table id=43 /]

  • ק.ט.מ: תזמון שסתומים משתנה חדשני לסופר דיוק החדש

    ק.ט.מ: תזמון שסתומים משתנה חדשני לסופר דיוק החדש

    במנוע הווי-טווין המשודרג של הק.ט.מ 1390 סופר דיוק R החדש מסתתרת פנינה טכנולוגית שכמעט שלא נראתה במנועי אופנועים – מערכת תזמון שסתומים משתנה מתקדמת הכוללת לא רק את הזזת התזמון ביחס למנוע אלא גם את שינוי משך זמן פתיחת השסתומים וגובה הרמת שסתומי היניקה.

    על החידוש הטכני החשוב הזה שנמצא ב-1390 סופר דיוק R החדש בק.ט.מ לא התעכבו בתיק העיתונות, אלא זרקו משפט בודד – ולא ברור למה. במנוע הווי-טווין המחודש של ק.ט.מ יש תזמון שסתומים משתנה אשר משנה לא רק את זווית הפתיחה והסגירה של שסתומי היניקה ביחס לגל הארכובה, אלא את משך זמן פתיחת השסתומים (Duration – הזווית הכוללת של פתיחת השסתומים) ואת גובה הרמת השסתומים (LIFT). מערכות תזמון שסתומים אשר מבצעות שינוי של משך זמן פתיחת השסתום קיימות ברכבי יוקרה כאלו ואחרים, ובאופנועים הופיעה מערכת דומה – בשם ShifrCam – במנוע הבוקסר 1250 של ב.מ.וו שנחשף ב-2018

    ראש המנוע של מנוע ה-1390 החדש
    ראש המנוע של מנוע ה-1390 החדש

    מה שראינו עד אז – למשל במנועי הסוזוקי GSX-R1000, הדוקאטי L-טווין 1260 עם מנגנון ה-DVT, וגם במנועי 125 סמ"ק של ימאהה – זה תזמון שסתומים מהסוג הראשון, שמשנה את זווית הפתיחה והסגירה של השסתום ביחס לגל הארכובה – כלומר מזיז את תזמון גל הזיזים ביחס לגל הארכובה. במנוע החדש של ק.ט.מ הזיזים עצמם הפותחים את שסתומי היניקה משתנים בגודלם, וכך זווית פתיחת השסתום גדלה או קטנה, ולא רק משנה את מיקומה ביחס לגל הארכובה.

    בקצרה נספר שבתחומי סל"ד שונים השאיפה היא לתזמון שסתומים שונה, זאת על-מנת לאפשר מילוי נפחי מקסימלי – כלומר בזמן הקצר של מהלך היניקה השאיפה היא למלא את הצילינדר במקסימום האפשרי של תערובת אוויר ודלק. במנוע אטמוספרי (ללא עזרי גדישה) המילוי הנפחי לעולם לא מגיע ל-100%, אולם בתחומי סל"ד מסוימים הוא מתקרב למקסימום האפשרי. תזמון שסתומים משתנה מאפשר להגדיל את טווח הסל"ד הזה, ובכך להגדיל את טווח המומנט הזמין של המנוע. הסבר מפורט על תזמון שסתומים משתנה תוכלו לקרוא בכתבה במדור הטכני שלנו.

    גלי הזיזים של שסתומי היניקה (אחד לכל ראש מנוע) בנויים כך שהזיזים יושבים על שרוול שמאפשר תזוזה, ולכל שסתום יניקה יש שני זיזים – אחד ראשוני בעל הרמת שסתום קצרה ומשך זמן קצר, והשני בעל הרמת שסתום גדולה יותר ומשך זמן פתיחה (זווית פתיחה) גדול יותר. בפקודה ממחשב ניהול המנוע, ובהתאם למהירות המנוע ולמצב המצערת, הזיז הגדול יותר נכנס לפעולה ולמעשה מחליף את הזיז הקטן. העניין החשוב הוא שההחלפה צריכה להתבצע במהירות גבוהה מאוד – לפני שגל הזיזים משלים סיבוב – ובזמן שאין עומס בין הזיזים לבין השסתומים.

    מנוע ה-1390 בחתך - ניתן לראות את יחידת הסולונואידים מעל ראש המנוע
    מנוע ה-1390 בחתך – ניתן לראות את יחידת הסולונואידים מעל ראש המנוע

    תפעול החלפת הזיזים הפעילים מתבצע על-ידי שני סולונואידים (מנועים חשמליים) ושתי תעלות ספירליות המכורסמות בשרוול שעל גל הזיזים. כאשר סולונואיד אחד מופעל, הוא מכניס פין אל התעלה הספירלית הראשונה, מושך את השרוול הנושא את הזיזים לכיוון אחד, ומשלב את הזיזים המתונים יותר. בהפעלת הסולונואיד השני, הוא מכניס פין אל התעלה הספירלית השנייה, ומזיז את השרוול כדי לשלב את הזיזים בעלי הפרופיל הקרבי יותר – עם יותר מהלך ויותר משך זמן. תהליך ההחלפה אורך 22 אלפיות השנייה בלבד, וכאמור הוא מתרחש כאשר אין עומס על הזיזים ועל השסתומים, והזיזים יכולים להחליק ללא עומס על התעלה ועל השרוול.

    למעשה, בק.ט.מ מיקמו את התעלות והשרוולים במרכז גל הזיזים – בין שני הזיזים של שסתומי היניקה – ובכך שמרו על ממד הרוחב הצר של המנוע. על מכסה השסתומים, מעל גל הזיזים, נמצאת יחידת הסולונואידים החשמלית.

    המערכת, כאמור, משפרת את המילוי הנפחי של המנוע האטמוספרי ומרחיבה את טווח הסל"ד היעיל ואת המומנט הזמין של המנוע – וכפועל יוצא גם את הנצילות ואת תצרוכת הדלק. זוהי מערכת חשובה, שהיסודות הטכנולוגיים שלה מגיעים ממכוניות פרטיות יוקרתיות, וסביר להניח שבעתיד היא תגיע למנועים נוספים של ק.ט.מ.

    ק.ט.מ 1390 סופר דיוק R
    ק.ט.מ 1390 סופר דיוק R

    563282_MY24_KTM 1390 SUPER DUKE R EVO_EU_STRIPPED_90-Right_Studio_Details_Parts_GLOBAL_EUROPE_STUDIO

  • הונדה מציגה: E-Clutch – קלאץ' אלקטרוני חשמלי

    הונדה מציגה: E-Clutch – קלאץ' אלקטרוני חשמלי

    בהונדה חושפים טכנולוגיה חדשה לאופנועים מתוצרתם – E-Clutch' קלאץ' אלקטרוני-חשמלי אשר מייתר את השימוש בידית הקלאץ' גם בתחילת נסיעה, גם בעמידה במקום וגם בהחלפות הילוכים; המערכת פועלת על חיישנים ועל שני מנועים חשמליים שמפעילים את הקלאץ' במקום הרוכב.

    הונדה היא היצרנית היפנית שבאופן קבוע וסדרתי מפתחת טכנולוגיות מתקדמות ומיישמת אותן באופנועיה. נזכיר כדוגמאות את תיבת ה-DCT כפולת המצמדים, שהיא הצלחה גדולה במספר רב של אופנועי הונדה, וכן פיתוחים טכנולוגיים מהעבר כמו תיבת הילוכים הפועלת על לחצי שמן, או מערכת תזמון השסתומים V-TECH של מנוע ה-VFR800, שבה 8 שסתומים פועלים בסל"ד נמוך ו-16 שסתומים פועלים בסל"ד גבוה. כעת חושפים בהונדה מערכת שעליה כבר כתבנו בעבר – E-Clutch, מצמד חשמלי-אלקטרוני המייתר את השימוש בידית הקלאץ'.

    מנוע ה-CB650R / CBR650R החדש עם ה-E-Clutch
    מנוע ה-CB650R / CBR650R החדש עם ה-E-Clutch

    למעשה, ה-E-Clutch משלב לתוך מערכת אחת אלמנטים טכנולוגיים של קוויקשיפטר, של תיבת ה-DCT ושל מצמד רב-דיסקי רטוב קונבנציונלי. הרעיון הוא צמד מנועים חשמליים ששולטים בהפרדה ובהצמדה של המצמד ומייתרים את הצורך בשימוש בידית הקלאץ' – אם כי ידית הקלאץ' קיימת, והרוכב יכול להשתמש בה באפן ידני בכל שלב.

    הקלאץ' עצמו הוא מצמד רב-דיסקי רטוב קונבנציונלי הבנוי בדיוק כמו קלאץ' רגיל, כולל מנגנון התרה של ידית קלאץ' וכבל קלאץ'. על המערכת המכאנית בנו בהונדה את המערכת החשמלית, הכוללת כאמור 2 מנועים חשמליים ומערכת מנופים וגלגלי שיניים לתפעול, כשהמערכת הנוספת שוקלת 2 ק"ג. המערכת מתחשבת בנתונים ממספר חיישנים המפוזרים במנוע ובתיבת ההילוכים, ביניהם מהירות מנוע, זווית פתיחת מצערת, מהירות נסיעה, לחץ על רגלית ההילוכים, מיקום גלגלי השיניים של מערכת ההפחתה של המערכת, הילוך נבחר, ומהירות ציר מוצא של תיבת ההילוכים. צמד המנועים שמפעילים את הקלאץ' נמצאים מאחורי המכסה המנוע הימני, כלומר צמוד לקלאץ' עצמו.

    המערכת נכנסת לפעולה מיד בהתנעת המנוע, והיא מאפשרת לשלב להילוך ולהתחיל נסיעה ללא שימוש בידית הקלאץ', שכן המערכת מפרידה את הקלאץ' ברגע שהרוכב משלב להילוך, ומשחררת את הקלאץ' הדרגתית כדי להתחיל נסיעה. כמובן שהמערכת – הכוללת קוויקשיפטר דו-כיווני – מאפשרת גם העברת הילוכים מהירה ללא שימוש בקלאץ'. המערכת מפרידה את הקלאץ' גם בעצירה בהילוך. בכל עת הרוכב יכול להשתמש כרגיל בידית הקלאץ', ובנוסף לבטל את המערכת האלקטרונית על-ידי כפתור בבית המתגים, ואז יופיע הסימון M בלוח השעונים.

    הרוכב יכול לבחור מבין 3 רמות רגישות – HARD, MEDIUM ו-SOFT, כשכל אחד מהם דורש רגישות שונה ברגלית ההילוכים כדי להפעיל את הקלאץ' לצורך העברת הילוך, בדומה לקוויקשיפטר רגיל.

    האופנועים הראשונים שמקבלים את הקלאץ' החשמלי-אלקטרוני כאופציה הם צמד ה-CBR650R ו-CB650R החדשים של 2024. בעתיד הקרוב מערכת ה-E-Clutch תוצע כאופציה גם באופנועים נוספים, במקביל לתיבה האוטומטית DCT. פיתוח מעניין וחשוב של הונדה.

  • ארבע היצרניות היפניות מפתחות יחד הנעת מימן

    ארבע היצרניות היפניות מפתחות יחד הנעת מימן

    שיתוף פעולה חדש של ארבע יצרניות האופנועים היפניות, הנקרא HySE (ר"ת Hydrogen Small mobility & Engine technology), מיועד למצוא דרך לפתח ולקדם הנעת מימן-חשמל עבור כלים דו-גלגליים.

    בשנת 2019 ארבע היצרניות היפניות הגדולות – הונדה, קוואסאקי, ימאהה וסוזוקי – יסדו שיתוף פעולה חסר תקדים בשוק האופנועים. ארבעתן – יריבות מרות על שוק אופנועים שמצטמצם לו ביפן – יצרו צוות חשיבה טכנולוגי משותף בנושא סוללות חשמליות לאופנועים. הרעיון היה לייעל את התהליכים העתידיים, ולמנוע מצב בו יצרנית אחת משקיעה משאבים גדולים בפיתוח הטכנולוגיה, שבסוף תברר כלא מתאימה. לבינתיים פותחה פלטפורמה של סוללות מתחלפות.

    כעת נוסד צוות חשיבה ופיתוח חדש תחת השם HySE – טכנולוגית מימן למנועים ולניידות קטנה. הרעיון, שקיבל אישור מממשלת יפן, הוא לבחון את הכיוון הזה בהפחתת מזהמים. כל אחת מהחברות קיבלה את המשימה שלה, והכל במטרה להגיע לפתרון ישים בזמן קצר, שנועד בעיקר לשרת דו-גלגליים לשימוש עירוני.

    טכנולוגיית המימן אינה חדשה. היא דוברה בעבר על-ידי קוואסאקי ואף קיימת בעולם הרכבים. 'תדלוק' המנוע נעשה עם חומר הנמצא בזמינות גבוהה מאוד ושתהליך הפקתו אינו גורם לפליטה של מזהמים. גז המימן יכול לשמש כמקור אנרגיה ירוק המפיק חשמל על ידי טכנולוגיה הנקראת תא דלק מימני, אשר פועל בעזרת מימן וחמצן. שני יסודות אלו יוצרים תגובת חמצון-חיזור ביניהם, וכתוצאה מכך נוצר זרם חשמלי אשר ניתן לנצל אותו להנעת מנוע. תוצר התגובה, אגב, הוא מים.

    נמשיך לעדכן על התקדמות הפרויקט.

  • שואי תציג קסדה עם תצוגה עילית במשקף

    שואי תציג קסדה עם תצוגה עילית במשקף

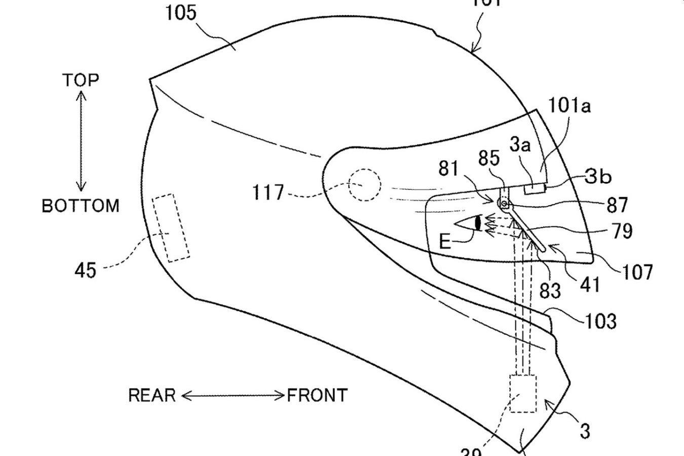
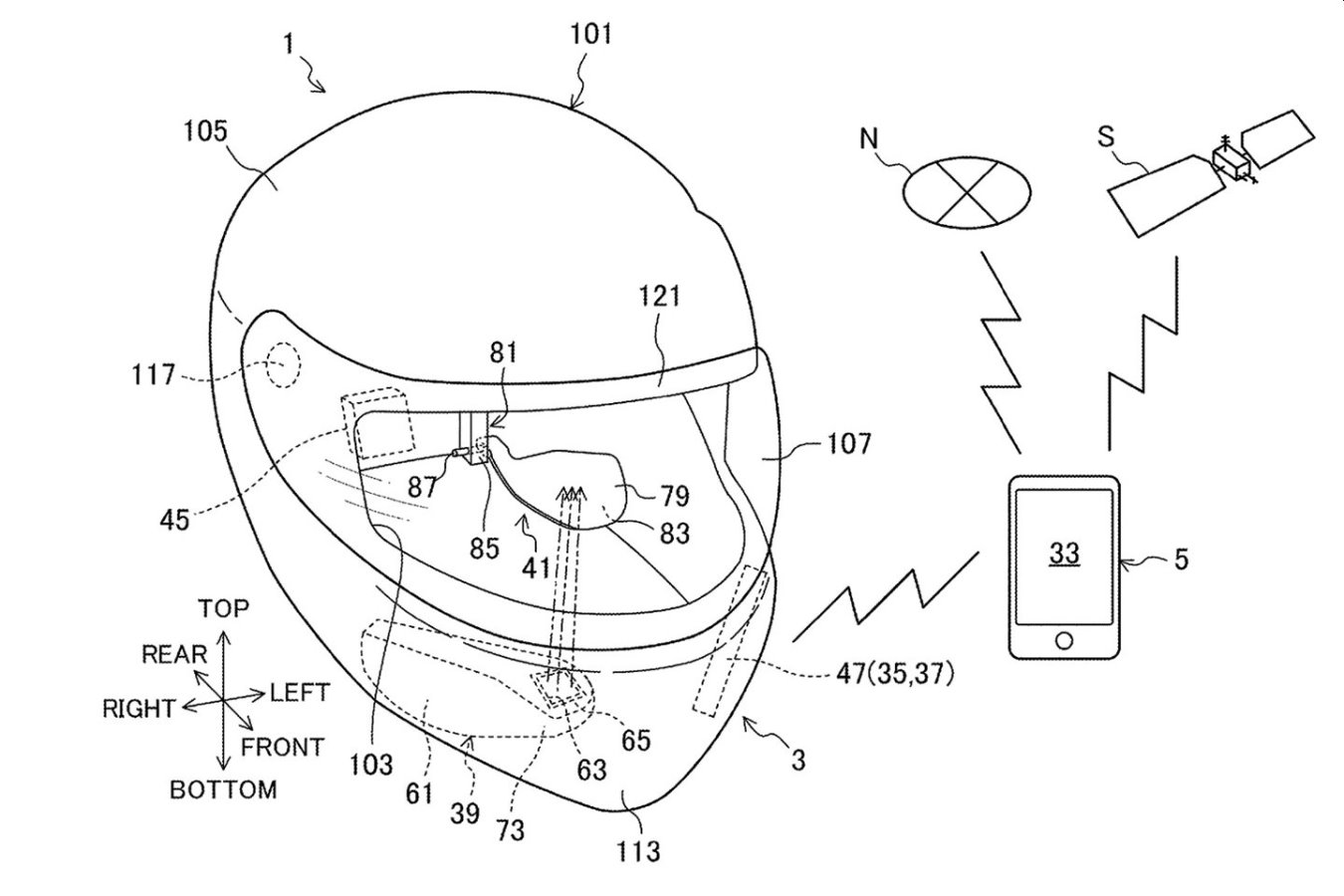
    חברת הקסדות SHOEI תציג את ה-Opticson – קסדה שתאפשר לשקף מידע עבור הרוכב במשקף, בעזרת טכנולוגית HUD.

    הרעיון בטכנולוגית HUD (ר"ת Head-Up Display – תצוגה עילית) אינו חדש וקיים מזה זמן ברכבי יוקרה. מדובר על הקרנת מידע רלוונטי כמו ניווט, סימון תמרורים, מהירות ואזהרות שונות – על השמשה הקדמית של הרכב, בגובה שיאפשר לנהג לזהות את המידע בלי להסיט את העיניים מהכביש. כבר היו יזמי הייטק שניסו טכנולוגיות מסוג זה בקסדות לרוכבי אופנועים, אך דבר לא התממש לכדי מוצר מסחרי.

    כך ישתקף המידע על משקף הקסדה
    כך ישתקף המידע על משקף הקסדה

    SHOEI, כחברת קסדות מיינסטרים, כבר הציגה ב-2019 גרסה ראשונית שלא התקדמה הרבה. לאחרונה החברה כבר רשמה פטנט והגדירה בשם אופטיקסון (Opticson) את הגרסה החדשה, שככל הנראה תגיע לייצור סדרתי, כשהיא תציג בקרוב את גרסתה המסחרית לטכנולוגית תצוגה עילית במשקף הקסדה. ב-SHOEI הצליחו להשתיל מקרן אינטגרלי בחלק של מגן הסנטר, והוא מקרין את המידע כלפי מעלה אל המשקף. את המידע ניתן למקד לעין הרוכב, וכן למקם בנקודות שונות. יש למערכת חיבור בלוטות' אשר ישקף את האפליקציה הרלוונטית בסלולר, ובכך יחסוך משקל שתדרוש מערכת אישית של הקסדה.

    לשיטת החברה, יש משמעות לרוכב היום-יום שיקבל את המידע בקו הראייה בלי הצורך להסיט את העיניים למסך האופנוע או אל הסלולר, שכן כך הרוכב ישמור על ריכוז מקסימלי בנעשה לפניו. גם הרוכב התחרותי יכול יהיה, בטכנולוגיה מעט שונה, לקבל מידע רלוונטי מצוותו לגבי התראות על המסלול, מיקום, זמני הקפה ועוד – מידע שמשוקף כיום על מסך האופנוע, אבל כזה שבכל זאת דורש הסטת מבט ופגיעה בריכוז.

    בשלב זה אין מידע על תאריך השקה מסודר או הערכת מחיר, אך נראה שקסדת האופטיקסון של SHOEI תוצג עוד השנה.

    SHOEI Opticson (4)

    SHOEI Opticson (3)

  • ריזומה: מראה שהופכת לספוילר אווירודינמי

    ריזומה: מראה שהופכת לספוילר אווירודינמי

    חברת האביזרים ריזומה הציגה את מראת ה-STEALTH (חמקן), המיועדת לאופנועי ספורט, מתקפלת והופכת לכנפון אשר מאפשר להוסיף 0.8 ק"ג של כוח הצמדה במהירות של 130 קמ"ש ו-4.3 ק"ג של הצמדה במהירות של 300 קמ"ש.

    בשנים האחרונות מרבית אופנועי הספורט והנייקד-ספורט מגיעים עם כנפונים (ספוילרים) אווירודינמיים ואופנתיים. תפקידם העיקרי של הכנפונים הוא לייצר כוח הצמדה במהירויות גבוהות, ולאפשר להיגוי, לתאוצה ולבלימה להיות יעילים יותר, שכן כוח גדול על הצמיג הקדמי יביא ליכולת טובה שלו בשלושת תחומים אלו. המראות החדשות של ריזומה מתאימות לכל אופנועי הספורט היפניים ולחלק מהאירופאים.

    כנפונים מקוריים, כמו בדוקאטי סטריטפייטר V4, מספקים 28 ק"ג של כוח הצמדה במהירות של 270 קמ"ש, 30 ק"ג בפניגאלה V4R באותה המהירות, ו-50 ק"ג בפניגאלה V4 סופרלג'רה האקזוטי. כך שהפטנט של ריזומה נראה מגניב ואף יוסיף מעט כוח הצמדה, אך לא יספק לגמרי את המטרה שלשמה נועד. כך או כך, מוצר נחמד ואופנתי.

    HONDA_01

    BMW_01