תגית: טכנולוגיה

  • ב.מ.וו: בקרוב צג מגע במחוות אצבע

    ב.מ.וו: בקרוב צג מגע במחוות אצבע

    תרשים פטנט שהגישו בב.מ.וו מראה שבחברה עובדים על צג מגע לאופנוע, בו ניתן להפעיל את הפונקציות בעזרת מחוות וללא צורך במגע.

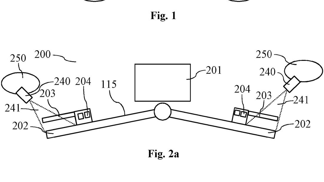
    הטכנולוגיה הזו קיימת מספר שנים ברכבי יוקרה, כולל אלו של ב.מ.וו עצמה. מערכות זיהוי התנועה מתבססות על חיישנים אשר מזהים מחוות יד או אצבע ספציפיות, ללא מגע בצג ה-TFT, זאת לצורך תפעול פונקציות. הדבר מתווסף לאופציות המגע במסך והמתגים הקיימים.

    ברכבים הנהג נדרש להוריד את היד מההגה על מנת שהמצלמות (החיישנים) יזהו את היד. הרעיון לפי התרשים הוא שהרוכב יפעיל את המערכות בעזרת חיישנים במראות או בידיות אחיזה. אנו מניחים שיש עוד עבודה בעניין, ואם כן הוא יוצג בשלב ראשון בדגמי הקצה של התיור והאדוונצ'ר. נמשיך כמובן לעדכן.

    BMW-Screen-Patent

  • הונדה: בקרוב מערכת רדאר עם מצלמות

    הונדה: בקרוב מערכת רדאר עם מצלמות

    הונדה יהיו הבאים בתור להצטרף ליצרניות המציעות מערכות התראה ושיוט מבוססות רדאר, כאשר כאן יצורפו מצלמות היכולות לקרוא אורות בלימה ולשנות את אופי גיר ה-DCT.

    תרשימי פטנט שפורסמו חושפים שבהונדה קרובים לפיתוח של מערכת התראה ושיוט מבוססת רדאר – פרי פיתוח עצמי ככל הנראה. מערכת הרדאר כוללת חיישנים בקדמת האופנוע, שמזהים את המרחק והפרשי המהירויות בין האופנוע לבין כלי הרכב מלפנים ומפעילים התראה ואת מערכת הבלימה על מנת להאט או לעצור את האופנוע. הטכנולוגיה הנוכחית של מצערת אלקטרונית ו-ABS מנוהל מחשב ומוגבר חשמלית-הידראולית מאפשרת, יחד עם החיישנים, גם את האופציה לבקרת שיוט אדפטיבית, בה המחשב מאיץ או מאט את האופנוע בהתאם לתנועה מקדימה – ללא התערבות הרוכב. חיישנים אחוריים מייצרים התראה על רכב שעוקף או נוסע צמוד מדי. בחנו מערכת דומה בדוקאטי מולטיסטראדה V4 החדש והתרשמנו מבשלות המערכת.

    בהונדה מצרפים שני פיצ'רים מעניינים על הנייר. האחד מוסיף מצלמות שיכולות להגיב לאורות בלם של הרכבים מלפנים, והשני מחבר את מערכת הרדאר ל-IMU, שגם יודע לשלוט על גיר ה-DCT האוטומטי המוצע בגרסאות מסוימות ולהתאים את אופי ההילוך המשולב לתנועה מלפנים.

    על-פי התרשימים, בהונדה בוחנים את המערכת על הגולדווינג הגדול ועל האפריקה טווין, כאשר המערכות צפויות להופיע כאופציה בדגמי 2022 של הכנף האדומה.

    Honda Radar Patent (1)

    Honda Radar Patent (2)

    Honda Radar Patent (3)

    Honda Radar Patent (4)

  • הונדה מציגה: פקודות קוליות למסך האופנוע

    הונדה מציגה: פקודות קוליות למסך האופנוע

    בהונדה מציגים את מערכת התקשורת המשולבת החדשה, המאפשרת פקודות קוליות למסך ה-TFT, אפליקציה ייעודית לאנדרואיד, לחצנים ייעודיים על בית המתגים הימני, וכן הצגת ניווט, שיחות, הודעות ומזג אוויר על המסך. המערכת, המתממשקת עם הטלפון הנייד, מערכת התקשורת שבקסדה ומסך ה-TFT, תגיע כסטנדרט בדגמי X-ADV, פורצה 750 ו-CB1000R החדשים, וכאופציה בפורצה 350 החדש. 

    Honda-Smartphone-Voice-Control-010

    המערכת החדשה, Honda Smartphone Voice Control system, עובדת במקביל לאפליקציה החדשה, Honda RoadSync, כששתיהן יחד מאפשרות להפעיל את מסך ה-TFT החדש על-ידי פקודות קוליות המגיעות ממערכת התקשורת שבקסדה. בנוסף לפקודות הקוליות יש גם 4 כפתורי פיקוד חדשים, שנמצאים על בית המתגים השמאלי. המערכת מאפשרת לשלוט ולהציג על המסך את הפונקציות השימושיות בטלפון האנדרואיד, כמו מערכת ניווט (למשל גוגל מפות), מזג האוויר במקום הרכיבה או ביעד הניווט, לקבל ולשלוח הודעות טקסט באפליקציות ההודעות השונות, וכן לענות לשיחות טלפון ולהציג אותן ע מסך ה-TFT ולשמוע מוזיקה באחת מאפליקציות המוזיקה באנדרואיד.

    המערכת כאמור תגיע ככסטנדרט בדגמי X-ADV, פורצה 750 ו-CB1000R החדשים של 2021 וכאופציה בפורצה 350 החדש, כשאת האפליקציה ניתן יהיה להוריד מחנות האפליקציות כבר במהלך החודש הקרוב.

    האפליקציה לאנדרואיד
    האפליקציה לאנדרואיד

    Honda-Smartphone-Voice-Control-003

    Honda-Smartphone-Voice-Control-004

    Honda-Smartphone-Voice-Control-005

    Honda-Smartphone-Voice-Control-006

    Honda-Smartphone-Voice-Control-007

    Honda-Smartphone-Voice-Control-008

  • בוש מציגה מסך TFT מפוצל לאופנועים

    בוש מציגה מסך TFT מפוצל לאופנועים

    חברת בוש מציגה מסך TFT מפוצל חדש, המאפשר לרוכב לבחור את אופציות התצוגה בשני צידי המסך להגברת הנוחות והבטיחות. המסך יגיע בקרוב לאופנועים של ב.מ.וו, דוקאטי וקוואסאקי.

    מסך ה-TFT המפוצל של בוש
    מסך ה-TFT המפוצל של בוש

    הדור החדש של הב.מ.וו R1250RT מציע מסך TFT חדש מתוצרת בוש בגודל 10.25″ המאפשר, במקרה של הגרמנים, הקרנת מערכת הניווט לצד נתוני מנוע ומהירות. המסך החדש הוא הפיתוח האחרון של בוש (BOSCH) המאפשר הקרנת מידע שונה בשני חלקי המסך דרך חיבור בלוטות' ואפליקציית MySpin, המאפשרת שידור אפליקציות הניווט, תקשורת ומוזיקה על-גבי מסך האופנוע.

    גם לדוקאטי מולטיסטראדה V4 החדש מגיע מסך ה-TFT החדש של בוש, בגודל 6.5″ במקרה זה, אשר מאפשר הקרנת מערכת הניווט על המסך הראשי, יחד עם אפשרויות שונות מהאפליקציה. בבוש יציעו את שני דגמי המסכים באופנועי ב.מ.וו, דוקאטי וקוואסאקי בשנת 2021.

    בוש MySpin לאופנועים:

    https://youtu.be/v-TmfaeeNGg

  • WP: בולם XPLOR PRO חדש לאנדורו

    WP: בולם XPLOR PRO חדש לאנדורו

    חברת הבולמים WP שבבעלות ק.ט.מ מציגה בולם חדש, XPLOR PRO 8946, שאמור לשפר את הצמדת הגלגל האחורי לקרקע ואת יעילות הרכיבה.

    חברת הבולמים WP מציגה בולם אחורי מקצועי חדש (אשר מחליף את סדרת ה-Trax), שאמור לעמוד בדרישות רוכבים מקצועיים המשתתפים בתחרויות אנדורו. הבולם החדש משתמש בטכנולוגיות ה-SUPERTRAX, המאפשרת שליטה לא רק על מהירות שיכוך ההחזרה (ריבאונד) האיטית אלא גם על המהירה, וכן PDS (ר"ת Progressive Damping System), על-מנת לשפר את הצמדת הגלגל האחורי לקרקע ולקבל תחושה טובה יותר וזמני הקפה טובים יותר.

    שליטה על שיכוך הכיווץ המהיר
    שליטה על שיכוך ההחזרה המהיר

    הצמדת הגלגל לקרקע מאפשרת לפתח מהירות גבוהה יותר, שכן אי אפשר להאיץ אם אין מגע של הגלגל בקרקע. בנוסף, הרוכב נלחם פחות באופנוע ומשקיע פחות מאמצים ביצור אחיזה ולפיכך מתעייף פחות.

    במערכת ה-SUPERTRAX יש מנגנון כיוון לאותו שיכוך החזרה, אשר מווסת את מעבר השמן דרך מעקף, והלכה למעשה מאפשר שליטה על שיכוך ההחזרה המהיר לצד שליטה על מהירות שיכוך ההחזרה האיטית שנמצאת בבולמים אחוריים באופן מסורתי. כיוון הריבאונד המהיר מתבצע על-ידי בורג כיוון TXN הנמצא בתחתית הבולם, בצמוד לבורג כיוון REB של שיכוך ההחזרה האיטי.

    בולם ה-XPLOR PRO 8946 יהיה זמין החל מה-21 בספטמבר, והוא מתאים לדגמי 2017 ומעלה של דגמי ק.ט.מ EXC בנפחים 150, 250, 300 סמ"ק, ודגמי ה-EXC-F בנפחים 250, 350, 450 ו-500 סמ"ק.

    מחיר בישראל טרם נקבע.

    על שיכוך הכיווץ האיטי
    על שיכוך ההחזרה האיטי
    וכמובן שעל שיכוך הכיווץ המהיר והאיטי
    וכמובן שעל שיכוך הכיווץ המהיר והאיטי
    סקסי!
    סקסי!
  • טכני: כנפונים להצמדה

    טכני: כנפונים להצמדה

    הופעת כנפוני ההצמדה האווירודינמיים ב-MotoGP לפני מספר שנים זלגה גם לאופנועי הכביש הסדרתיים – לשיפור האחיזה מצד אחד וחידוד הנראות מהצד השני. מה באמת הכנפונים עושים והאם באמת צריך אותם?

    דוקאטי פניגאלה V4, דוקאטי סטריטפייטר V4, אפריליה טואנו V4 X, הונדה CBR1000RR-R – אלו חלק מדור האופנועים החדש, החוקיים ומיועדים לשימושי כביש, שמגיעים מהמפעל עם כנפונים להצמדה, ממש כמו באופנועי המרוץ עליהם הם מבוססים. תפקיד הכנפיים להעניק כוח, בסיוע האוויר במהירות גבוהה של האופנוע, על-מנת להצמיד את הגלגל הקדמי אל הקרקע ולשפר את האחיזה.

    כנפונים בדוקאטי פניגאלה V4
    כנפונים בדוקאטי פניגאלה V4

    כאשר האופנוע בתנועה פועלים עליו ארבעה כוחות עיקריים, עם תוספת של כוח חמישי. הכוחות הפועלים הם המנוע שמושך קדימה, כוח הגרר שמתנגד לתנועה (ראו כאן), כוח העילוי שמרים את האופנוע וכוח הכבידה שמוריד אותו. כל עוד האופנוע נע בקו ישר, המשוואה פשוטה למדי: יש לדאוג שכח המנוע יהיה גדול מהגרר על-מנת שהאופנוע יתקדם, ושכוח הכבידה יהיה גדול מכוח העילוי על-מנת שהאופנוע יישאר צמוד לקרקע. הכוח החמישי מצטרף בזמן הפנייה – זהו הכוח הצנטריפוגלי. מדובר על כוח מדומה המושך את הכלי בתנועה מעגלית, לאורך רדיוס הסיבוב, בכיוון הפונה החוצה ממרכז המעגל. למעשה, זהו כוח תוצאתי ונגדי לכוח המושך את האופנוע לתוך הרדיוס.

    כאשר זרימת האוויר מתועלת כראוי נוצרים כוחות עקב הפרשי לחצים, וגודל כוחות אלו ניתן לשליטה באמצעות תכנון נכון. כלומר, מהנדסי האופנועים רוצים לייצר כוח אחד אשר מבטל כוחות אחרים שפוגעים ברכיבה.

    וגם בסטריטפייטר V4
    וגם בסטריטפייטר V4

    על-מנת להתמודד עם כוח העילוי, פותחו אמצעים להגדלת כוח ההצמדה, אשר כאמור פועל כלפי מטה ומתנגד לכוח העילוי. כוח ההצמדה הוא חשוב, אך יכול גם ליצור בעיה. בישורת ארוכה נדרש להקטינו עד למינימום משום שהוא גם יוצר גרר. הגרר – במקרה הזה התנגדות לגלגול – הוא גם תוצאה של חיכוך, ונקבע גם על-ידי משקל וכוח הפועלים כלפי מטה. כוח הצמדה רב מדי עלול לגרום לגרר גבוה מדי, שתוצאתו הפרעה למהירות בישורת וכן צריכת דלק גבוהה. בישורת, כוח ההצמדה צריך להספיק רק כדי למנוע את התרוממות האופנוע כתוצאה ממהירות גבוהה (מאוד). במהלך פנייה לעומת זאת, תפקיד ההצמדה להתנגד לכוח הצנטריפוגלי ולדאוג לאחיזה מוגברת של הגלגל הקדמי. הכנפונים הם אחד האמצעים להתמודדות עם דרישות אלו.

    תפקידם העיקרי של הכנפונים הוא לייצר כוח הצמדה ולאפשר להיגוי, לתאוצה ולבלימה להיות יעילים יותר. כוח גדול על הצמיג הקדמי יביא ליכולת טובה שלו בשלושת תחומים אלו. כנף היא בעלת פרופיל אווירודינמי הפוך: במטוס מטרת הכנפיים הוא להשיג עילוי, על-מנת שהמטוס יתרומם ויחזיק עצמו באוויר, ולכן החלק העליון של פרופיל הכנף ארוך יותר מהפרופיל התחתון, כך שהפרש הלחץ יגרום לכוח דוחף כלפי מעלה. באופנוע (וברכב) הכנפון מעוצב כך שהפרופיל התחתון ארוך יותר ולכן מתקבל הפרש לחצים שלילי – הלחץ בתחתית הכנפון נמוך מהלחץ מעליו, והכוח הנוצר מופעל כלפי מטה.

    כאן בהונדה CBR1000RR-R - לא בולטים החוצה
    כאן בהונדה CBR1000RR-R – לא בולטים החוצה

    אוקי, אז נסכים להסכים שבאופנועי מרוץ המשתתפים בסדרות כדוגמת ה-MotoGP או אליפות הסופרבייק העולמית יש צורך בכנפוני ההצמדה, שכן מהירויות הרכיבה שם מצדיקות את זה, ולא רק בפניות אלא גם בקו ישר כמערכת עזר נוספת למניעת ווילי. עכשיו נשאלת השאלה האם באמת צריך אותם באופנועים סדרתיים? בדוקאטי מצהירים שהכנפונים של הסטריטפייטר V4 מספקים 28 ק"ג של כוח הצמדה במהירות של 270 קמ"ש, 30 ק"ג בפניגאלה V4R החדש באותה המהירות ו-50 ק"ג בפניגאלה V4 סופרלג'רה האקזוטי. הרי אמרנו שכוח ההצמדה נועד לספק יותר אחיזה בפניות דווקא, אבל כמה לקוחות פרטיים יקחו את האופנועים היקרים שלהם ובאמת ינצלו את כל הכוח הזה בפניות?

    אז למה שמים אותם? נזכיר את רכבי הנינג'ה-טורבו היפניים של סובארו ומיצובישי, שהספויילר האחורי התנוסס לו בגאון ובעיקר נועד למשוך שוטרים וגנבים. בדומה ללא מעט רכבים שמשודרגים עם ספוילרים, גם כאן מקדם הפוזה הוא הנרטיב המוביל. אבל לא מזיק גם להוסיף נתונים טכניים שאמורים לבדל דגם אחד מהשני. אנו מאמינים שדגמי העתיד הקרוב ילבשו את כנפוני ההצמדה (ראו את ההונדה CBR600RR החדש), אך הם לא ישרדו את מבחן הזמן. אגב, מי שרוצה לשדרג את האופנוע הפרטי שלו, כבר לפני שנתיים כתבנו על חברת אפטרמרקט שמייצרת כנפונים לדגמים שונים. אז גם אם זה לא יקדם אותנו באחד ממסלולי המרוצים בישראל, זה בהחלט נראה טוב.

    כאן נראה אפקט כוח ההצמדה
    כאן נראה אפקט כוח ההצמדה
  • טכני: תאורת LED לאופנועים

    טכני: תאורת LED לאופנועים

    בשנים האחרונות הפכו פנסי LED לנפוצים יותר ויותר באופנועים וקטנועים – לשדרוג המראה, לעמידות לאורך זמן ולתאורה טובה יותר. במאמר זה נבין מה היתרונות בשימוש בנורות LED, ומה ההבדלים בין מקורות האור הנפוצים לבין נורות LED.

    נורת LED (ר"ת Light-Emitting Diode – דיודה פולטת אור) היא מקור אור אלקטרוני בצורת התקן מוליך למחצה (Semi-Conductor), הפולט אור כתגובה למעבר זרם חשמלי דרכו. מבנה הנורה שונה באופן מהותי ממקורות האור הקונבנציונליים בכך שאין בנורה חוט להט או גז כמו בנורה רגילה, והיא אינה בנויה משפופרות זכוכית רגישה ושבירה.

    הדיודה, בתצורת מוליך למחצה, מאפשרת לזרם חשמלי לזרום בה בכיוון אחד בלבד – כמו שסתום חד-כיווני, רק של זרם חשמלי. הדיודה בנויה מחיבור של שני חומרים שונים במקצת, בצורה המכונה צומת P-N . החומר מסוג P מכיל מטען חיובי עודף (עני באלקטרונים), בעוד המרכיב השני הוא מסוג N ומכיל מטען שלילי עודף (אלקטרונים). כאשר מופעל מתח חשמלי קדמי על התקן מוליך למחצה בעל צומת P-N, האלקטרונים נעים לכיוון החיובי (P) ואילו המטען החיובי נע הפוך (N). כתוצאה מכך מתאחדים שני המטענים בנקודת הצומת, ופולטים אנרגיה בצורת פוטונים. למעשה, כל הדיודות נחשבות כפולטות פוטונים, אך לא בהכרח פולטות אור. החומר המשמש את הדיודה פולטת האור (כאמור, נורת ה-LED) הוא חומר ייעודי שגורם לפליטת פוטונים באורכי גל בתחום הנקלטים לעין האנושית. חומרים מסוגים שונים מחוללים פליטת פוטונים באורכי גל שונים, דבר המתבטא כאור בגוונים שונים, אולם לאופנועים וקטנועים משתמשים ב-LED יחיד המפיק אור באורכי גל קצרים כגון כחול או אולטרה סגול (UV), בשילוב של ציפוי זרחני צהוב אשר יוצר את האור הלבן הבוהק.

    פנסי LED - גם כ-DRL
    פנסי LED – גם כ-DRL

    יעילות אורית ונצילות

    יעילות אורית (לומן לוואט – lm/W) מבטאת את היחס בין עוצמת האור (לומן – יחידת מידה פוטומטרית למדידת עוצמת אור הנקלטת על-ידי עין אנושית) שמתקבל ממקור אור או מגוף תאורה, לבין האנרגיה החשמלית הנדרשת כדי להפיקו (וואט – יחידת הספק). נצילות מבטאת באחוזים את כמות האור המופק מגוף התאורה ביחס לאור שמפיק מקור האור המותקן בו, כלומר כמה מהאנרגיה החשמלית אובדת בצורת חום. מתחילת העשור חל שיפור ניכר ביעילות האורית של נורות LED, לרבות במכלולים שלמים של גופי תאורת LED. אם בתחילתו טווח היעילות האורית של גופי תאורת לד נעו בתחום של 110-60 לומן לוואט, עכשיו כבר מצליחים להגיע ליעילות אורית של כ-200 לומן לוואט.

    העוצמה נמדדת בקלווין (K), שהיא יחידת מידה לטמפרטורת האור ומתייחסת לגוון ורמת האור וההפצה שלו כלפי חוץ. אופנועים עובדים על דרגת טמפרטורת האור הנמוכות יותר, אשר נעות בטווחים שבין 6500K-6000K ומספקות גוון לבן קר ובוהק או אף כחלחל (תאורה ביתית עובדת על טווחים של 3000K ונקראת WARM WHITE עם גוון צהבהב יותר).

    נצילות אורית גבוהה
    נצילות אורית גבוהה

    השפעות הטמפרטורה על היעילות וחסרונות ה-LED

    פעולה תקינה של ה-LED תלויה מאוד בטמפרטורה שבה היא נמצאת, דבר שמהווה את אחד מחסרונותיה – בעיקר בכלי רכב. בטמפרטורה גבוהה מדי, אורך חיי ה-LED מתקצר והבהירות יורדת. עם זאת, בטמפרטורה נמוכה מאוד, עוצמת הבהירות של ה-LED עולה ואורך החיים גדל. התקני תאורת LED טובים אמורים לסלק את החום העודף באמצעות רכיב פינוי חום ייעודי (Sink Heat) בנקודת הצומת P-N – שם מתבצעת המרת האנרגיה החשמלית לאור הנראה לעין.

    כאשר טמפרטורת הצומת (Tj) עולה, תפוקת האור ותוחלת החיים של הנורה יפחתו. למעשה, שלושה גורמים משפיעים על טמפרטורת הצומת: עוצמת הזרם החשמלי דרכו, מערכת הקירור של ההתקן וטמפרטורת הסביבה שבה מותקן ההתקן. בנורות LED לרכבים מותקן גם רכיב קירור חיצוני, אשר מחובר למעטפת ההתקן או מהווה חלק מהמעטפת או מגוף התאורה.

    מאפייני הנורה הנקובים מוגדרים על-ידי יצרניות הנורות בתנאי טמפרטורת צומת של 25 מעלות צלזיוס. אולם בפועל, טמפרטורת הצומת של התקן LED אשר נמצא בטמפרטורת חדר ואשר לו מערכת קירור טובה, תהיה 90-60 מעלות צלזיוס – משמעותית הרבה יותר גבוהה בכלי רכב. זה, אגב, מבטא את אחד מחסרונותיו של ה-LED. חסרון נוסף הוא הסיכון בסנוור התנועה הנגדית בשל ריכוז אור רב באורכי הגל הכחולים שבספקטרום ה-LED הלבן, וכן בגלל שהאור של ה-LED מרוכז מנקודה אחת קטנה.

    בתאורת LED אין אפשרות להחליף נורה שרופה או פגועה, זאת מכיוון שה-LED הוא רכיב במעגל מודפס ואין אפשרות להחליף דיודות – לעומת נורה חשמלית, שהיא רכיב במעגל חשמלי ובת החלפה. משמעות הדבר הוא שגוף תאורה שמבוסס על LED יחזיק עד שהדיודות שבו יסיימו חיים ואז יפסיק לשרת אותנו – גוף חד פעמי.

    וזה גם נראה מעולה
    וזה גם נראה מעולה

    סוגי תאורה נוספים

    הלוגן – נורת להט עם זכוכית קריסטל דקה, חזקה ועמידה בחום הרב הנפלט. אל תוך חלל הנורה משחילים גז הלוגן לפני האיטום ומקבלים בתמורה נורה בוהקת וחזקה. זוהי תצורה פשוטה, אמינה, זולה וניתנת להחלפה, אך עם תוחלת חיים נמוכה.

    קסנון – במקום נורת להט יש תרכובת גזים המוצתים על-ידי מתח החשמלי שמופעל. זה מייצר אור בהיר, חזק וחסכוני. בצד השלילי זוהי מערכת מסורבלת, יקרה ורגישה ללכלוך שמפזר את אלומת האור.

    לייזר –  קרני לייזר מוקרנות אל מערך של מראות לכיוון זכוכית שבתוכה כלוא גז, אשר בתורו מתחמם והופך לבוהק חזק במיוחד. מערכת יקרה מאוד שקיימת למשל ברכבי הפאר של ב.מ.וו.

    מהפכה בעולם התאורה
    מהפכה בעולם התאורה

    אז האם מותר להתקין נורות LED באופנוע שלנו?

    אפשר לכתוב שתאורת LED שינתה את עולם התאורה – החל מסימון וכלה בהארת פנים וחוץ. היתרונות רבים וכוללים יעילות גבוהה, ידידותיות לסביבה, עלות יחסית נמוכה, משך חיים שימושי ארוך ביחס לזה של מקורות האור האחרים, היא אינה פולטת קרינה, נטולת כספית, נחשבת ידידותית לסביבה ונראית טוב.

    לגבי התקנת תאורת LED חליפית על האופנוע, אזי הדבר מוגדר כ'שינוי מבנה' ומחייב אישור משרד התחבורה. במידה ולא עשיתם את התהליך הזה, הדבר עשוי לגרום לקבלת קנס ואף הורדה מהכביש, וכמובן שעם נורת LED שאינה מקורית, האופנוע עלול שלא לעבור מבחן רישוי שנתי (טסט). אתם יכולים להתנחם בכך שבשנים הקרובות הרוב המכריע של האופנועים והקטנועים החדשים יגיעו עם תאורת LED היקפית מקורית מהיצרניות.

    אל תתקינו פנסי LED תחליפיים
    אל תתקינו פנסי LED תחליפיים
  • טכני: יחידת מדידה אינרציאלית (IMU) באופנועים

    טכני: יחידת מדידה אינרציאלית (IMU) באופנועים

    אופנועים וקטנועים מודרניים מגיעים עם מערכת אלקטרונית המודדת את הכוחות והמומנטים הפועלים עליה, ומווסתת בהתאם בקרות עזר שונות כמו בקרות הזינוק, הבלימה, האחיזה, ואף בקרות הווילי והסטופי. אנו נסקור כאן את מערכות ה-IMU המודרניות, שבאות לעזור לנו ברכיבה, לעשות אותנו מהירים יותר ולהציל חיים.

    עד לפני מספר שנים, הרעיון של בקרות אלקטרוניות באופנועים וקטנועים לא היה מובן מאליו. בעולם הרכבים, לעומת זאת, בקרות הבלימה והאחיזה מחויבות על-פי כל תקן וכל דרישה במרבית העולם, לרבות בישראל. כיום, המושגים ABS להטיה, בקרת אחיזה חד או רב-שלבית, בקרת החלקה של הגלגל האחורי (דריפטים), בקרת ווילי, בקרת סטופי ובקרת זינוק הפכו להיות מובנים באופנועי ספורט מודרניים (ראו דוקאטי פניגאלה V2), בייבי-אדוונצ'ר (ק.ט.מ 390 אדוונצ'ר), תלת-גלגלי (ימאהה טריסיטי 300) ואף בקטנועים. מערכות עזר אלו הפכו לזולות לפיתוח, והן אינן משפיעות על המשקל הכללי של האופנוע. לכל הבקרות הללו יש מכנה משותף: הן מקבלות חלק חשוב הנתונים דרך יחידת ה-IMU.

    כך נראה ה-IMU מבפנים
    כך נראה ה-IMU מבפנים

    IMU (ר"ת Inertial Measurement Unit – יחידת מדידה אינרציאלית) היא מערכת אלקטרונית אשר מודדת את הכוחות והמומנטים הפועלים עליה (ועל האופנוע). בעזרת שילוב של מדי תאוצה – חיישנים המשמשים למדידת תאוצה קוויות, סיבובית וג'יירוסקופים – מודדים את הזווית שבין גוף הנמצא בתנועה לגוף במצב אופקי (הקרקע). חיישנים אלו, אגב, נמצאים גם בסמארטפון הממוצע שלכם. אם ניקח, לצורך העניין, בקרת אחיזה או ABS רגיל, אזי הנוסחה כאן היא יחסית פשוטה: חיישני המהירות מודדים את ההבדלים בין המהירות של שני הגלגלים, וברגע שיש פרש מהירויות, המערכת מפחיתה את מהירות המנוע או מפעילה את הבלמים רגעית או משחררת את הבלמים. במקרה של ABS להטיה, המתאפשר רק בעזרת נתונים שמתקבלים מה-IMU, המצב קצת יותר מורכב: בזמן פנייה הציר הקדמי והציר האחורי מבצעים דרך מעט שונה, שגם נובע מהמידות השונות של הגלגלים והצמיגים. במקרה כזה, המחשב צריך לקבל תמונת מצב מדויקת, לדעת לעבד מידע על זווית ההטייה ביחס לכביש, התאוצה או ההאטה, ולהפעיל את המערכות הרלוונטיות למצב.

    מד התאוצה והג'יירוסקופ מכוילים בצורה המאפשרת למדוד את הזווית והמצב של כל ציר. למעשה, IMU ב-6 צירים, אליו אנו מתייחסים באופנועים המודרניים, מודד עלרוד (Pitch), גלגול (Roll), סבסוב (Yaw), תאוצה אורכית (Longitudinal Acceleration), תאוצה אנכית (Vertical Acceleration) ותאוצה אלכסונית וצדית (Transverse Acceleration). מערכת ה-IMU קוראת את הנתונים בין 100 ל-125 פעמים בשנייה, והיא מעבירה את המידע דרך רשת ה-CAN Bus (ר"ת Controller Area Network). כאן מדובר על מחשב יחיד אשר משמש כממשק, אשר דרך שני חוטים מלופפים מעביר מידע בין כל המערכות. מהירות העברת הנתונים של ה-CAN Bus היא בין 500 ל-1,000 נתונים בשנייה. מספיק נתונים כדי לספק תגובות מחשב מהירות לכל אחת ממערכות העזר, עליהן תכף נרחיב.

    IMU 6 AXIS

    מערכת ABS (ר"ת Antilock Brake System) – מערכת למניעת נעילת גלגלים בבלימה. המערכת מחולקת למחשב ולמודולטור – בית שסתומים. חיישני מהירות על הגלגלים מדווחים למחשב מה מהירותו של כל גלגל, וכאשר תחת בלימה אחד הגלגלים מאט משמעותית או נעצר לגמרי, כלומר מחליק, המחשב, דרך המודולטור, משחרר לחצים מקו צינור הבלם של אותו גלגל בתדירות של עשרות פעמים בשנייה ובכך מונע את נעילת הגלגל. חיישני ה-IMU יודעים לקחת בחשבון גם מצב בו האופנוע נמצא בהטיה, שם יש פחות שטח מגע של הצמיג בקרקע, להעביר את המידע ולווסת את ה-ABS בהתאם.

    מצערת חשמלית היא מצערת שבה כשהרוכב פותח את ידית המצערת הוא לא פותח פיזית את הפרפרית בגוף המצערת, אלא נותן פקודה למחשב להאיץ את המנוע. המחשב מצידו מתחשב בנתונים נוספים ופותח את המצערת לפי מה שנכתב לו במפת ניהול המנוע. למערכת ניהול מנוע עם מצערות חשמליות, שמקבלת את הנתונים דרך כל החיישנים, יש יתרון מהותי נוסף – היא מאפשרת הטמעה של מערכות עזר אלקטרוניות נלוות בקלות רבה יחסית, ולמערכות מסוימות היא אף הכרח. מערכות בקרת החלקה, מערכות בקרת ווילי (כולל אפשרות לשליטה על גובה הרמת הגלגל) או בקרת זינוק – כולן קלות יותר ליישום עם מצערות חשמליות. גם מערכת בקרת שיוט, שבה הרוכב קובע את מהירות הנסיעה, קלה מאוד ליישום עם מצערות חשמליות, שכן אז מחשב ניהול המנוע שומר על מהירות הנסיעה שנקבעה על-ידי פתיחה או סגירה של המצערות בהתאם לצורך. גם קוויקשיפטר, שמאפשר להעביר הילוכים ללא שימוש במצמד, מרחיב את פעולתו עם מצערות חשמליות. קוויקשיפטר שמאפשר רק העלאה של הילוכים אפשרי כמעט בכל מערכת הזרקת דלק מפני שמספיק ניתוק רגעי של ההצתה וההזרקה כדי להעביר הילוך, אולם בקוויקשיפטר שמאפשר גם הורדת הילוך (אוטובליפר) נדרשות מצערות חשמליות, שכן בהורדת הילוך המחשב פותח את המצערות, בעצם נותן 'גז ביניים', משווה מהירויות בין המנוע לבין ההילוך הנבחר שאליו מורידים, ומאפשר העברת הילוך חלקה.

    כך נראית יחידת ה-IMU של בוש
    כך נראית יחידת ה-IMU של בוש

    בקרת החלקה, בקרת אחיזה, בקרת משיכה, בקרת יציבות – כל אלו שמות שונים של כמעט אותה המערכת. מערכת בקרת האחיזה מזהה שינויי מהירויות בין שני הגלגלים בזמן תאוצה, כלומר סיבוב יתר של הגלגל האחורי (החלקה בתאוצה), ומפחיתה את כוח המנוע על ידי הקטנת ההזרקה ואיחור ההצתה. מערכות פשוטות, כמו למשל בכלים היפניים, עובדות רק על מחשב ניהול המנוע ומפחיתות את מומנט המנוע תוך כדי החלקה בתאוצה. מערכות מתקדמות יותר, כמו בכלים האירופאיים היוקרתיים, משלבות את מערכת ה-ABS עם מחשב ניהול המנוע (שוב, על ידי תקשורת CAN Bus), ויודעות לווסת את כוח המנוע הרבה יותר טוב ועל ידי כך לקבל הפחתת כוח חלקה יותר, בלי המכה הנלווית לניתוק המנוע.

    מערכות האלקטרוניקה המודרניות מעניקות תמונת מצב מדויקת ועדכנית למערכת ניהול המנוע, שמתפעל את המערכות הרלוונטיות בהתאם למצב הנתון. בוש – החברה המובילה בתחום, שהחיישנים שלה יודעים לעבוד עם מרבית היצרנים – פיתחה את מערכות החיישנים שלה רק בסוף שנות ה-90, שכללה אותם לכדי צ'יפים מיקרוסקופיים, והטמיעה אותם באופנועים שניתן לרכוש באולמות התצוגה – כמובן, שקבוצות מרוצים מהליגה הראשונה כבר עבדו איתם עוד לפני כן – רק בעשור האחרון. מערכות אלו יודעות לשמור עלינו בראש ובראשונה וגם לגרום לנו להיות מהירים יותר במסלול, בכביש ובשטח.

    וכך נראה היישום על מערכת ABS להטיה
    וכך נראה היישום על מערכת ABS להטיה

    תודה לגידי גולן על העזרה בהכנת הכתבה.

  • ב.מ.וו מציגה בקרת שיוט אקטיבית לאופנועים

    ב.מ.וו מציגה בקרת שיוט אקטיבית לאופנועים

    ב.מ.וו הציגו את ה-ACC (ר"ת Active Cruise Control) – בקרת שיוט אקטיבית.

    חטיבת האופנועים של ב.מ.וו מתאימה ומטמיעה פעמים רבות את הטכנולוגיה שקיימת מזה שנים ברכבי החברה השונים, וכעת מציגה החברה בקרת שיוט אקטיבית שיודעת לווסת את מהירות האופנוע בהתאם למהירות כלי הרכב שנמצא לפני הרוכב, וכן לשמור על מרחק קבוע. המערכת פותחה יחד עם חברת בוש, והיא מאפשרת לרוכב – בלחיצת כפתור – לקבוע את מהירות האופנוע ואת המרחק הרצוי מבחינתו מהרכב שלפניו על פי שלוש אופציות מרחק שונות שתוכנתו מראש. החיווי לכל מצב יופיע במסך ה-TFT.

    כך נראה החיווי על מסך ה-TFT
    כך נראה החיווי על מסך ה-TFT

    למערכת ה-ACC יש שני מצבים לקביעת קצב ההאצה וההאטה: 'נוחות' (Comfortable) ו'דינמיות' (Dynamic). בזמן פנייה מערכת השיוט האקטיבית תאט את האופנוע ותחזור למהירות שנקבעה לאחר יישור האופנוע. אם זווית ההטיה של האופנוע גדלה, כלומר הרוכב מטה את האופנוע יותר, המערכת תגביל את התערבותה על-מנת שלא להשפיע על התנהגות האופנוע או השליטה של הרוכב. כמובן שבכל רגע הרוכב יכול לבחור לבטל את הבקרה.

    בב.מ.וו מדגישים שבקרת השיוט האקטיבית רלוונטית רק בתנועה זורמת, והיא אינה מתאימה לסיטואציה של רמזורים, פקקי תנועה או רכבים נייחים.

    בב.מ.וו מתעדים להציע את מערכת בקרת השיוט האקטיבית כאופציה בכל דגמיה בעתיד, ואנו מאמינים שלישראל היא תגיע אינטגרלית בכל דגמי היוקרה שמגיעים ארצה.

    צפו בווידאו המסביר על פעולת המערכת:

    NMW-ACC-015

    NMW-ACC-018

    NMW-ACC-020

  • אינדיאן מציגה מושב ממוזג עם חימום וקירור

    אינדיאן מציגה מושב ממוזג עם חימום וקירור

    טכנולוגיה חדשה לחימום וקירור רוכבי אופנועים: יצרנית האופנועים אינדיאן מציגה את ה-ClimaCommand, אשר יודע גם לחמם וגם לקרר את מושבי הרוכב והמורכב.

    חימום או קירור - לבחירת הרוכב והמורכב
    חימום או קירור – לבחירת הרוכב והמורכב

    יצרנית האופנועים האמריקאית אינדיאן הודיעה על פיתוח חדשני בעולם נוחות הרוכב. באינדיאן מציגים מושבי רוכב ומורכב אשר מציעים אפשרויות קירור לצד חימום. מערכת ה-ClimaCommand Classic Seat התרמו-אלקטרונית מציעה משטח קר למגע עם חומר שעשוי מגרפן שיודע – באמצעות היפוך חשמלי – להפוך צד לטמפרטורות החמות או הקרות, בניגוד למערכת שמזרימה אוויר קר.

    בעזרת שליטה נפרדת לרוכב ולמורכב יוכלו שניהם לבחור בין Low, Medium, High לכל אופציה, או כמובן כיבוי מוחלט. אופציה נוספת למורכב היא חיבור המערכת למשענת הגב ומשענות הידיים בדגמי ה-Thunderstroke, צ'יפטיין ורואדמסטר.

    קירור למושב זה לגמרי פריט חובה לרוכב הדו-גלגלי בקיץ הישראלי.

    מושב האינדיאן רואדמסטר
    מושב האינדיאן רואדמסטר
    מושב האינדיאן צ'יפטיין
    מושב האינדיאן צ'יפטיין