תגית: ב.מ.וו

  • ב.מ.וו: פטנט על מושב רוכב מתרחב

    ב.מ.וו: פטנט על מושב רוכב מתרחב

    פטנט חדש של ב.מ.וו חושף רעיון למושב רוכב אשר ניתן לכיוון לרוחבו – להתאמה מקסימלית לישבן הרוכב ולאופי הרכיבה.

    מושב הנהג ברכב מודרני ניתן להתאמה בכל פרמטר אפשרי – החל משינוי מרחק מההגה, גובה, זווית משענת ועוד. יש כאלה שניתן לכוון בהם את המושב לרוחב וכאלה שניתן לכוון לעומק. בעולם האופנועים המצב לא כך. רק בשנים האחרונות התפתחו מושבים שיכולים להתכוונן לגובה, וזהו פחות או יותר. בודדים גם מציעים אופציה לחימום, ואפילו לקירור ישבן הרוכב.

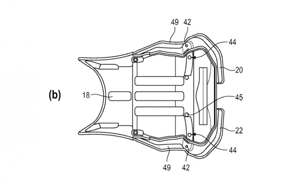
    מושב מתכוונן לרוחב
    מושב מתכוונן לרוחב

    בב.מ.וו מגישים כפטנט אופציה נוספת המאפשרת לכוון גם את רוחב המושב. לפי תרשים הפטנט שנחשף, החלק הקדמי נשאר מקובע למקומו, ואילו האחורי מורכב משני חלקים, שאותם ניתן – בצורה ידנית או חשמלית – להרחיק אחד מהשני ולאפשר התאמה לרוחב ישבן הרוכב. ככל הנראה יהיו שניים או שלושה שלבים לבחירה בממד הרוחב.

    אין מידע נוסף בשלב זה, אך ההערכות הן שב.מ.וו יטמיעו את המושב המתרחב כאופציה לדגמי האדוונצ'ר העתידיים (בתרשים רואים את ה-F850GS) – למשל כדי שברכיבת שטח לרוכב תהיה האופציה להצר את המושב לצורך דינמיות, ואילו ברכיבת כביש ארוכה לכוון אותו למצב רחב ונוח יותר. נמשיך לעדכן.

    כך נראה המושב במצב הצר
    כך נראה המושב במצב הצר

    BMW SEAT (1)

  • ב.מ.וו: שיא מכירות בשנת 2021

    ב.מ.וו: שיא מכירות בשנת 2021

    ב.מ.וו מסכמת בחיוך את שנת 2021 עם שנת שיא, עם גידול של כ-15% לעומת שנת 2020, ועם שיא מכירות ל-R1250GS – רגע לפני החלפתו הצפויה.

    שנת 2020 הייתה שנה מורכבת, עם משבר הקורונה העולמי ועם ירידה במכירות לכלל היצרנים, כאשר בב.מ.וו רשמו ירידה של 18% במכירות במחצית השנה הראשונה. לקראת סוף השנה נרשמה התאוששות והמספרים השתפרו, אך נשארו שליליים עם ירידה של כ-3.6% במכירות 2020 וסך של 169,272 אופנועים וקטנועים, וזאת לאחר 9 שנים רצופות של עלייה בנתוני המכירות.

    שנת 2021 מוחקת כל זכר לשנה שעברה, ומציבה את סיכום המכירות השנתי של ב.מ.וו על 194,261 כלים בסך הכל, במקביל לגידול בכל תעשיית האופנועים העולמית. נתון מאוד מעניין הוא שכ-60,000 אופנועים מהנתון הזה שייכים לדגם ה-R1250GS הוותיק, כשהשנה ה-R1300GS החדש אמור להחליף אותו. בישראל נמכרו בסיכום השנה 433 אופנועים וקטנועים מתוצרת ב.מ.וו.

    ב.מ.וו כמובן מתפרנסים בעיקר מחטיבת הרכב, שמסכמת את שנת 2021 עם 2,521,525 כלי רכב שנמכרו מכל המותגים (כולל האופנועים) – גידול של 9.1% משנת 2020.

  • אירוע הרכיבה השנתי של ב.מ.וו

    אירוע הרכיבה השנתי של ב.מ.וו

    אירוע הרכיבה המסורתי של ב.מ.וו לרוכבי המותג התקיים בפעם השמינית ברציפות – להוציא את שנת 2020 שבה הקורונה מנעה פעילויות המוניות. יותר מ-300 אופנועים וכ-500 איש השתתפו בטיול, שהפעם עלה לגליל התחתון בואכה גליל עליון, והסתיים בכנרת בארוחת צהריים עשירה, בפעילויות ימיות ובהופעה של טיפקס.

    אירוע הרכיבה של ב.מ.וו לרוכבי המותג, או 'הטיול השנתי' כפי שמכונה על-ידי הרוכבים עצמם, כבר מזמן הפך למסורת ולשם דבר אצל רוכבי ב.מ.וו. הטיול הזה הוא הדרך של יבואנית ב.מ.וו להחזיר מעט לרוכבים, לגרום לגיבוש ול'גאוות יחידה', ולאפשר להם להזדהות עם ערכי המותג. לטווח הארוך זו השקעה משתלמת, אגב, למרות ההוצאות הכבדות. הרוכבים עצמם מחכים לאירוע הזה, וגם השנה – כמו בכל שנה – ההרשמה נסגרה תוך שעות ספורות מרגע פתיחתה עקב הביקוש הגבוה. נציין גם שהרוכבים לא משלמים על האירוע, שמופק כולו על-ידי היבואנית.

    יותר מ-300 אופנועים וכ-500 אנשים השתתפו במהדורת 2021 של הטיול. הרושם שלנו הוא שהרוכבים רעבים לאירועים כאלה, בעיקר בשל שנת הקורונה שמנעה את האפשרויות לקיים אירועים המוניים. ורוכבים, כידוע, אוהבים אירועים המוניים.

    צפו בווידאו: אירוע הרכיבה השנתי של ב.מ.וו 2021:

    צילום ועריכה: שי דרויאק

    האירוע התחיל במפגש בכפר קדם שבמצפה הושעיה בגליל התחתון, ומשם נחלקו הרוכבים לקבוצת רכיבה בכביש וקבוצת רכיבה בשטח – לפי הרשמה מוקדמת. מסלולי הרכיבה עברו בגליל התחתון בואכה גליל עליון, והסתיימו בכנרת. תמיד מרשים לראות מאות אופנועים רוכבים בשיירה ארוכה – במיוחד אופנועים גדולים עם נוכחות רבה, ועל אחת כמה וכמה כשיש דגם אחד דומיננטי מאוד – במקרה הזה R1200GS / R1250GS. לא נגזים אם נגיד ששלושה מתוך ארבעה אופנועים באירוע הרכיבה הזה היו GS-ים.

    על החוף בכנרת נהנו הרוכבים מארוחת צהריים עשירה, מפעילויות ספורט ימיות, ומהופעה של להקת טיפקס. בין לבין דיברו שחר שמש, המשנה למנכ"ל דלק מוטורוס יבואנית ב.מ.וו, ורן בוזנח, מנהל מותג ב.מ.וו בדלק מוטורס.

    באירוע הזה בחרנו לרכוב על ה-R 1250 RT החדש של 2021. ב-RT התאהבנו שתי גרסאות אחורה, ב-2013, אז גילינו את היכולות הגבוהות של מכונת התיור הזו, שמשלבת נוחות גבוהה עם יכולות דינמיות מרשימות, פינוק רב לרוכב כמו מערכת שמע מתקדמת ומיגון רוח מעולה, וגם האופי המיוחד של מנוע הבוקסר של ב.מ.וו.

    לפני שנתיים ה-RT קיבל את מנוע ה-1250 החדש, ולשנת 2021 הוא מקבל מתיחת פנים עיצובית מתבקשת, עם פנסי LED קדמיים, את מסך ה-TFT המפוצל בגודל "10.25, וכן את בקרת השיוט האקטיבית הכוללת רדאר קדמי ומאפשרת שיוט בשמירת מרחק מהרכב שלפנים – כולל האטה וכולל הפעלת בלמים אגרסיבית במידת הצורך. ה-RT, יחד עם ה-R 18 B והטרנסקונטיננטל, הם הכלים הראשונים של ב.מ.וו שמקבלים את בקרת השיוט האקטיבית ואת מסך ה-"10.25 המפוצל.

    ב.מ.וו R 1250 RT דגם 2021 - חזית הטכנולוגיה של ב.מ.וו
    ב.מ.וו R 1250 RT דגם 2021 – חזית הטכנולוגיה של ב.מ.וו

    ה-RT כמובן שומר על המאפיינים המוכרים שלו כמו הנוחות הגבוהה, מיגון הרוח המצוין, יחידת הקוקפיט המפוארת, היכולות הדינמיות הגבוהות (ואפילו המפתיעות), וגם על הטכנולוגיה המתקדמת, כשלשנת 2021 הוא אחד האופנועים הטכנולוגיים ביותר שיש בליין הכלים של ב.מ.וו, כשהוא מציע את כל מה שב.מ.וו יכולה לשים על האופנועים שלה – החל מ-ABS ובקרת אחיזה מתקדמות להטיה, דרך מצערות חשמליות ומצבי רכיבה, מתלים חשמליים סמי-אקטיביים, ועד חימום לידיות ולמושבים, משקף בתפעול חשמלי, מערכת שמע מתקדמת, חיישני לחץ אוויר בגלגלים, וכאמור מסך TFT מפוצל ובקרת שיוט אקטיבית עם רדאר קדמי.

    אפשר לסכם ולהגיד שאירוע הרכיבה השנתי של 2021 היה מושקע ומוצלח מאוד, ויעידו על כך האנרגיות הגבוהות של המשתתפים וכמויות החיוכים. כמו תמיד, אנחנו חושבים שאירועים כאלה, שמטרתם להחזיר קצת לרוכבי המותג ולפרגן להם בחזרה, עושים רק טוב לכולם, מפתחים את התרבות המוטורית כולה, מחזקים את המותג בעיני הלקוחות, ואפילו גורמים ל'גאוות יחידה' בקרב הרוכבים. נתראה גם באירוע של השנה הבאה.

    BMW-Trip-2021-005

    BMW-Trip-2021-001

    BMW-Trip-2021-004

    BMW-Trip-2021-006

    BMW-Trip-2021-008

    BMW-Trip-2021-020

    BMW-Trip-2021-019

    BMW-Trip-2021-022

    BMW-Trip-2021-012

    BMW-Trip-2021-013

    BMW-Trip-2021-014

    BMW-Trip-2021-015

  • ב.מ.וו: ה-K1600 מתחדש ל-2022

    ב.מ.וו: ה-K1600 מתחדש ל-2022

    ב.ב.מ.וו מעדכנים את ארבעת דגמי ה-K1600 עם עדכוני מנוע לטובת יורו 5, עדכוני בולמים, רענון לעיצוב ומסך TFT מפוצל בגודל "10.25.

    ה-K1600, דגם התיור של ב.מ.וו שהוצג בשנת 2011 וקיבל מתיחת פנים ב-2016, מקבל מספר עדכונים המתפרשים לרוחב ארבעת הדגמים במשפחה: GTL, GT, באגר וגרנד אמריקה. השינוי ההכרחי הוא עדכון מנוע ששת הצילינדרים בשורה בנפח 1,649 סמ"ק לעמידה בתקנות יורו 5. 160 כוחות הסוס נשארים במקומם, אך מתקבלים כעת במהירות הנמוכה ב-1,000 סל"ד (6,750 סל"ד), והמומנט עלה מעט ל-18.3 קג"מ.

    ב.מ.וו K1600 ב-4 דגמי 2022
    ב.מ.וו K1600 ב-4 דגמי 2022

    מערכת המתלים האלקטרונית הסמי-אקטיבית של ב.מ.וו – Dynamic ESA 'הדור הבא' – מכוונת בעצמה את עומס הקפיץ ואת שיכוך ההחזרה לפי מצבי ניהול המנוע והאופנוע. נוספה מערכת MSR למניעת נעילת גלגל אחורי בעת האטה, ופנסי LED להטיה שגם מפצים על שינויי הגובה בעת האצה או בלימה.

    חדש ל-2022 הוא מסך ה-TFT הגדול והמפוצל שראינו ב-R 18 B, עליו רכבנו בהשקה העולמית, שמגיע בגודל של "10.25. יש מערכת שמע משודרגת, וכן את שאר מערכות האלקטרוניקה והבטיחות העדכניות ביותר. באופן מעניין, מערכת הרדאר הקדמי לא הגיעה לסדרת ה-K1600.

    דגמי הב.מ.וו K1600 המעודכנים לשנת 2022 יגיעו לישראל. מחירים טרם נמסרו.

    מסך TFT מפוצל בגודל "10.25
    מסך TFT מפוצל בגודל "10.25
    ב.מ.וו K1600GT דגם 2022
    ב.מ.וו K1600GT דגם 2022
    ב.מ.וו K1600GT דגם 2022
    ב.מ.וו K1600GT דגם 2022
    ב.מ.וו K1600GT דגם 2022
    ב.מ.וו K1600GT דגם 2022
    ב.מ.וו K1600GTL דגם 2022
    ב.מ.וו K1600GTL דגם 2022
    ב.מ.וו K1600GTL דגם 2022
    ב.מ.וו K1600GTL דגם 2022
    ב.מ.וו K1600GTL דגם 2022
    ב.מ.וו K1600GTL דגם 2022
    ב.מ.וו K1600B דגם 2022
    ב.מ.וו K1600B דגם 2022
    ב.מ.וו K1600B דגם 2022
    ב.מ.וו K1600B דגם 2022
    ב.מ.וו K1600 גרנד אמריקה דגם 2022
    ב.מ.וו K1600 גרנד אמריקה דגם 2022
    ב.מ.וו K1600 גרנד אמריקה דגם 2022
    ב.מ.וו K1600 גרנד אמריקה דגם 2022

    BMW-K1600-2022-004

  • ב.מ.וו R 18 B באגר בהשקה עולמית

    ב.מ.וו R 18 B באגר בהשקה עולמית

    • יתרונות: מנוע מהנה, קונספט באגר, נוחות, טכנולוגיה ובטיחות, אבזור
    • חסרונות: מחיר
    • שורה תחתונה: גרסאות הבאגר והטרנסקונטיננטל הן הנכונות יותר במשפחת ה-R 18, והן מספקות המון אופנוע והמון טכנולוגיה – כמו שהסגמנט דורש
    • מחירים: 245-230 אלף ש"ח ל-R 18 B, ו-250-235 אלף ל-R 18 טרנסקונטיננטל
    • מתחרים: הארלי דיווידסון רואד גלייד, הארלי דיווידסון אולטרה לימיטד, הארלי דיווידסון סטריט גלייד, אינדיאן צ'לנג'ר, אינדיאן צ'יפטיין, אינדיאן רואדמסטר

    צפו בווידאו: ב.מ.וו R 18 B באגר בהשקה עולמית:

    עריכת וידאו: אביעד אברהמי

    כששמענו את הנתון הזה לראשונה הרמנו גבה, אבל כשנתנו לו לשקוע הוא בהחלט הסתדר בראש: אחד הסגמנטים הנמכרים יותר בתוך תחום האופנועים הגדולים והיקרים הוא של הקרוזרים האמריקאים הגדולים. זה מפליא בתחילה משום שבשוק האירופאי, שישראל היא חלק ממנו, הסגמנטים הדומיננטיים הם של האדוונצ'רים הגדולים והנייקדים, אולם בשוק האמריקאי קרוזרים גדולים של 300 ו-400 ק"ג עדיין מהווים חלק הארי מהאופנועים שנמכרים, עם כמה עשרות אלפי הארלי דיווידסון ועוד כמה אלפי אינדיאנים בכל שנה.

    מהסגמנט הזה בב.מ.וו רצו לנגוס חתיכה, ולא רק מפני שזה אחד הסגמנטים הגדולים – אלא גם אחד היקרים והרווחיים. הקרוזרים הגדולים הם אופנועים מוגזמים שמצוידים בטכנולוגיה מתקדמת ובאבזור רב, וכפועל יוצא מחיר הרכישה שלהם גבוה וביחס ישר שורת הרווח על כל מכונה שנמכרת. בנוסף – ואפילו לא פחות חשוב – סביב האופנועים הללו יש תעשייה שלמה של קאסטומיזציה, של שיפורים, של תוספות, של אביזרים, של ציוד ושל ביגוד, ואלו שווים ליצרניות הרבה כסף – לעתים לא פחות מהאופנוע עצמו.

    כדי לנגוס בסגמנט בב.מ.וו פיתחו פלטפורמה חדשה לחלוטין, שאמנם נשענת על טכנולוגיית מנוע הבוקסר המוכחת של ב.מ.וו, אבל הקונספט עצמו חדש לחברה. ראשית הוצג המנוע – בוקסר בנפח עצום של 1,802 סמ"ק. צמד הצילינדרים הענקיים בתצורת בוקסר מציעים קוטר קדח עצום של 107.1 מ"מ ומהלך בוכנות של 100 מ"מ ארוכים, כשיש 4 שסתומים עיליים לצילינדר וגל זיזים תחתון שמעביר את התנועה לנדנדים ולשסתומים דרך מוטות דחיף. הביג בוקסר מקורר אוויר-שמן, והוא מגיע עם מערכת הזרקת דלק עם מצערות חשמליות ו-3 מצבי ניהול מנוע. ההספק המקסימלי לא גבוה ועומד על 91 כ"ס ב-4,750 סל"ד, אולם המומנט עצום ומציע בשיא 16.1 קג"מ ב-3,000 סל"ד, אבל כבר מ-2,000 סל"ד יש יותר מ-15 קג"מ(!). יש שישה הילוכים וקלאץ' רב-דיסקי יבש ומחליק בתפעול הידראולי, ויש גם הילוך אחורי שמופעל על-ידי שילוב המתנע החשמלי. ואם שאלתם את עצמכם כמה שוקל המנוע הענק הזה, אז התשובה היא קצת יותר מ-110 ק"ג.

    ב.מ.וו R 18 B באגר
    ב.מ.וו R 18 B באגר

    סביב המנוע הזה נבנה ה-R18, כשבב.מ.וו מיקסמו את היח"צ על-ידי כך שנתנו את הפלטפורמה לכמה סדנאות קאסטומיזציה מוכרות, כדי שאלו יתנו את הפרשנות העיצובית שלהן ל-R 18 (כאן, כאן וכאן). את ה-R 18 בגרסה הפשוטה ביותר חשפו ב.מ.וו באפריל 2020. במבחן הדרכים שערכנו ל-R 18 פיור גילינו אופנוע מהנה מאוד עם ערימות של אופי, אבל הוא היה עירום מדי. כתבנו שהמחיר שלו נמצא ביחס הפוך לשימושיות שלו. חצי שנה אחרי גרסת הפיור נחשפה גם גרסת הקלאסיק, המאובזרת מעט יותר וכבר מהווה קצת יותר אופנוע.

    שנה נוספת עוברת, ובב.מ.וו משיקים צמד גרסאות נוספות של ה-R 18, מאובזרות הרבה יותר וגם טכנולוגיות יותר – הבאגר והטרנסקונטיננטל. שתיהן גרסאות גדולות ומאובזרות של ה-R 18, ושתיהן לוקחות את הקונספט לכיוון התיור האמריקאי ארוך הטווח. אפשר גם לומר ששתיהן מוגזמות – בדיוק כמו שהקהל האמריקאי חובב הקרוזרים אוהב את האופנועים שלו. כמה מוגזמות? ובכן, די אם נספר שהבאגר שוקל 398 ק"ג, ואילו הטרנסקונטיננטל המאובזר אף יותר שוקל לא פחות מ-427 ק"ג.

    ה-R 18 B הוא הבאגר במשפחה. זה אומר חזית עצומה המכילה את הפנס הקדמי (LED כמובן), משקף רוח, וקוקפיט עצום הכולל 4 שעונים עגולים, מסך TFT צבעוני בגודל "10.25, וצמד רמקולים קדמיים. מאחור יש זנב נמוך יחסית עם צמד ארגזי צד קשיחים וננעלים בנפח 27 ליטרים כל אחד. האמריקאים מאוד אוהבים באגרים, וחייבים להודות שיש להם קטע טוב. זאת הסיבה, אגב, שגם לגולדווינג של הונדה וגם ל-K 1600 של ב.מ.וו יש גרסאות באגר המכוונות לשוק האמריקאי.

    ב.מ.וו R 18 B טרנסקונטיננטל
    ב.מ.וו R 18 B טרנסקונטיננטל

    הטרנסקונטיננטל לוקח את הקונספט לכיוון הגרנד-טורר לטווח ארוך, ומוסיף על הבאגר את המושב האחורי העצום של המורכב, הכולל חימום לשני המושבים, משענת גב ומשענות ידיים, משקף רוח גבוה יותר, וכן ארגז אחורי בנפח 48 ליטרים. אם הבאגר מיועד בעיקר לרכיבות סולו ומציע מושב מורכב קטן יחסית (אם כי נוח למדי), הטרנסקונטיננטל כבר מציע למורכב איכות חיים של מחלקת עסקים. גם את זה האמריקאים אוהבים.

    שני הכלים מצוידים בטכנולוגיה מתקדמת מאוד. יש כמובן מצערות חשמליות עם שלושה מצבי רכיבה – רוק, רול וגשם, ויש כמובן ABS ובקרת אחיזה. הפנסים כולם LED, יש מפתח קרבה KEYLESS, ויש גם ידיות מחוממות. קוויקשיפטר לא תמצאו פה, בעיקר בגלל המסיביות של הגיר והתפעול האיטי יחסית, אבל כן תמצאו פה בקרת שיוט אקטיבית ומתקדמת הכוללת רדאר קדמי ופותחה בשיתוף עם בוש. ה-R 18 B והטרנסקונטיננטל הם הכלים הראשונים של ב.מ.וו שמקבלים את המערכת הזו, וכן את מסך ה-TFT הגדול והמפוצל – יחד עם ה-R 1250 RT ששודרג ל-2021. ב-2022 שתי המערכות הללו יהיו באופנועים נוספים של ב.מ.וו. כך יוצא שה-R 18 באגר וטרנסקונטיננטל הם מהכלים היותר טכנולוגיים של ב.מ.וו לעת הזו.

    מערכת נוספת שמקבלים צמד הכלים היא מערכת השמע המתקדמת, פרי שיתוף הפעולה של ב.מ.וו עם חברת הרמקולים הבריטית Marshall. כך, ה-R 18 B והטרנסקונטיננטל מגיעים עם מערכת שמע מתקדמת הנשלטת כולה מממשק התפעול של ב.מ.וו הכולל גלגלת בבית המתגים השמאלי וממסך ה-TFT, כשהמערכת כוללת צמד רמקולים קדמיים של מרשל, עם אופציה לארבעה רמקולים אחוריים, מהם שני סאב-וופרים. אחרי יום רכיבה שלם על ה-R 18 B עם מערכת השמע והרמקולים של מרשל אנחנו יכולים להגיד שב.מ.וו הציבו סטנדרט חדש של מערכות שמע היקפיות לאופנועים, עם איכות שמע מעולה ותפעול נוח ואינטואיטיבי – מה שמייתר את הצורך בשמיעת מוזיקה דרך הדיבורית שבקסדה. מסך ה-TFT, אגב, מתממשק כמובן לטלפון הסלולרי ולדיבורית, כך שהתפעול כולו מתבצע מבית המתגים.

    קוקפיט ענק
    קוקפיט ענק ומערכת שמע עם רמקולים של מרשל

    היכולות הדינמיות טובות למדי, על אף הגודל והמשקל העצומים. המומנט העצום מגיע מוקדם מאוד, כשכבר ב-1,000 סל"ד יש כוח לדחוף את המכונה קדימה בתאוצה החלטית. ב-2,000 סל"ד יש כבר מומנט של מכונית – יותר מ-15 קג"מ – ובתחום הזה עד לשיא המומנט שמתקבל ב-3,000 סל"ד יש את כל הכוח הדרוש לרכיבה, ויותר. שני אלמנטים מאוד אהבנו: הראשון הוא הרוגע שבו הכל מתבצע, בעיקר בגלל משקל המנוע ומהירותו הנמוכה, והשני הוא תחושת החספוס הנעימה של מנוע הבוקסר של ב.מ.וו, שאותה אנחנו מאוד אוהבים משאר הבוקסרים של החברה בנפחים 1,200 ו-1,250 סמ"ק. רק שכאן מכלול התחושות מתעצם בגלל גודל המנוע. בכל זאת 1,800 סמ"ק עם צילינדרים ובוכנות ענקיים.

    ברול-און, ה-R18 מאיץ בהילוך שישי מ-1,000 סל"ד – שהם כ-50 קמ"ש – ועד סוף ההילוך. המהירות המקסימלית עומדת על כמעט 190 קמ"ש, והמומנט הרב יאפשר להגיע למהירות הזו גם בעלייה. אז כן, למנוע הזה יש שפע של מומנט זמין בכל הילוך, כשנתון ההספק פחות מעניין בהקשר של קרוזר ענק וכבד מפני שתאוצות מהירות או מהירויות גבוהות פחות משחקות פה תפקיד. כך או כך, מנוע הביג בוקסר הוא מנוע כבד ואיטי שמפמפם בסל"ד נמוך, וזה לחלוטין הקטע שלו והקטע של קרוזרים בכלל, רק שכאן זה מגיע בתצורת בוקסר – עם מכלול התחושות של ב.מ.וו.

    את רוב המבחן ביצענו על מצב Rock, שבו תגובת המנוע חדה יותר ומתקבל מלוא הכוח. מצב Roll יאפשר תגובות עדינות יותר, ומצב Rain גם יקצץ משמעותית מהמומנט כדי למנוע החלקה בכביש רטוב.

    מומנט של מכונית
    מומנט של מכונית

    אבל ביצועים הם פחות העניין בקרוזרים גדולים, אף על פי שה-R 18 B פונה היטב, יציב מאוד ובעל בלמים טובים, כך שמהבחינה הזו כל רוכב עם מעט ניסיון יוכל לתפעל את ה-R 18 בקלות יחסית – אחרי פרק הסתגלות לגודל ולמשקל. כדי להזיז את 400 הקילוגרמים אחורנית יש הילוך אחורי שמשתלב מכאנית ומופעל על-ידי המתנע החשמלי. כשהוא פועל הוא יעיל מאוד ומקל על יציאה מחניה, אולם לעתים הוא לא משתלב ולא פועל, ובב.מ.וו יצטרכו לטפל בבעיה ולשפר את המערכת כך שתשתלב תמיד.

    מה שיותר מעניין פה זה מכלול התחושות שהקרוזר הגדול מספק, וכאן אפשר לומר שבב.מ.וו עשו עבודה מעולה שקולעת בול למרכז הסגמנט. ה-R 18 B הוא כאמור אופנוע גדול, אפילו ענק, ולעומת ה-R 18 פיור שעליו רכבנו בעבר, כאן התחושה היא של המון אופנוע. זה בא לידי ביטוי בעיקר בחזית הענקית המחוברת לפרונט ונעה עם הכידון, שבמרכזה פנס LED ומעליו מיגון רוח, כשבצידה השני קוקפיט עצום הכולל 4 שעונים עגולים וכאמור מסך TFT גדול בגודל "10.25. כל האלמנט הזה, מעבר לנראות המסיבית ולמיגון הרוח המצוין, עושה את ההבדל הגדול בין הפיור לבין הבאגר, על אף שמדובר בפלטפורמה כמעט זהה, וגם נותן את כל מערכת הפינוקים שסגמנט הקרוזרים האמריקאים הגדולים מכתיב.

    להבדיל מהפיור, הבאגר דווקא כן מיועד לרכיבות ארוכות, והוא גם עושה את זה היטב. זה לא רק מיגון הרוח שמשאיר את הרוכב בתוך בועת ואקום שקטה כמעט לגמרי תוך כדי שהוא נהנה ממוזיקה היקפית. זה גם המושב הנוח, שכאן בבאגר מספק תמיכה מעולה לאורך זמן. המורכבת תקבל כאן מושב גדול ונוח יותר מאשר בפיור, אבל עדיין רחוק מכורסת המנהלים של הטרנסקונטיננטל. פרט לאלו יש גם את צמד הארגזים האחוריים, שמעבר להיותם אלמנט עיצובי חשוב בכל באגר, הם גם יעילים מאוד לנשיאת ציוד ואביזרים יום-יומיים, וננעלים בנעילה מרכזית נוחה.

    התנהגות טובה - למרות המשקל
    התנהגות טובה – למרות המשקל

    בכבישים ישרים ה-R18 ישייט בנינוחות, כשהסל"ד הנמוך ישרה אווירה נוחה. עד 150 קמ"ש זו מהירות השיוט הנינוחה שבה האופנוע נמצא עמוק בתוך אזור הנוחות שלו, וגם לרוכב המהירות הזו נמצאת באזור הנוחות. באופן כמעט מפתיע, נהנינו מאוד על ה-R18 גם בכבישים מפותלים, בעיקר בגלל היציבות הגבוהה, אבל אנחנו חייבים להודות שאנחנו מאוד נהנים לשייף רגליות בקלות על קרוזרים גדולים, וגם כאן ב-R 18 באגר מרווח ההטיה מוגבל, באופן טבעי, וקל מאוד להגיע לרגליות כמעט בכל הטיה. ואם כבר רגליות, אז היינו שמחים לקבל את הבאגר עם מדרסי שיוט רחוקים ונוחים שאיתם ניתן ליישר את הרגליים. זה קצת בעייתי בגלל הצילינדרים הענקיים של הבוקסר שנפרשים לצדדים, אבל גילינו שאפשר להניח את הרגליים על הצילינדרים עצמם – והן אפילו לא מתחממות.

    אם לסכם, אז בב.מ.וו עשו עבודה מעולה עם ה-R 18 באגר וה-R 18 טרנסקונטיננטל, ולדעתנו אלו הם הקרוזרים הגדולים הנכונים בסדרת ה-R 18. זאת משום שהם מביאים את חוויית הקרוזר האמריקאי במקסימום, והם עושים את זה בדרך הגרמנית של ב.מ.וו.

    פלטפורמת ה-R 18 בהחלט טובה – מכאנית, טכנולוגית ודינמית – והפלטפורמה הזאת מקבל כאן ערימות של אבזור שהופכות את צמד הבאגר והטרנסקונטיננטל למכונות יעילות ונוחות גם למרחקים ארוכים, כפי שצריך להיות בקרוזר אמריקאי גדול.

    תוספת החזית הקדמית לא רק מגנה מרוח ומשאירה את הרוכב בבועת ואקום, אלא גם מכניסה את הרוכב ל'מוד' של אופנוע גדול, שלא לומר עצום, וגם מאפשרת להטמיע את מערכת השעונים והמסך המתקדמים, ואת מערכת המדיה המודרנית עם הרמקולים האיכותיים של מרשל. כל אלו מספקים חוויית רכיבה מיוחדת של לרכוב אל השקיעה עם Born to be wild. גם המושב הנוח וצמד הארגזים מאחור של קונספט הבאגר משמעותית נוחים יותר ויעילים לרכיבות קרוז ארוכות.

    חוויית רכיבה אמריקאית - בגרמנית
    חוויית רכיבה אמריקאית – בגרמנית

    מעבר לכך, צמד ה-R 18 באגר וטרנסקונטיננטל הם גם כלים טכנולוגיים מאוד, כשכאמור הם מהראשונים שמקבלים את מערכת בקרת השיוט האקטיבית של בוש, הכוללת רדאר קדמי. המערכת הזאת מאפשרת לרוכב לקבוע מהירות מקסימלית, כשהיא תשמור מרחק מהרכב שמלפנים לפי 3 מצבי מרחק, תוריד מהירות כשצריך, ובמידת הצורך גם תפעיל את הבלמים, אפילו בעוצמה גבוהה, כדי לשמור מרחק. זאת כמובן בנוסף לשאר המערכות המתקדמות שמוטמעות בצמד הכלים.

    עם מנוע עצום השופע מומנט ומביא את החספוס המיוחד של הבוקסרים של ב.מ.וו, עם שלדה ומכלולים שמאפשרים יכולות דינמיות מאוזנות, עם המון טכנולוגיה מודרנית, ועם שני קונספטים חשובים מאוד לשוק האמריקאי – באגר וגרנד-טורר קלאסי – בב.מ.וו מכוונים ישירות לשוק האמריקאי, והם כאמור עושים עבודה מעולה עם אופנועים איכותיים ושלמים. ומעבר לאופנועים המצוינים עצמם, גם קטלוג החלקים, השיפורים, האבזור, הציוד והביגוד מכוון בדיוק לסגמנט ומאפשר לרוכשי האופנוע להתאים את האופנוע לצרכיהם או לגחמותיהם, וכן להתלבש בהתאם, כשהמגוון אדיר וכמעט אין-סופי. כמו שכתבנו – בב.מ.וו למדו היטב את הקטע.

    המחירים, כצפוי, תואמים את הקונספט, את כמות המתכות ואת הטכנולוגיה. מחירו של ה-R 18 B בגרסת הבסיס עומד על 230 אלף ש"ח, ואילו הטרנסקונטיננטל עולה 235 אלף ש"ח. גרסת First Edition, המוסיפה צביעה מיוחדת לכל אחד מהדגמים, תעלה 15 אלף ש"ח נוספים, מה שמביא את המספרים ל-245 ו-250 אלף ש"ח בהתאמה. המון כסף אבסולוטית, אבל המחירים הללו מקבילים למחירים של המתחרים בסגמנט, וכאן מקבלים לא פחות טכנולוגיה, ואפילו קצת יותר עם הרדאר הקדמי ועם מערכת השמע האיכותית.

    הסיכום הטוב ביותר הוא שלגמרי היינו רוצים לעשות מסע אופנועים בארה"ב על-גבי הב.מ.וו R 18 B. ב.מ.וו עושים אמריקה, והם עושים את זה טוב כמו שהם יודעים – בגרמנית.

    מפרט טכני

    [table id=179 /]

  • ב.מ.וו: בדרך לשיא מכירות בשנת 2021

    ב.מ.וו: בדרך לשיא מכירות בשנת 2021

    בב.מ.וו מציגים מספרי מכירות מוצלחים ברבע השלישי של השנה, ומביעים אופטימיות לשיא מכירות של כל הזמנים בדגמי הקטנועים והאופנועים.

    שנת 2020 הייתה שנה מורכבת, עם משבר הקורונה העולמי ועם ירידה במכירות לכלל היצרנים, כאשר בב.מ.וו רשמו ירידה של 18% במכירות במחצית השנה הראשונה. לקראת סוף השנה נרשמה התאוששות והמספרים השתפרו, אך נשארו שליליים עם ירידה של כ-3.6% במכירות 2020 וסך של 169,272 אופנועים וקטנועים, וזאת לאחר 9 שנים רצופות של עלייה בנתוני המכירות. במחצית השנה הנוכחית המספרים כבר התייצבו והבווארים דיווחו על 107,610 קטנועים ואופנועים שנמסרו במחצית הראשונה של השנה (236 כלים בישראל), לעומת 76,707 יחידות ב-2020 ו-93,545 ב-2019.

    כעת חושפים בב.מ.וו את הנתונים לרבע השלישי של השנה, כאשר המספרים ממשיכים לעלות עם 156,609 כלים שנמסרו עד כה. בקצב הזה יעברו את השיא שנקבע ב-2019 עם 175,162 כלים. בישראל נמכרו עד כה השנה 362 כלים – נתון שמהווה גידול לעומת שנה קודמת בה נמכרו בתקופה המקבילה 284 כלים.

    קבוצת האם של ב.מ.וו נמצאת בעלייה כוללת עם סך של 1,932,236 רכבי ב.מ.וו, מיני ורולס-רויס שנמכרו במחצית הראשונה (עלייה של 17.9% לעומת 2020), וכוללים גידול מרשים של 121.4% בתחום הרכבים החשמליים עם סך של 59,688 כלים. כאמור, חטיבת האופנועים (BMW Motorrad) היא חלק ממגמת העלייה הכללית.

    ב.מ.וו R 18 B 'באגר' - בקרוב מבחן דרכים כאן בפול גז
    ב.מ.וו R 18 B 'באגר' – בקרוב מבחן דרכים כאן בפול גז
  • חדשים בארץ: ב.מ.וו R 18 B וטרנסקונטיננטל

    חדשים בארץ: ב.מ.וו R 18 B וטרנסקונטיננטל

    דלק מוטורס, יבואנית ב.מ.וו לישראל, מודיעה על הגעתם ארצה של ה-R 18 B 'באגר' ושל ה-R 18 טרנסקונטיננטל – צמד הקרוזרים הגדולים מסדרת ה-R 18 שהוצגו לאחרונה, עם מנוע הביג בוקסר בנפח 1,800 סמ"ק.

    ה-R 18 B באגר וה-R 18 טרנסקונטיננטל הם צמד גרסאות חדשות המבוססות על פלטפורמת ה-R 18 של ב.מ.וו. בבסיסו נמצא מנוע הביג בוקסר החדש של ב.מ.וו בנפח 1,802 סמ"ק שהוצג לפני קצת יותר משנה. צמד הצילינדרים הענקיים בתצורת בוקסר מציעים קוטר קדח עצום של 107.1 מ"מ ומהלך בוכנות של 100 מ"מ ארוכים, כשיש 4 שסתומים עיליים לצילינדר וגל זיזים תחתון שמעביר את התנועה לנדנדים ולשסתומים דרך מוטות דחיף. הביג בוקסר מקורר אוויר-שמן, והוא מגיע עם מערכת הזרקת דלק עם מצערות חשמליות ו-3 מצבי ניהול מנוע. ההספק המקסימלי לא גבוה ועומד על 91 כ"ס ב-4,750 סל"ד, אולם המומנט עצום ומציע בשיא 16.1 קג"מ ב-3,000 סל"ד, אבל כבר מ-2,000 סל"ד יש יותר מ-15 קג"מ (!). יש שישה הילוכים וקלאץ' רב-דיסקי יבש ומחליק בתפעול הידראולי, ויש גם הילוך אחורי שמופעל על-ידי שילוב המתנע החשמלי. המנוע הענק הזה שוקל קצת יותר מ-110 ק"ג.

    ב.מ.וו R 18 טרנסקונטיננטל
    ב.מ.וו R 18 טרנסקונטיננטל

    צמד הגרסאות יושבות כאמור על פלטפורמת ה-R 18, אולם הן לוקחות את הפלטפורמה לכיוון באגר – קרוזר אמריקאי גדול עם חזית עצומה וזנב נמוך. הטרנסקונטיננטל מיועד לתיור ארוך טווח לצמד רוכבים – בסגנון אמריקאי. הוא מציע חזית ענקית עם משקף רוח גבוה ועם מסיטי רוח נוספים, סביבת רוכב ענקית הכוללת 4 שעונים אנאלוגיים ומסך TFT צבעוני בגודל "10.25, תאורה ראשית כפולה, מערכת שמע אינטגרלית הכוללת רמקולים של מרשל הבריטית – שניים קדמיים מקוריים, שניים אחוריים, ושני סאב וופרים אופציונליים. יש גם מגני מנוע היקפיים, צמד מזוודות צד בנפח 27 ליטרים כל אחת, ארגז אחורי בנפח 48 ליטרים הכולל משענת לנוסע, חימום למושבים המרווחים, נגיעות של צבע כרום ומנוע בצבע כסף מטאלי. מיכל הדלק בנפח 24 ליטרים.

    ה-R 18 B באגר מיועד פחות לרכיבה בזוג ויותר לרכיבת סולו, אם כי גם הוא בקונספט של באגר אמריקאי. המשקף ב-R 18 B נמוך יותר, והוא מגיע עם מושב צר יותר, ללא ארגז אחורי, ועם מנוע בצבע שחור מטאלי. גם הוא מגיע עם מסך TFT בגודל "10.25 ועם רמקולים של מרשל.

    צמד הכלים מגיעים עם מצערות חשמליות ו-3 מצבי רכיבה, מערכת ABS להטיה, בקרת אחיזה ובקרת החלקה, בקרת שיוט אקטיבית הכוללת רדאר קדמי, בקרת זינוק בעלייה, מפתח קרבה KEYLESS, ידיות מחוממות, פנסים מתכווננים לפנייה, ועוד מגוון רחב מאוד של תוספות שמאפשרות לקסטם את האופנוע כרצונו של הלקוח.

    המחירים:

    • ב.מ.וו R 18 B פיור: 230,000 ש"ח
    • ב.מ.וו R 18 B First Edition: מחיר 245,000 ש"ח
    • ב.מ.וו R 18 טרנסקונטיננטל: 235,000 ש"ח
    • ב.מ.וו R 18 טרנסקונטיננטל First Edition: מחיר 250,000 ש"ח
    ב.מ.וו R 18 B 'באגר' - בקרוב מבחן דרכים כאן בפול גז
    ב.מ.וו R 18 B 'באגר' – בקרוב מבחן דרכים כאן בפול גז
  • ה-AMBY: העתיד האורבני על-פי ב.מ.וו

    ה-AMBY: העתיד האורבני על-פי ב.מ.וו

    חזון ה-AMBY של ב.מ.וו מדבר על התאמת התנועה לסביבה אורבנית. לפי תפיסתם מדובר על אופני-על חשמליים, עם יכולות של אופנועים.

    צמד דגמי ה-AMBY של ב.מ.וו
    צמד דגמי ה-AMBY של ב.מ.וו

    ב.מ.וו הציגו שני דגמי קונספט עתידיים המשקפים את תפיסת הגרמנים על התנועה האורבנית העתידית, ומצוינים בשילוב האותיות AMBY, אשר מייצגים 'Adaptive Mobility' – התאמה תנועתית. הדגם הראשון נקרא i Vision AMBY והוא למעשה אופניים רגילים עם סיוע של מנוע חשמלי.

    ניתן לקבע שלוש מהירויות: עד 25 קמ"ש במסלולי אופניים, עד 45 קמ"ש בכבישי העיר ועד 60 קמ"ש במסלולים רחבים יותר. הרוכב נדרש לדווש על מנת לסייע לתנועה, כאשר יש ידית להפעלת המנוע החשמלי המסייע. השטח הריק בין הפרופיל העליון של השלדה לאמצעי מאפשר אחסון של תיק או מחשב נייד, ויש מתאם מקורי לסלולר על הכידון. הסוללה מאפשרת טווח רכיבה של 300-75 ק"מ בהתאם למהירות הרכיבה שנקבעה, כאשר זמן הטעינה עומד על 3 שעות. יש זרוע אחורית חד-צידית, מתלים עם מהלך של 120 מ"מ, חישוקי 27.5″, פנסי LED ואופציה להפעיל את הכלי רק דרך הסלולר. המשקל עומד על 30 ק"ג, כאשר ברשימת האופציות יש ABS (!), רדאר לאיתור רכבים מתקרבים וניטור לחץ אוויר בצמיגים.

    ב.מ.וו i-Vision AMBY
    ב.מ.וו i-Vision AMBY

    הדגם השני נקרא Vision AMBY, והוא נראה יותר כמו אופניים חשמליים (ללא דוושות). גם כאן ניתן לקבע דרך אפליקציה שלוש מהירויות רכיבה – עד 25 קמ"ש במסלולי אופניים, עד 45 קמ"ש בכבישי העיר ועד ל-60 קמ"ש במסלולים רחבים יותר. מידות החישוקים הם 26″ מלפנים ו-24″ מאחור, והם אמורים לתת מענה גם בשבילים, כאשר גובה מושב של 830 מ"מ מספק גם מרווח גחון לכך. המשקל עומד על 65 ק"ג, כאשר בב.מ.וו מציינים שהנתון מהווה יתרון על אופנועים, וטווח הרכיבה מוגדר על 110 ק"מ בממוצע. רשימת האופציות גם כאן נמצא ABS, רדאר לאיתור רכבים מתקרבים וניטור לחץ אוויר בצמיגים.

    שני הדגמים מוגדרים כקונספט בשלב זה, ויחד עם ה-CE 04 וה-CE 02 החדשים מראים כיוון ברור אליו צועדת ב.מ.וו בשנים הקרובות, עם הקצאת משאבים רבים למציאת פתרונות אורבניים חשמליים אישיים.

    ב.מ.וו Vision AMBY
    ב.מ.וו Vision AMBY

    BMW-AMBY-004

    BMW-AMBY-002

    BMW-AMBY-009

    BMW-AMBY-007

    BMW-AMBY-006

     

    BMW-AMBY-013

    BMW-AMBY-005

  • ב.מ.וו מציגה את הקונספט CE 02 החשמלי

    ב.מ.וו מציגה את הקונספט CE 02 החשמלי

    הב.מ.וו CE 02 קונספט הוא כלי חשמלי שמראה את הכיוון לדגם חשמלי נוסף של ב.מ.וו, והפעם לבני 16.

    לפני חודשיים חשפו בב.מ.וו את ה-CE 04 – קטנוע אורבני חשמלי חדש עם טווח רכיבה מוצהר של 130 ק"מ, הרבה אלקטרוניקה ועיצוב עתידני ושנוי במחלוקת. ה-CE 04 הוא הדגם הסדרתי של קונספט דו-גלגלי שהוצג שנה לפני כן  בשם Definition CE 04 (הגדרה או חדות). הוא הוצג כחלק מקו הדגמים החשמליים העתידיים בקמפיין NextGen. הרעיון מאחורי הדגם נועד למשוך לקוחות אורבניים שרוכבים על בסיס יומי למרחקים קצרים, ומחפשים כלי מרשים ואופנתי. כאמור, הדגם הסדרתי נקרא רק CE 04, והוא הנציג הראשון בסדרת דגמים חשמליים של ב.מ.וו שיופיעו בשנים הקרובות.

    ה-CE 02 קונספט הוא הדגם השני ונראה כאופניים חשמליים משודרגים. נתון ההספק עומד על 15 כוחות סוס (11 קילווואט – המקסימום לרישיון A2), עם מהירות מרבית של כ-90 קמ"ש וטווח סוללה של 90 ק"מ בעיר. המשקל עומד על 120 ק"ג. בשלב זה ב.מ.וו לא חושפים את נתוני הסוללה.

    דגם הקונספט דוגל במינימליזם, וזה כולל זרוע אחורית חד-צידית ולוח שעונים דיגיטלי פשוט – ללא TFT וללא קישוריות לסלולר. דגם הקונספט מגיע ללא אביזרים הנדרשים לרישוי – מאותתים, מראות, לוחית זיהוי או מגני בוץ. אלו יתווספו כמובן בגרסת הייצור, אם תהיה כזאת. אם נלך על הכיוון של ה-CE 04, אזי יש סיכוי שה-CE 02 אכן יגיע לייצור.

    BMW-CE-02-Concept-004

    BMW-CE-02-Concept-003

    BMW-CE-02-Concept-002

  • נוסטלגיה: ב.מ.וו HP2 – ביצועים גבוהים

    נוסטלגיה: ב.מ.וו HP2 – ביצועים גבוהים

    הב.מ.וו HP2 אנדורו היה הניסיון של ב.מ.וו לצאת מהקופסה ולהציג משהו חדש ושונה. במבט לאחור, הניסיון לא היה כזה מוצלח.

    השבוע פרסמנו תמונות ריגול של שני דגמי R nine T חדשים, שלוקחים את הסקרמבלר והאורבן G/S ומוסיפים להם יכולות שטח עם חישוק שפיצים בקוטר 21″ מלפנים וצמיגי קארו 3 של מצלר, שמגיעים על דגמי אדוונצ'ר-שטח עם מתלים ארוכי מהלך, כשההשערה היא מהלכי גלגל של 220 מ"מ בסקרמבלר ו-250 מ"מ באורבן. בנוסף, יש סעפת מוגבהת ומיכל השמן מוגן יותר, זאת על-מנת לאפשר הגנה מיטבית מפני אבנים מעופפות ברכיבת שבילים. יש רגליות רוכב משוננות לאחיזת מגף טובה יותר, כנף קדמית גבוהה ורגליות מורכב פריקות.

    ב.מ.וו HP2 אנדורו
    ב.מ.וו HP2 אנדורו

    זה החזיר אותנו 16 שנה אחורה לדגם ה-HP2 אנדורו, שניסה להביא טעימה לשטח מאופנוע שפחות מותאם לכך. קודם כל, ראשי התיבות HP ייצגו את מחלקת ה-'High Performance' – ביצועים גבוהים, ו-2 ייצג את שתי הצילינדרים של מנוע הבוקסר. במשפחת ה-HP היו שלושה דגמים: האנדורו, עליו נתמקד היום ושהוצג בשנת 2005, ה-HP2 מגהמוטו שהוצג ב-2007 והיה מעין היפרמוטארד מגניב, וה-HP2 ספורט, שהוצג בשנת 2008 והתבסס על ה-R1200S. למעט האחרון, שני הדגמים הראשונים לא נחלו הצלחה מסחרית. כוונת המשורר של ב.מ.וו הייתה להקים מעין חטיבת M (חטיבת הביצועים של רכבי ב.מ.וו) ולייצר דגמים במהדורות מוגבלות.

    המנוע הגיע מה-R1200GS שהוצג שנה לפני כן. מדובר על מנוע בוקסר מקורר אוויר ושמן בנפח 1,170 סמ"ק (קירור הנוזל הופיע בדגם של שנת 2013). ההספק כאן היה גבוה ב-5 כ"ס ועמד על 105 כוחות סוס ב-7,000 סל"ד, עם נתון מומנט דומה של 10.3 קג"מ ב-5,500 סל"ד. המנוע הגיע ללא גל האיזון שהיה ב-GS, ולכן היו ויברציות מוחשיות ברכיבה. ההינע הסופי התבצע על-ידי גל-הינע. בקצה הקדמי של שלדת הצינורות הורכב מזלג קדמי הפוך של WP בקוטר 45 מ"מ ומהלך של 270 מ"מ במקום הטלהלבר המסורתי של ה-GS, ומאחור היה בולם – לא קונבנציונאלי בזמנו – עם שיכוך אוויר ומהלך של 250 מ"מ. גובה המושב עמד על 920 מ"מ גבוהים. המשקל היבש עמד על 175 ק"ג – משמעותית קל יותר מה-R1200GS עליו הוא מבוסס. את המסה הזאת בלם דיסק קדמי יחיד בקוטר 304 מ"מ, ללא מערכת ABS.

    הב.מ.וו HP2 אנדורו לא התקבל בהתלהבות בעולם בוחני האופנועים. מחיר יקר לעומת ה-GS, יכולת שטח שהוגבלה בגלל הצילינדרים הבולטים של המנוע, ובעיקר המשקל הרטוב שחצה את קו 200 הק"ג. בכביש לא היו לא יתרונות כלל, אלא להיפך – עם המושב השטוח, הכנף הגבוהה והחוסר במיגון רוח, הוא לא היה נוח לטווחים ארוכים. באירופה ב.מ.וו הציעו גם חישוקי 17″ ללא עלות לרוכשים. בשורה התחתונה, הוא לא היה יותר טוב מלמשל הק.ט.מ 990 אדוונצ'ר באף פרמטר, למעט הייחודיות, אבל המושג הזה עזר לכלי למצוא לקוחות נאמנים ולשמר את ערכו במידה מסוימת. ב.מ.וו נתנו לו 3 שנים, אך הפסיקו את ייצורו ב-2008. מספר אקזמפלרים הגיעו לישראל ונוסעים עד היום בכלי שהוא שונה וטוב בפני עצמו.

    BMW HP2 Enduro (2)