פטנט של ב.מ.וו, שנחשף לאחרונה, מראה עוד שלב באבולוציית פיתוח האופנועים החשמליים – טעינה אלחוטית דרך רגלית הצד.
בב.מ.וו מאמינים שההשקעה העכשווית של החברה בנושא החשמלי ייתן לה עמדת יתרון גדולה כשהנושא יהפוך לברירת המחדל העיקרית או היחידה. אחרי חצי מיליון כלים חשמליים שב.מ.וו מכרה עד כה, היא שואפת לכך שמחצית ממכירותיה – בחטיבות המכוניות והדו-גלגלי – יהיו על-בסיס חשמל עד סוף העשור. הפטנט האחרון שנחשף מראה שלב נוסף בפיתוח.
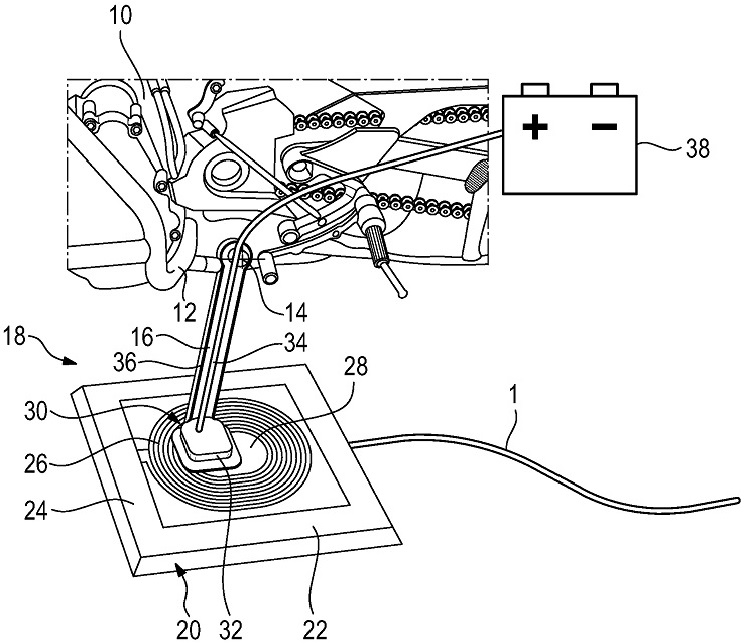
נהג או רוכב שמבקש להטעין את הסוללה, מחבר כבל שיוצא מעמדת טעינה לרכבו או אופנועו. הרעיון המוצג, בדומה למשטחי טעינה לטלפונים ניידים, מראה את דרך ההטענה האל-חוטית, בה הרוכב מניח את רגלית הצד שלו על משטח טעינה ייחודי ובכך מתבצעת ההטענה לסוללת האופנוע.
אין כרגע שום אינדיקציה לגבי טיב המטען מבחינת מהירות הטעינה. כיום אנו מכירים את שלב 1 הסטנדרטי שלוקח שעות רבות עד לטעינה מלאה ומיועד לטעינת לילה, ושלב 2 בו יש מטען מהיר שיכול למלא את הסוללה בשעה-שעתיים של טעינה, כשלרוב מטען מהיר מגיע בתוספת מחיר נכבדת לעלות האופנוע. נמשיך לעקוב.


כתיבת תגובה